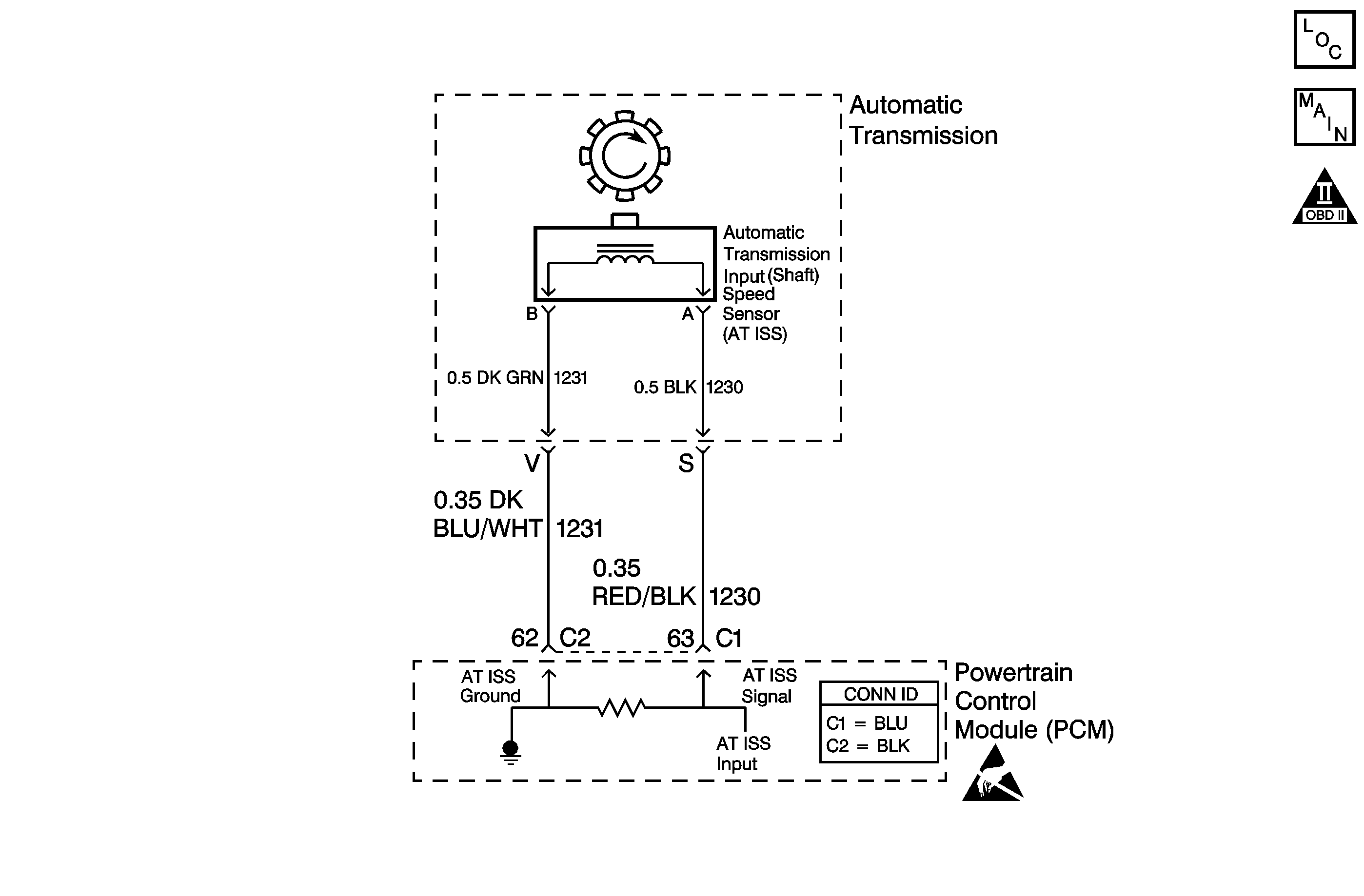
The automatic transmission input (shaft) speed sensor (AT ISS) provides transmission input speed to the PCM. The AT ISS is a permanent magnet (PM) generator. The sensor mounts into the transmission case and maintains a slight air gap between the sensor and the drive sprocket. The PM generator produces an AC voltage as the drive sprocket rotor teeth pass through the sensor's magnetic field. The AC voltage level increases as the turbine shaft speed increases. The PCM converts the AC voltage into a digital signal. The PCM determines actual turbine speed using the digital signal. The PCM uses the input speed to calculate torque converter slip speed, and gear ratios.
When the PCM detects an unreasonably large change in the input speed, in a very short period of time, then DTC P0716 sets. DTC P0716 is a type B DTC.
| • | No TP DTCs P0121, P0122, or P0123. |
| • | No VSS DTCs P0502 or P0503. |
| • | No AT ISS DTC P0717. |
| • | No 1-2 SS valve DTCs P0751 or P0753. |
| • | No 2-3 SS valve DTC P0758. |
| • | The engine is running. |
| • | The TP angle is greater than 15%. |
| • | The vehicle speed is greater than 8 km/h (5 mph). |
The input speed changes by greater than 1300 RPM in 0.8 seconds.
| • | The PCM illuminates the malfunction indicator lamp (MIL) during the second consecutive trip in which the Conditions for Setting the DTC are met. |
| • | The PCM commands maximum line pressure. |
| • | The PCM freezes shift adapts from being updated. |
| • | The PCM records the operating conditions when the Conditions for Setting the DTC are met. The PCM stores this information as Freeze Frame and Failure Records. |
| • | The PCM stores DTC P0716 in PCM history during the second consecutive trip in which the Conditions for Setting the DTC are met. |
| • | The PCM turns OFF the MIL during the third consecutive trip in which the diagnostic test runs and passes. |
| • | A scan tool can clear the MIL/DTC. |
| • | The PCM clears the DTC from PCM history if the vehicle completes 40 warm-up cycles without an emission-related diagnostic fault occurring. |
| • | The PCM cancels the DTC default actions when the fault no longer exists and/or the ignition switch is OFF long enough in order to power down the PCM. |
| • | Inspect the connectors at the PCM, the AT ISS and all other circuit connecting points for an intermittent condition. Refer to Testing for Intermittent Conditions and Poor Connections in Wiring Systems. |
| • | Inspect the circuit wiring for an intermittent condition. Refer to Testing for Electrical Intermittents in Wiring Systems. |
| • | If the engine is running and the vehicle is moving above 12 km/h (7 mph), then the input speed must be non-zero. |
| • | Ensure the wiring harness is not stretched too tightly or other components are pressing on the connector body. Also, inspect for proper clearance to any other components and wiring. Refer to Testing for Intermittent Conditions and Poor Connections in Wiring Systems. |
The numbers below refer to the step numbers on the diagnostic table.
This step tests the AT ISS for correct resistance.
This step verifies the wiring from the AT inline 20-way connector to the PCM, and tests the ability of the AT ISS to produce an AC current.
Step | Action | Value(s) | Yes | No | ||||||
|---|---|---|---|---|---|---|---|---|---|---|
1 | Did you perform the Powertrain Diagnostic System Check? | -- | Go to Powertrain On Board Diagnostic (OBD) System Check (2.2L) or Powertrain On Board Diagnostic (OBD) System Check (2.4L) | |||||||
2 |
Important: Before clearing the DTC, use the Scan Tool in order to record the Freeze Frame and Failure Records. Using the Clear Info function erases the Freeze Frame and Failure Records from the PCM. Is the transmission input speed greater than the specified value? | 500 RPM | Go to Diagnostic Aids | |||||||
Refer to Automatic Transmission Inline Harness Connector End View . Is the resistance within the specified range? | 615-835 ohms | |||||||||
4 | Test the signal circuit (CKT 1230) of the AT ISS for an open or short to ground between the AT inline 20-way connector and the AT ISS. Refer to Circuit Testing and Wiring Repairs in Wiring Systems. Did you find a condition? | -- | ||||||||
5 | Test the ground circuit (CKT 1231) of the AT ISS for an open between the AT inline 20-way connector and the AT ISS. Refer to Circuit Testing in Wiring Systems. Did you find the condition? | -- | ||||||||
Is the AC voltage greater than the specified value? | 0.150 mV (50 Hz) | |||||||||
7 | Test the signal circuit (CKT 1230) of the AT ISS for an open or short to ground between the PCM connector C1 and the AT inline 20-way connector. Refer to Circuit Testing and Wiring Repairs in Wiring Systems. Did you find and correct a condition? | -- | ||||||||
8 | Test the ground circuit (CKT 1231) of the AT ISS for an open between the PCM connector C2 and the AT inline 20-way connector. Refer to Circuit Testing and Wiring Repairs in Wiring Systems. Did you find and correct the condition? | -- | -- | |||||||
9 | Replace the automatic transmission wiring harness. Refer to Transmission Overhaul in the 4T40-E/4T45-E section of the Transmission Unit Repair Manual. Did you complete the replacement? | -- | -- | |||||||
10 | Replace the AT ISS. Refer to Transmission Overhaul in the 4T40-E/4T45-E section of the Transmission Unit Repair Manual. Did you complete the replacement? | -- | -- | |||||||
11 | Replace the PCM. Refer to Powertrain Control Module Replacement/Programming (2.2L) or Powertrain Control Module Replacement/Programming (2.4L) in Engine Controls. Did you complete the replacement? | -- | -- | |||||||
12 | Perform the following procedure in order to verify the repair:
Has the test run and passed? | -- | System OK |