GM Service Manual Online
For 1990-2009 cars only

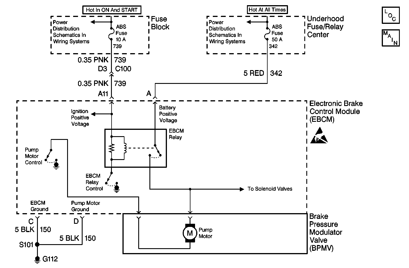
Object Number: 524886  Size: MF
ABS Components
Antilock Brake System Schematics
Handling ESD Sensitive Parts Notice
Power Distribution Schematics
Power Distribution Schematics

Circuit Description

The EBCM monitors the ignition positive voltage level available for ABS/ETS operation. Ignition positive voltage is monitored instead of switched battery voltage because the solenoid valves and pump motor operation may cause the voltage to drop significantly in the switched battery voltage circuit. If the ignition positive voltage is too low, full performance of the ABS/ETS is not guaranteed.

Conditions for Running the DTC

    • The vehicle speed is greater than 8 km/h (5 mph).
    • The EBCM relay is commanded ON.

Conditions for Setting the DTC

One of the following conditions exists for 0.72 seconds:

    • During initialization or when the system is not in ABS/ETS, the ignition positive voltage is less than 10.5 volts.
    • When the system is in ABS/ETS, the ignition positive voltage is less than 9.3 volts.

Action Taken When the DTC Sets

The following actions occur:

    • The EBCM disables the ABS for the duration of the ignition cycle.
    • The ABS warning indicator turns ON.
    • A malfunction DTC is stored.

Conditions for Clearing the DTC

    • The condition for setting the DTC is no longer present and the scan tool Clear DTCs function is used.
    • The EBCM automatically clears the history DTC when a current DTC is not detected in 100 consecutive drive cycles.

Diagnostic Aids

    • Test the charging system. Refer to Diagnostic System Check - Charging System in Engine Electrical.
    • The following are possible causes of this DTC:
       - A charging system malfunction
       - An excessive battery draw
       - A weak battery
       - A faulty system ground
    • Thoroughly inspect the wiring and the connectors. An incomplete inspection of the wiring and the connectors may result in a misdiagnosis, causing a part replacement with the reappearance of the malfunction.
    • If an intermittent malfunction exists, refer to Testing for Intermittent Conditions and Poor Connections in Wiring Systems.

Test Description

The numbers below refer to the step numbers on the diagnostic table.

  1. This step uses the scan tool to check the ignition positive voltage to the EBCM.

  2. This step checks the battery positive voltage circuit.

  3. This step checks the module ground circuit.

Step

Action

Value(s)

Yes

No

1

Did you perform the ABS Diagnostic System Check?

--

Go to Step 2

Go to Diagnostic System Check - ABS

2

  1. Install a scan tool.
  2. Turn ON the ignition, with the engine OFF.
  3. With a scan tool, observe the Ignition Voltage parameter in the ABS data list.

Does the scan tool indicate the ignition voltage is within the specified range?

Battery Voltage

Go to Diagnostic Aids

Go to Step 3

3

  1. Turn OFF the ignition.
  2. Disconnect the EBCM harness connector.
  3. Install the J 39700 universal pinout box using the J 39700-99 cable adapter to the EBCM harness connector only.
  4. Turn ON the ignition, with the engine OFF.
  5. Measure the voltage at the J 39700 universal pinout box between the ignition positive voltage circuit of the EBCM and a good ground.

Does the voltage measure within the specified range?

Battery Voltage

Go to Step 4

Go to Step 5

4

Measure the voltage at the J 39700 universal pinout box between the ignition positive voltage circuit and the module ground circuit of the EBCM.

Does the voltage measure within the specified range?

Battery Voltage

Go to Step 9

Go to Step 6

5

Test the ignition positive voltage circuit of the EBCM for a high resistance, an open, or a short. Refer to Circuit Testing and Wiring Repairs in Wiring Systems.

Did you find and correct the condition?

--

Go to Step 11

Go to Step 8

6

Test the module ground circuit of the EBCM for a high resistance or an open. Refer to Circuit Testing and Wiring Repairs in Wiring Systems.

Did you find and correct the condition?

--

Go to Step 11

Go to Step 7

7

Inspect for poor connections or corrosion at the ground G112. Refer to Testing for Intermittent Conditions and Poor Connections and Connector Repairs in Wiring Systems.

Did you find and correct the condition?

--

Go to Step 11

Go to Step 8

8

Inspect for poor connections at the battery terminals. Refer to Testing for Intermittent Conditions and Poor Connections and Connector Repairs in Wiring Systems.

Did you find and correct the condition?

--

Go to Step 11

Go to Step 9

9

Inspect for poor connections at the harness connector of the EBCM. Refer to Testing for Intermittent Conditions and Poor Connections and Connector Repairs in Wiring Systems.

Did you find and correct the condition?

--

Go to Step 11

Go to Step 10

10

Replace the EBCM. Refer to Electronic Brake Control Module Replacement .

Did you complete the replacement?

--

Go to Step 11

--

11

  1. Clear the DTCs using the scan tool.
  2. Operate the vehicle within the Conditions for Running the DTC as specified in the supporting text.

Does the DTC reset?

--

Go to Step 2

System OK