GM Service Manual Online
For 1990-2009 cars only
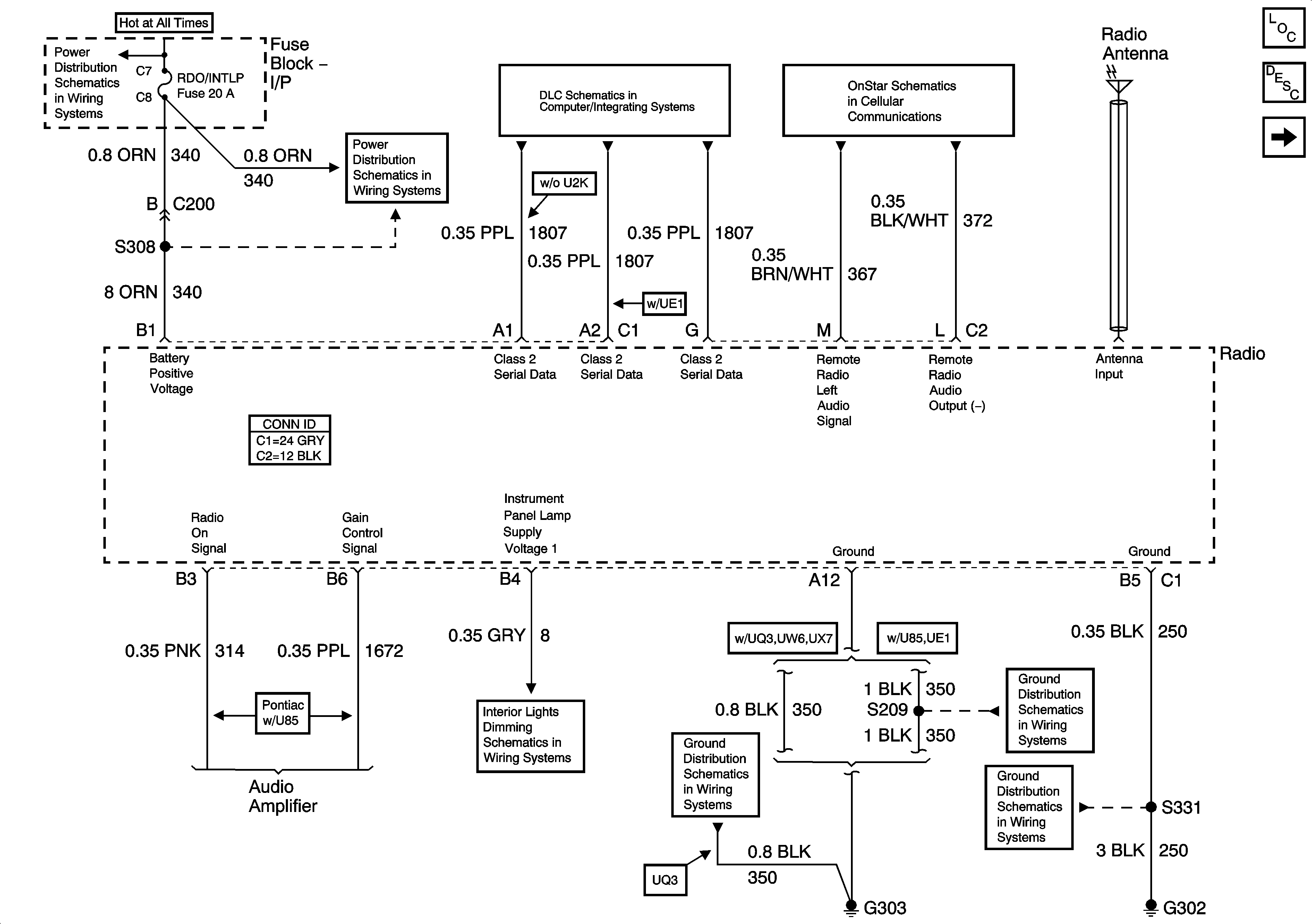
Figure 1:

Power, Ground and DLC


Object Number: 1400623  Size: FS
Figure 2:

U79, UX7, UW6


Object Number: 878562  Size: FS
Figure 3:

Amplifier Power, Ground and Outputs (UQ3)


Object Number: 878565  Size: FS
Figure 4:

Speakers - Rear (UQ3)


Object Number: 878568  Size: FS
Figure 5:

Amplifier Power, Ground and Outputs (U85)


Object Number: 878569  Size: FS
Figure 6:

Speakers - Front (U85)


Object Number: 878570  Size: FS
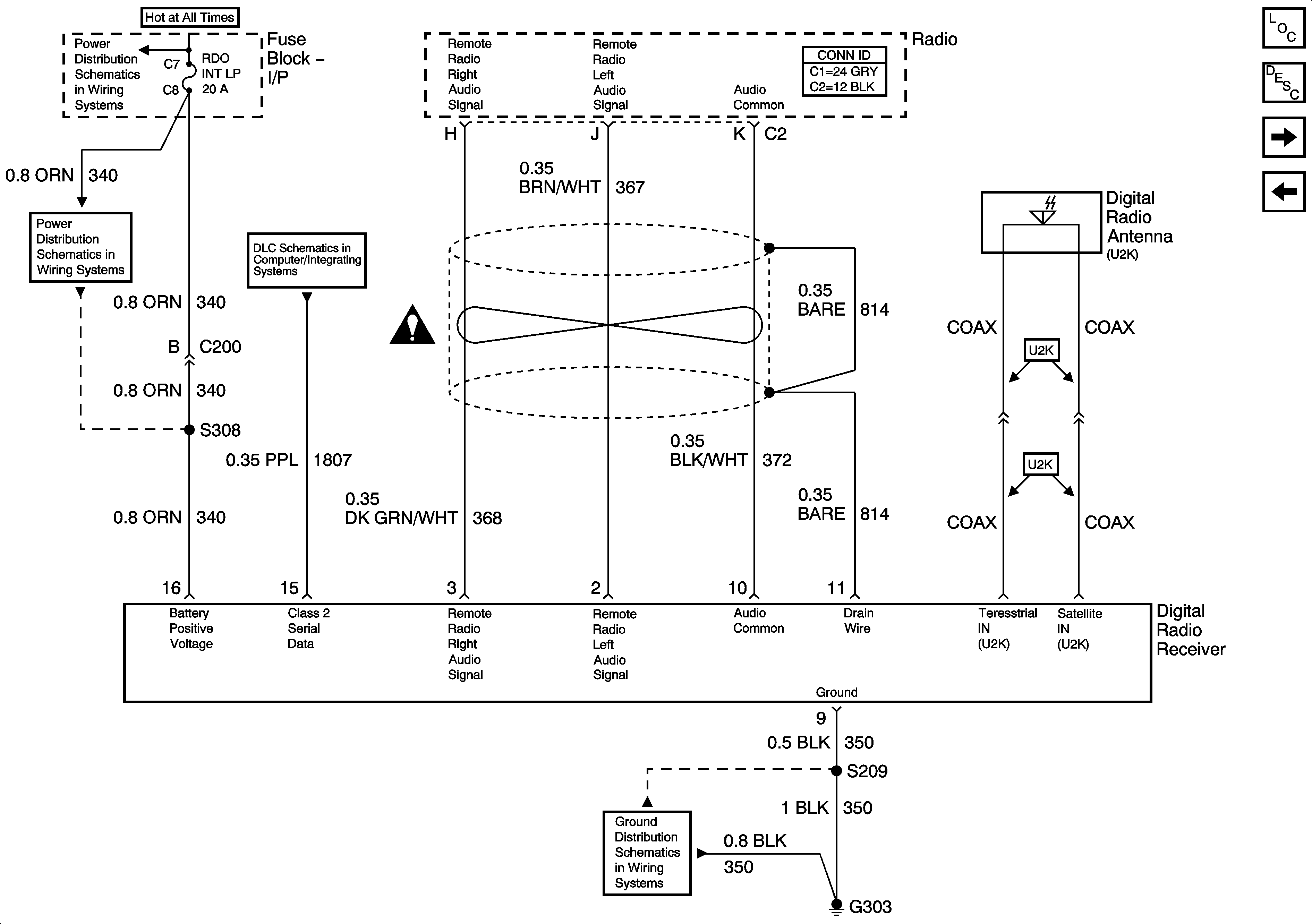
Figure 7:

Digital Radio Receiver (U2K)


Object Number: 1400624  Size: FS
Figure 8:

Speakers - Rear (U85)


Object Number: 878571  Size: FS