GM Service Manual Online
For 1990-2009 cars only
Makes
🢒
Chevrolet
🢒
2005
🢒
Cavalier
🢒
Accessories
🢒
Cellular Communication
🢒 OnStar Schematics
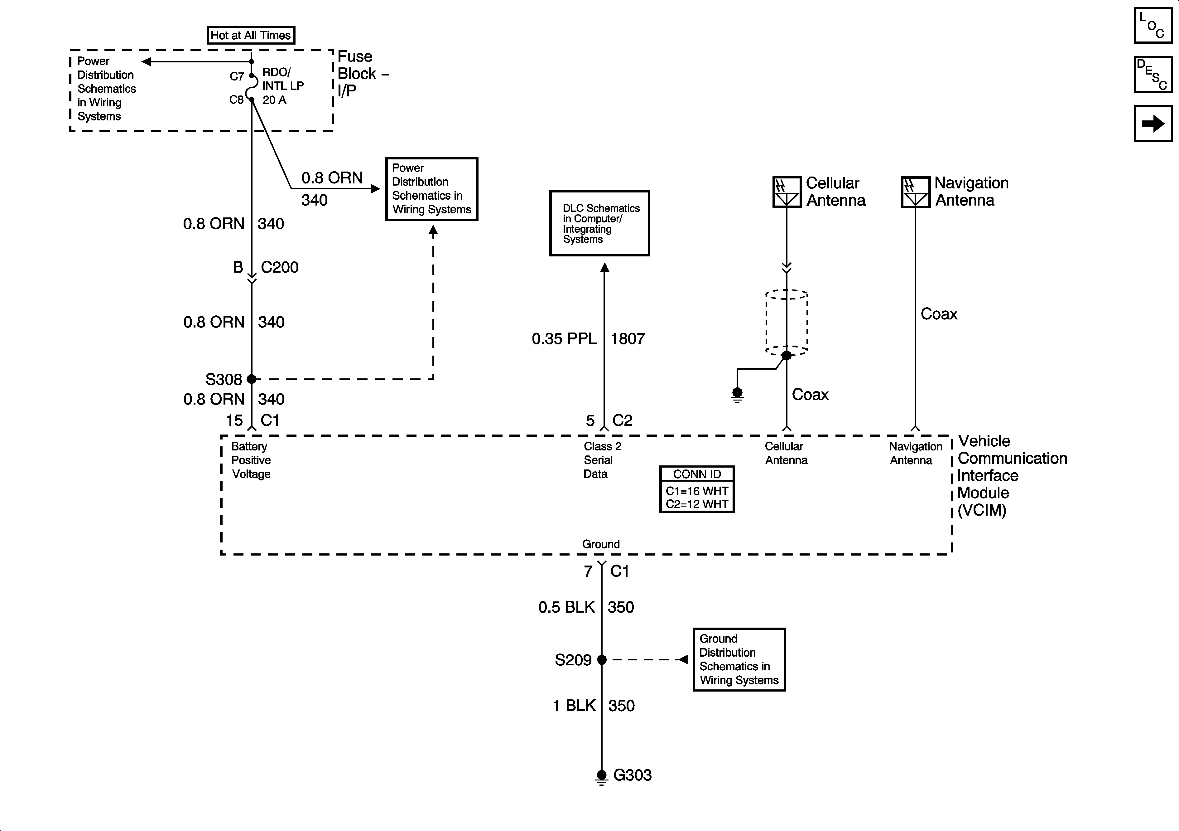
Figure
1:
Antennas, Data Link, Ground and Power
Figure
2:
Inside Rearview Mirror