GM Service Manual Online
For 1990-2009 cars only
Makes
🢒
Chevrolet
🢒
1998
🢒
Cavalier (CNG)
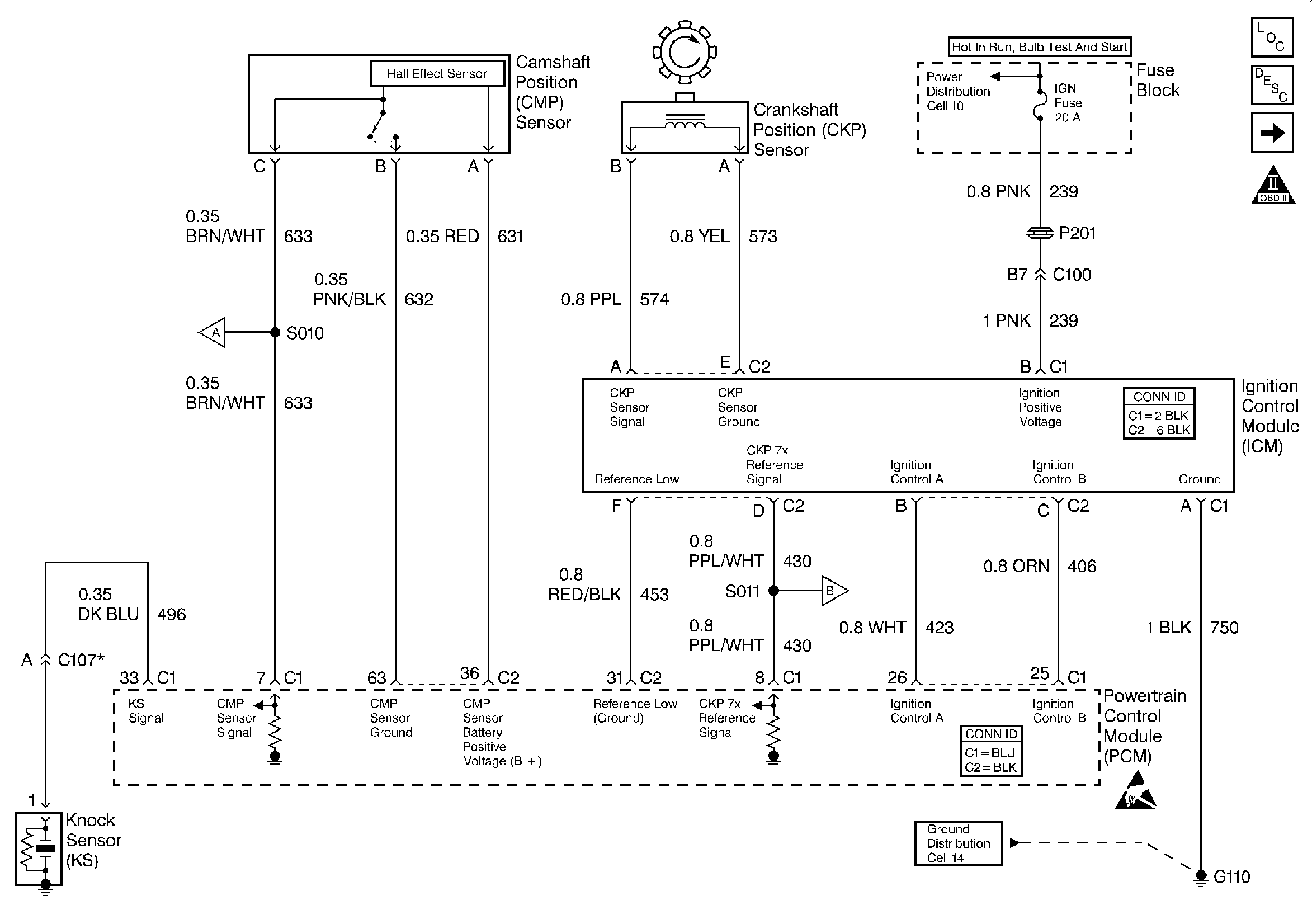
🢒 Ignition Controls (1 of 2)
Ignition Controls (1 of 2)
Ignition Controls (1 of 2)
Handling Electrostatic Discharge Sensitive Parts Notice
Engine Controls Components
Powertrain Control Module Description
Ignition Controls (2 of 2)
OBDII Symbol Description Notice