GM Service Manual Online
For 1990-2009 cars only

Trim Height Measurements

Trim height is a predetermined measurement relating to vehicle ride height. Incorrect trim heights can cause bottoming out over bumps, damage to the suspension components and symptoms similar to wheel alignment problems. Check the trim heights when diagnosing suspension concerns and before checking the wheel alignment.

Perform the following before measuring the trim heights:

  1. Set the tire pressures to the pressure shown on the certification label. Refer to Vehicle Certification Label in General Information.
  2. Check the fuel level. Add additional weight if necessary to simulate a full tank.
  3. Make sure the rear compartment is empty except for the spare tire.
  4. Make sure the vehicle is on a level surface, such as an alignment rack.
  5. Close the doors.
  6. Close the hood.
  7. All dimensions are measured vertical to the ground. Trim heights should be within 13 mm (0.5 in) to be considered correct. The measurements are to be used for comparison only.

Front Axle Height Measurement

The C height dimension measurement determines the proper ride height for the front end of the vehicle. Vehicles without torsion bars have no adjustment and could require replacement of suspension components. The B height dimension measurement determines if the front axle is bent. Check the suspension and steering components for any binding conditions.


    Object Number: 710462  Size: SF
  1. Lift the front bumper of the vehicle up about 38 mm (1.5 in).
  2. Gently remove your hands.
  3. Allow the vehicle to settle into position.
  4. Repeat this jouncing operation 2 more times for a total of 3 times.
  5. Measure from the center line to the bottom inside frame rail in order to obtain the C height measurement for the axle.
  6. Measure from the axle center line of each front wheel to the bottom of the axle beam to obtain the B height measurement for the front axle.
  7. The true C and B height dimension is the average of the high and low measurements. Refer to Trim Height Specifications .

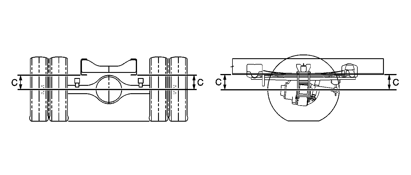
Rear Single Axle Height Measurement

The C height dimension measurement determines the proper rear end ride height. There is no adjustment procedure. Repair may require replacement of suspension components.


    Object Number: 710470  Size: SF
  1. Make sure the vehicle is on a flat level surface.
  2. Measure the C height by measuring the distance between the rear axle center line to bottom inside of frame rail.
  3. Check the suspension components for any binding conditions. Allow the vehicle to settle into position.
  4. Measure the C height dimension.
  5. The true C height dimension number is the average of the high and the low measurements.
  6. If these measurements are out of specifications, inspect for the following conditions:
  7. • Sagging front suspension--Refer to Leaf Springs Replacement in Front Suspension.
    • Sagging rear leaf springs--Refer to Leaf Spring Replacement in Rear Suspension.
    • Worn rear suspension components, such as leaf spring bushings--Refer to Spring Bushing Replacement in Rear Suspension.
    • Improper tire inflation--Refer to Tire Inflation Pressure Specifications in Maintenance and Lubrication.
    • Improper weight distribution
    • Collision damage