GM Service Manual Online
For 1990-2009 cars only

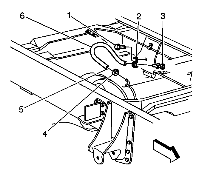
Vent Hose Replacement 11 Inch Axle

Removal Procedure

  1. Raise the vehicle. Refer to Lifting and Jacking the Vehicle in General Information.

  2. Object Number: 730529  Size: SH
  3. Remove the vent hose retainer bolt (1) from the frame.
  4. Remove the vent hose retainer bracket (2).
  5. Disconnect the vent hose clamp (4) from the axle.
  6. Remove the vent hose (6).
  7. Remove the vent (3) from the vent hose (6).

Installation Procedure


    Object Number: 730529  Size: SH
  1. Install the vent (3) to the vent hose (6).
  2. Install the vent hose clamp (4) to the vent hose (6).
  3. Install the vent hose (6) to the axle.
  4. Install the vent hose (6) to the frame.
  5. Install the vent hose retainer clamp (3) to the frame.
  6. Notice: Use the correct fastener in the correct location. Replacement fasteners must be the correct part number for that application. Fasteners requiring replacement or fasteners requiring the use of thread locking compound or sealant are identified in the service procedure. Do not use paints, lubricants, or corrosion inhibitors on fasteners or fastener joint surfaces unless specified. These coatings affect fastener torque and joint clamping force and may damage the fastener. Use the correct tightening sequence and specifications when installing fasteners in order to avoid damage to parts and systems.

  7. Install the vent hose retainer clamp bolt (2).
  8. Tighten
    Tighten the vent hose retainer clamp bolt to 23 N·m (17 lb ft).

  9. Lower the vehicle.