GM Service Manual Online
For 1990-2009 cars only

Rear Axle Disassembled Views 11 Inch Axle

Figure 1:

Full-Floating Axle Wheel End Components


Object Number: 177812  Size: MF
(1)Wheel Hub Bolt
(2)Axle Shaft Cap
(3)Gasket
(4)Axle Shaft
(5)Wheel Bearing Adjuster Nut
(6)Wheel Bearing Adjuster Nut Lock
(7)Wheel Bearing Adjuster Nut
(8)Oil Seal
(9)Bolt
(10)Bolt
(11)Brake Backing Plate
(12)Brake Caliper Mounting Plate
(13)Washer
(14)Nut
(15)Wheel Bearing Oil Deflector
(16)Oil Seal
(17)Inner Wheel Bearing and Cup
(18)Rear Brake Rotor
(19)Wheel Bearing Nut Key Retainer
(20)Outer Wheel Bearing and Cup
(21)Wheel Bearing Spacer
(22)Wheel Hub
Figure 2:

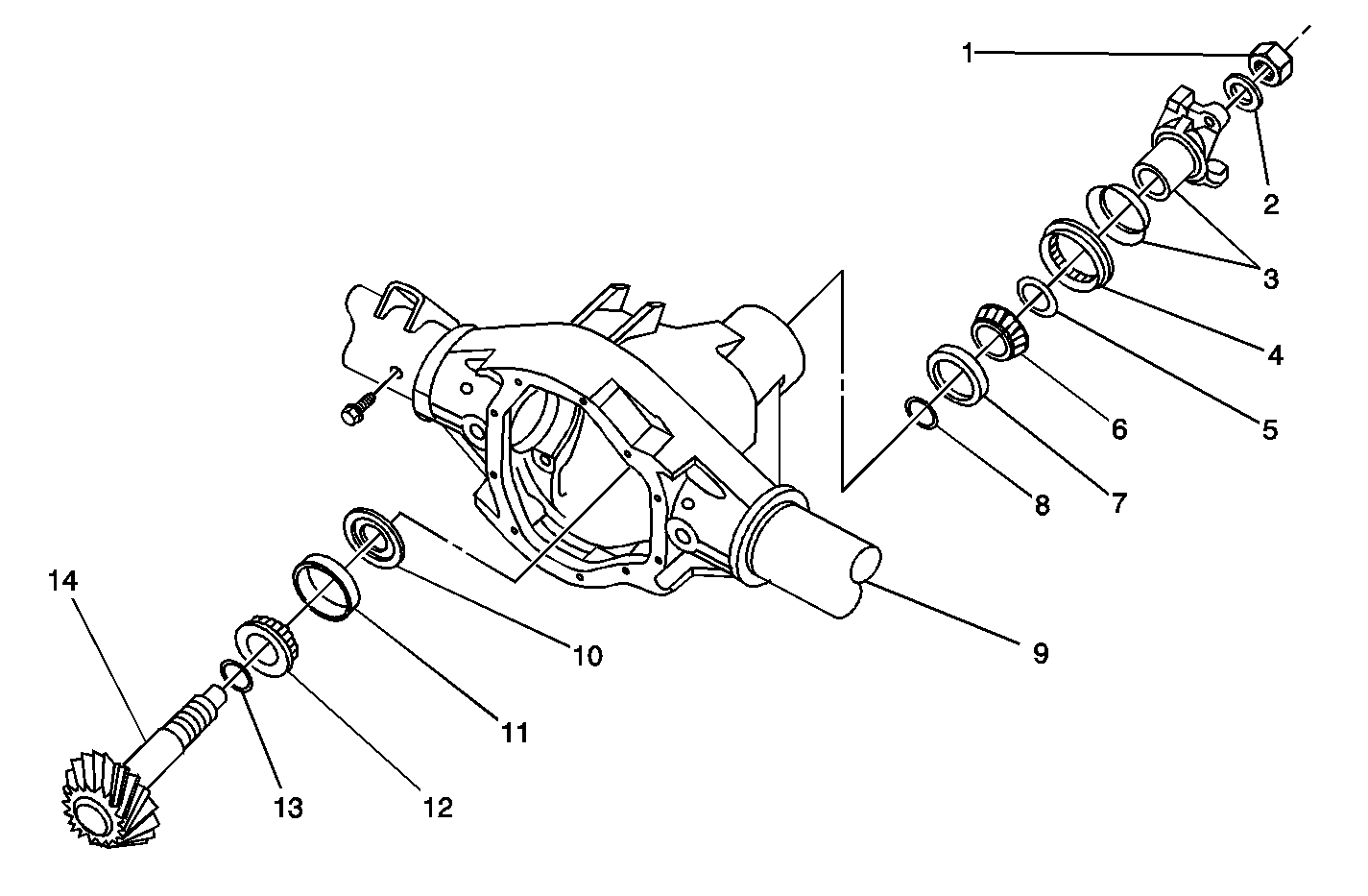
Drive Pinion Components


Object Number: 728867  Size: MF
(1)Nut
(2)Washer
(3)Yoke and Deflector
(4)Oil Seal
(5)Thrust Washer
(6)Bearing
(7)Bearing Cup
(8)Pinion Preload Shims
(9)Housing
(10)Oil Baffle
(11)Bearing Cup
(12)Bearing
(13)Pinion Position Shim
(14)Drive Pinion
Figure 3:

Differential Case Components


Object Number: 730507  Size: MF
(1)Housing
(2)Ring Gear
(3)Lock Pin
(4)Differential Case
(5)Shim-Inboard
(6)Fill Plug
(7)Differential Housing Cover
(8)Bolt
(9)Bolt
(10)Bearing Cap
(11)Shim-Outboard
(12)Bearing Cup
(13)Bearing
(14)Bolt
(15)Pinion Shaft
(16)Thrust Washer
(17)Pinion Gear
(18)Side Gear
(19)Thrust Washer
(20)Pinion Gear
(21)Thrust Washer
(22)Side Gear
(23)Thrust Washer