GM Service Manual Online
For 1990-2009 cars only

Removal Procedure

  1. Raise vehicle.
  2. Remove tire and wheel. Refer to Tire and Wheel Removal and Installation .
  3. Remove the hub and rotor. Refer to Front Wheel Hub, Bearing, and Seal Replacement .

  4. Object Number: 405177  Size: SH
  5. Remove the splash shield (1).
  6. Remove the wheel speed sensor wire mounting clip (6) attached to the upper king pin cap.

  7. Object Number: 191534  Size: SH
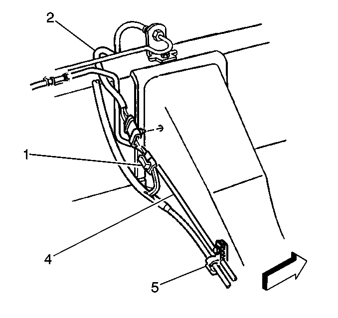
  8. Wheel speed sensor wire mounting clip (5) attached to the frame rail.

  9. Object Number: 191538  Size: SH
  10. Remove wheel speed sensor cable electrical connector (1).

  11. Object Number: 405174  Size: SH

    Important: It is not necessary to replace the sensor mounting bracket unless there is visible damage or distortion to the mounting bracket.

  12. Remove the wheel speed sensor (3) from the mounting bracket (4).

Installation Procedure

NOTICE: The wheel speed sensor used on the C 3500HD models is adjustable by means of slots provided in the mounting bracket. The sensor must be properly adjusted in order to provide the correct air gap between the wheel speed sensor and the tone wheel. If the sensor is not properly adjusted, the tone wheel may hit the wheel speed sensor, or the output from the wheel speed sensor may be low, missing or erratic. Follow the procedure outlined below to properly adjust the front wheel speed sensor.


    Object Number: 405174  Size: SH
  1. Install the wheel speed sensor (3) to the mounting bracket (4).
  2. Install wheel speed sensor to bracket mounting nuts (5).
  3. Run down the nuts but do not torque. The wheel speed sensor must remain loose and move along the slots in the bracket.

  4. Object Number: 416811  Size: SH
  5. Place the front hub and rotor assembly on a flat surface with the tone wheel facing up. Take care not to damage the wheel studs.
  6. Mark the position of the rotor relative to the hub so the rotor can be installed in the same position later.
  7. Remove bolts (22) attaching the rotor (21) to the hub (14).
  8. Remove the rotor from the hub.
  9. Install the bearing seal (12) and inner bearing (20).
  10. Install hub and tone wheel assembly (14) on the knuckle spindle (3), taking care not to damage the wheel speed sensor with the tone ring.
  11. Notice: Use the correct fastener in the correct location. Replacement fasteners must be the correct part number for that application. Fasteners requiring replacement or fasteners requiring the use of thread locking compound or sealant are identified in the service procedure. Do not use paints, lubricants, or corrosion inhibitors on fasteners or fastener joint surfaces unless specified. These coatings affect fastener torque and joint clamping force and may damage the fastener. Use the correct tightening sequence and specifications when installing fasteners in order to avoid damage to parts and systems.

  12. Install the hub outer bearing (15), washer (16) and wheel bearing nut (19).
  13. Tighten
    Tighten the wheel bearing nut (19) to 16 N·m (12 lb ft) while rotating the hub (14) in either direction to ensure proper centering.

  14. Do not back off the wheel bearing nut.
  15. NOTICE: DO NOT use a rigid feeler gauge or a wire spark plug gap gauge to set the wheel speed sensor to tone wheel air gap as these tools will not result in the correct air gap.


    Object Number: 407391  Size: SH
  16. Insert flexible shim stock or equivalent between the tone wheel (1) and the wheel speed sensor (4).
  17. The thickness of the shim stock must be 1.5 mm (0.060 in). The length and width of the shim stock must be sufficient enough to cover the face of the wheel speed sensor. If shim stock is not available, regular notebook or writing paper can be used provided the specified thickness is inserted between the tone wheel and the wheel speed sensor.
  18. Press the wheel speed sensor firmly against the shim stock and tone wheel.

  19. Object Number: 405174  Size: SH
  20. Use the following procedure for tightening the WSS nuts (6):
  21. Tighten

    1. Tighten the left hand lower attaching nut to 13 N·m (10 lb ft).
    2. Tighten the left hand upper attaching nut to 13 N·m (10 lb ft).
    3. Tighten the right hand upper attaching nut to 13 N·m (10 lb ft).
    4. Tighten the right hand lower attaching nut to 13 N·m (10 lb ft) while holding the wheel speed sensor against the shim stock.

    Object Number: 407391  Size: SH
  22. Remove the shim stock from between the tone wheel (1) and the wheel speed sensor (4).
  23. Inspect that the tone wheel does not contact the wheel speed sensor when the hub and tone wheel are rotated. Readjust if necessary.

  24. Object Number: 416811  Size: SH
  25. Install the splash shield (8) to the anchor plate (9).

  26. Object Number: 405177  Size: SH
  27. Take care to route the wheel speed sensor wire (4) through the opening in the splash shield (1) near the center mounting hole.

  28. Object Number: 416811  Size: SH
  29. Install three splash shield mounting bolts (10).
  30. Tighten
    Tighten bolts to 17 N·m (13 lb ft).


    Object Number: 405177  Size: SH
  31. Route the wheel speed sensor wire (4) between the splash shield (1) and the knuckle.
  32. Install the wheel speed sensor mounting clip (6) to the upper king pin cap.
  33. Tighten
    Tighten the bolt (2) to 17 N·m (13 lb ft).


    Object Number: 191534  Size: SH
  34. Install the wheel speed sensor mounting clip (5) to the inside frame rail.
  35. Tighten
    Tighten the bolt (6) to 17 N·m (13 lb ft).


    Object Number: 191538  Size: SH
  36. Connect the wheel speed sensor cable electrical connector (1).

  37. Object Number: 416811  Size: SH
  38. Remove wheel hub and tone wheel assembly (14) from the steering knuckle (3).
  39. Important: Take care to line up reference position marks.

  40. Install hub rotor to wheel hub (22).
  41. Install rotor to hub attaching bolts.
  42. Tighten
    Tighten bolts (22) to 237 N·m (175 lb ft).

  43. Install the hub (14) and rotor (21). Refer to Front Wheel Hub, Bearing, and Seal Replacement .
  44. Install tire and wheel. Refer to Tire and Wheel Removal and Installation .