GM Service Manual Online
For 1990-2009 cars only

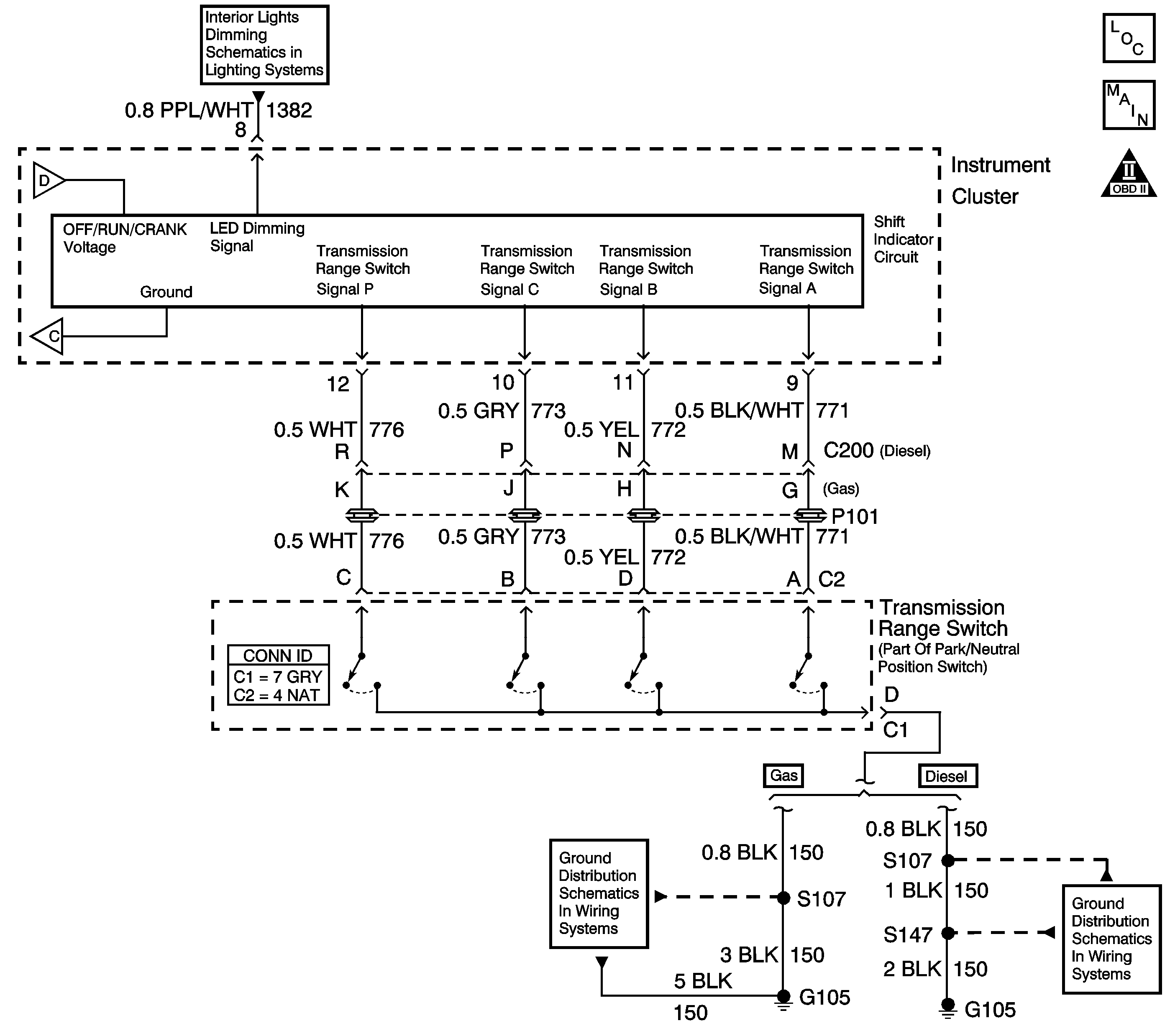
Object Number: 730860  Size: LF

Circuit Description

The transmission range (TR) switch is part of the park/neutral position (PNP) and back-up lamp switch assembly, which is externally mounted on the transmission manual shaft. The TR switch contains four internal switches that indicate the transmission gear range selector lever position. The IPC supplies ignition voltage to each switch circuit. As the gear range selector lever is moved, the state of each switch may change, causing the circuit to open or close. An open circuit or switch indicates a high voltage signal in the IPC. A closed circuit or switch indicates a low voltage signal in the IPC. The IPC detects the selected gear range by deciphering the combination of voltage signals.

Diagnostic Aids

If all of the PRNDL indicators are inaccurate, ensure that the park neutral position switch is properly adjusted. Refer to Park/Neutral Position Switch Adjustment .

Step

Action

Value(s)

Yes

No

Schematic Reference: Instrument Cluster Schematics

DEFINITION: The transmission range selector display is inoperative or displays the incorrect gear selection.

1

Did you review the Transmission Electronic Component Description and perform the necessary inspections?

--

Go to Step 2

Go to Electronic Component Description

2

  1. Place the transmission in PARK.
  2. Turn the ignition ON, with the engine OFF.
  3. Shift the transmission selector into each gear position.
  4. Observe and record the transmission range indication displayed in each gear position.

Does the PRNDL indicate the correct gear in each position?

--

Go to Testing for Intermittent Conditions and Poor Connections

Go to Step 3

3

Are all of the PRNDL indicators inoperative?

--

Go to Step 4

Go to Step 6

4

Test the off/run/crank voltage circuit for an open, for a high resistance or for a short to ground. Refer to Circuit Testing and to Wiring Repairs in Wiring Systems

Did you find and correct the condition?

--

Go to Step 17

Go to Step 5

5

Test the park/neutral position switch ground circuit for an open or for a high resistance. Refer to Circuit Testing and to Wiring Repairs in Wiring Systems.

Did you find and correct the condition?

--

Go to Step 17

Go to Step 6

6

  1. Disconnect park/neutral position switch connector.
  2. Turn the ignition ON, with the engine OFF.
  3. Measure the voltage of the transmission range switch A signal circuit. Refer to Circuit Testing in Wiring Systems.

Does the voltage measure at or near the specified value?

10-12 Volts

Go to Step 7

Go to Step 11

7

Measure the voltage of the transmission range switch P signal circuit. Refer to Circuit Testing in Wiring Systems.

Does the voltage measure near the specified value?

10-12 Volts

Go to Step 8

Go to Step 12

8

Measure the voltage of the transmission range switch B signal circuit. Refer to Circuit Testing in Wiring Systems.

Does the voltage measure near the specified value?

10-12 Volts

Go to Step 9

Go to Step 13

9

Measure the voltage of the transmission range switch C signal circuit. Refer to Circuit Testing in Wiring Systems.

Does the voltage measure near the specified value?

10-12 Volts

Go to Step 10

Go to Step 14

10

  1. Disconnect the park/neutral position switch.
  2. Turn the ignition ON, with the engine OFF.
  3. Using fused jumpers, ground the appropriate transmission range switch circuits. Refer to Transmission Range Switch Logic .

Do the inoperative PRNDL indicators illuminate?

--

Go to Step 16

Go to Step 15

11

Repair the open, the high resistance or the short to ground in the transmission range switch A signal circuit. Refer to Wiring Repairs in Wiring Systems.

Did you complete the repair?

--

Go to Step 17

Go to Step 2

12

Repair the open, the high resistance or the short to ground in the transmission range switch P signal circuit. Refer to Wiring Repairs in Wiring Systems.

Did you complete the repair?

--

Go to Step 17

Go to Step 2

13

Repair the open, the high resistance or the short to ground in the transmission range switch B signal circuit. Refer to Wiring Repairs in Wiring Systems.

Did you complete the repair?

--

Go to Step 17

Go to Step 2

14

Repair the open, the high resistance or the short to ground in the transmission range switch C signal circuit. Refer to Wiring Repairs in Wiring Systems.

Did you complete the repair?

--

Go to Step 17

Go to Step 2

15

Replace the IPC. Refer to Instrument Cluster Replacement in Instrument Panel, Gages and Console.

Is the repair complete?

--

Go to Step 17

Go to Step 2

16

Adjust or replace the park/neutral position switch. Refer to Park/Neutral Position Switch Adjustment or to Park/Neutral Position Switch Replacement .

Did you complete the repair?

--

Go to Step 17

Go to Step 2

17

Operate the system in order to verify the repair.

Did you correct the condition?

--

System OK

Go to Step 2