GM Service Manual Online
For 1990-2009 cars only

Removal Procedure


    Object Number: 339139  Size: SH

    Notice: Broken or deteriorated mounts can cause misalignment and destruction of certain drive train components. When a single mount breaks, the remaining mounts are subjected to abnormally high stresses.

  1. Raise the vehicle. Refer to Lifting and Jacking the Vehicle in General Information.
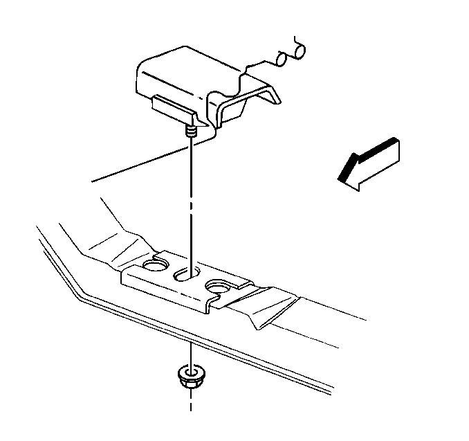
  2. Remove the nut holding the rear engine mount to the transmission support.

  3. Object Number: 339147  Size: SH
  4. Remove the mount to transmission bolts.
  5. Raise the transmission using a suitable transmission jack, just enough in order to permit the removal of the mount.

  6. Object Number: 339174  Size: SH
  7. Remove the mount.

Installation Procedure


    Object Number: 339174  Size: SH
  1. Install the mount.

  2. Object Number: 339147  Size: SH
  3. Loosely install the mount to transmission bolts.
  4. Lower the transmission.

  5. Object Number: 339139  Size: SH

    Notice: Use the correct fastener in the correct location. Replacement fasteners must be the correct part number for that application. Fasteners requiring replacement or fasteners requiring the use of thread locking compound or sealant are identified in the service procedure. Do not use paints, lubricants, or corrosion inhibitors on fasteners or fastener joint surfaces unless specified. These coatings affect fastener torque and joint clamping force and may damage the fastener. Use the correct tightening sequence and specifications when installing fasteners in order to avoid damage to parts and systems.

  6. Install the nut holding the rear engine mount to the transmission support.
  7. Tighten

        • Tighten the nut to 45 N·m (33 lb ft).
        • Tighten the bolts to 50 N·m (37 lb ft).
  8. Lower the vehicle.