GM Service Manual Online
For 1990-2009 cars only

Removal Procedure


    Object Number: 291260  Size: SH
  1. Raise the vehicle. Refer to Lifting and Jacking the Vehicle in General Information.
  2. Remove the connecting rod. Refer to Connecting Rod Replacement .
  3. Loosen the adjuster clamp bolts (2).
  4. Important: Count the number of turns required to remove the adjuster sleeve from the drag link.

  5. Remove the adjuster sleeve from the drag link.

Installation Procedure


    Object Number: 687526  Size: SH
  1. Use the same number of turns as counted in the removal procedure to thread the adjuster sleeve to drag link.
  2. Important: Ensure that both ends of the adjuster sleeve are threaded equally to drag link and connecting rod.

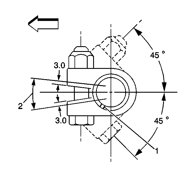
  3. Ensure the slot in the sleeve (1) is not positioned within the clamp opening (2).
  4. Install the connecting rod. Refer to Connecting Rod Replacement .
  5. Notice: Use the correct fastener in the correct location. Replacement fasteners must be the correct part number for that application. Fasteners requiring replacement or fasteners requiring the use of thread locking compound or sealant are identified in the service procedure. Do not use paints, lubricants, or corrosion inhibitors on fasteners or fastener joint surfaces unless specified. These coatings affect fastener torque and joint clamping force and may damage the fastener. Use the correct tightening sequence and specifications when installing fasteners in order to avoid damage to parts and systems.

  6. Tighten the adjuster sleeve bolts (2).
  7. Tighten
    Tighten the adjuster sleeve nuts to 25 N·m (18 lb ft).

  8. Lower the vehicle.
  9. Adjust the toe to the proper specification. Refer to Wheel Alignment Measurement in Wheel Alignment.