GM Service Manual Online
For 1990-2009 cars only
Figure 1:

Radio Antenna


Object Number: 715334  Size: MF
(1)Right Fender
(2)Radio Antenna
(3)Extension Cable
(4)Antenna Connector
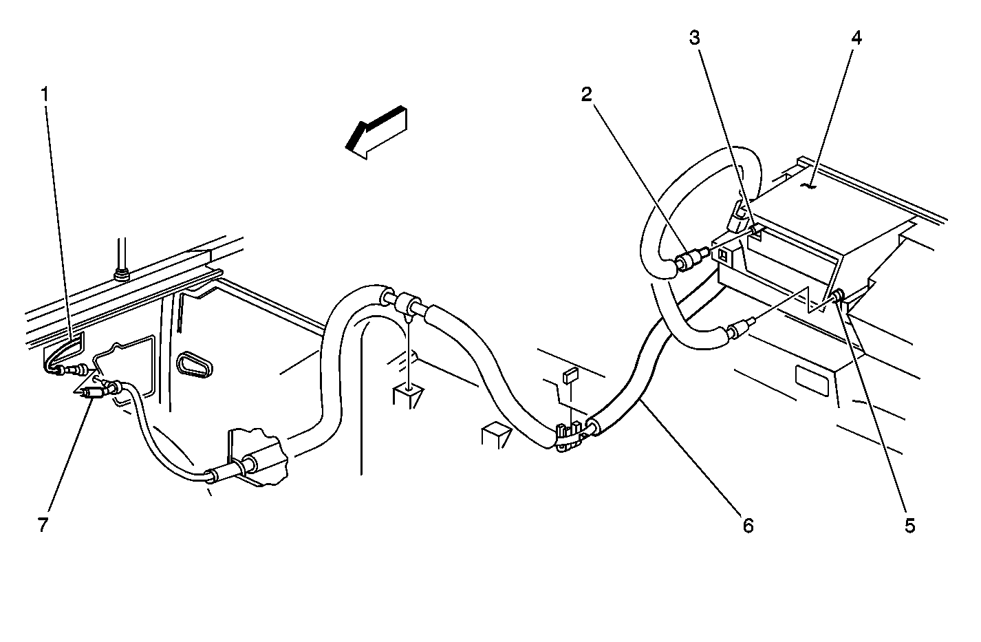
Figure 2:

Radio Antenna Extension Cable Routing


Object Number: 715335  Size: MF
(1)Antenna Cable
(2)Antenna Extension Cable Connector to Radio
(3)Radio Antenna Jack-UL0 and UW3
(4)Radio
(5)Radio Antenna Jack-UM6 and UM7
(6)Antenna Extension Cable
(7)Extension Cable Connector to Antenna
Figure 3:

Radio Installation


Object Number: 715331  Size: MF
(1)Antenna Extension Cable Connector to Radio
(2)Radio Connector C1-UM6, UM7 or C2-UL0, UW3
(3)Radio
(4)Radio Connector C2-UM6, UM7 or C1-UL0, UW3
Figure 4:

Door Speaker-Right Door Shown, Left Similar


Object Number: 715338  Size: MF
(1)Door Harness
(2)Door Speaker Connector
(3)Speaker
(4)Connector C215 - Right Door or C206 - Left Door
(5)Crossbody Harness
Figure 5:

Rear Speaker Wiring


Object Number: 715339  Size: MF
(1)Right Rear Speaker
(2)Rear Speaker Harness
(3)Left Rear Speaker
(4)C410 on Rear Speaker Harness
(5)C410 on Cross Body Harness
(6)Right Rear Speaker Connector, Left Side Similar