GM Service Manual Online
For 1990-2009 cars only
Figure 1:

HVAC Control Assembly - with A/C


Object Number: 669890  Size: MF
(1)Dash
(2)HVAC Control Assembly - C2
(3)IP Harness
(4)HVAC Control Assembly - C1
(5)HVAC Control Assembly (Rear View)
Figure 2:

HVAC Control Assembly - without A/C


Object Number: 689369  Size: MF
(1)White Tape-Mode Cable
(2)Orange Print-Temperature Cable
(3)HVAC Control Assembly - C2
(4)Orange Dot-Temperature Control
(5)HVAC Control Assembly - C1
(6)Mode Selector
(7)Temperature Control
(8)Blower Speed Selector
Figure 3:

Underhood HVAC Components-L18 shown, L65 Similar


Object Number: 689496  Size: MF
(1)Refrigerant Suction Hose
(2)A/C High Pressure Pressure Recirculation Switch
(3)High Pressure Service Fitting
(4)Low Pressure Service Fitting
(5)Compressor
(6)Condenser
(7)Evaporator Pipe
(8)A/C Low Pressure Switch
(9)Accumulator
Figure 4:

A/C Compressor Connectors, C105, and C148


Object Number: 716309  Size: MF
(1)A/C High Pressure Recirculation Switch
(2)A/C High Pressure Recirculation Switch Connector
(3)Engine Harness
(4)Connector C105 to Fuel Injector Harness
(5)Connector C148 to Ignition Coil Harness - Left Side
(6)A/C High Pressure Switch
(7)A/C Compressor Clutch Connector
Figure 5:

G202, G203, C203, C230, and HVAC Blower


Object Number: 699664  Size: MF
(1)High Speed Blower Motor Relay
(2)G203 - 2 wires
(3)G202 - 1 wire
(4)HVAC Module
(5)C230
(6)Blower Motor Connector
(7)Engine Harness
(8)C203
(9)Blower Motor Resistor Assembly
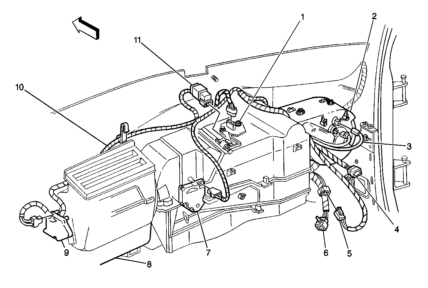
Figure 6:

HVAC Mode and Temperature Door Motors


Object Number: 372168  Size: MF
(1)Blower Motor Resistor Assembly
(2)Blower Motor
(3)Blower Motor Connector
(4)C230
(5)C203
(6)C204
(7)Air Temperature Actuator
(8)HVAC Plenium
(9)Mode Actuator
(10)HVAC Wiring Harness
(11)High Speed Blower Motor Relay