GM Service Manual Online
For 1990-2009 cars only
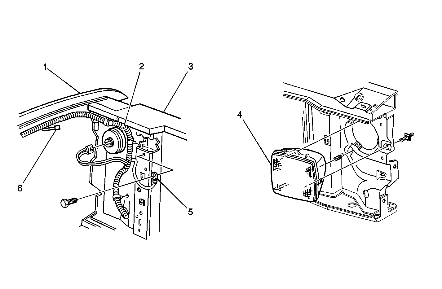
Figure 1:

Headlamp Mounting and Left Side Wiring - Base


Object Number: 714836  Size: MF
(1)Left Front Fender
(2)Headlamp - Left
(3)Radiator Support
(4)Headlamp - Left
(5)Ground G113
(6)Connector C116
Figure 2:

Parking Lamps Mounting - Base


Object Number: 714841  Size: MF
(1)Parking Lamps Assembly
Figure 3:

G112 and Forward Lamps Harness - Right Side, Base Headlamps


Object Number: 675756  Size: MF
(1)G112
(2)Right Side Horn
(3)Left Side Horn
(4)Forward Lamp Harness
(5)Park/Turn Signal Lamps - RF
(6)Opening in Radiator Support
(7)Headlamp Connector
(8)Right Front Fender
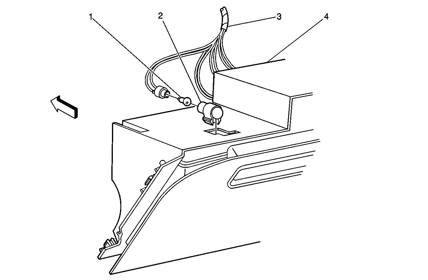
Figure 4:

Forward Lamps Harness - Left Side - Base Headlamps


Object Number: 699667  Size: MF
(1)C102
(2)C116
(3)Headlamp Connector - Left
(4)Left Front Fender
(5)Park/Turn Signal Lamp Connectors - LF
(6)G113
Figure 5:

Headlamp Mounting and Connector - V22


Object Number: 714843  Size: MF
(1)Radiator Support
(2)Fender
(3)Headlamp Bulb Assembly
(4)Headlamp Connector
(5)Headlamp Assembly
Figure 6:

Park and Side Marker Lamps Mounting - V22


Object Number: 714845  Size: MF
(1)Grille
(2)Reflector
(3)Side Marker Lamp Cover
(4)Park/Turn Signal Lamps Assembly
Figure 7:

G112 and Forward Lamps Harness - V22


Object Number: 699665  Size: MF
(1)Right Front Fender
(2)G112
(3)Right Horn Connector
(4)Radiator Support
(5)Horn - Left
(6)Forward Lamps Harness
(7)Park/Turn Signal Lamps - RF
(8)Pass Through Hole
(9)Marker Lamp - RF
(10)Headlamp Connectors - Right
Figure 8:

G113, C102, C116, and Forward Lamps Harness - V22


Object Number: 675753  Size: MF
(1)Forward Lamps Harness
(2)C116
(3)Left Front Fender
(4)Headlamp Connectors - Left
(5)Marker Lamp - LF
(6)Park/Turn Signal Lamps - LF
(7)G113
(8)C102
Figure 9:

Underhood Lamp


Object Number: 405594  Size: MF
(1)Underhood Lamp
(2)G108
(3)Underhood Lamp Connector
(4)Engine Harness
(5)P101
Figure 10:

C100, P100, G200, CPP Switch, and Lighting Components - Left side of IP


Object Number: 713966  Size: MF
(1)IP Cluster Connector
(2)Instrument Panel Bezel
(3)Headlamp Switch
(4)Left Edge of Instrument Panel
(5)Door Jamb Switch - Driver Connector
(6)IP Fuse Block
(7)Footwell Courtesy Lamp - Driver
(8)Ground G200
(9)Daytime Running Lamps (DRL) Control Module
(10)Convenience Center
(11)Connector C100
(12)Pass-Through P100
(13)Clutch Pedal Position (CPP) Switch Connector - M/T
(14)Clutch Master Cylinder - M/T
Figure 11:

C298, Convenience Center, and DRL Control Module


Object Number: 692978  Size: MF
(1)IP Harness
(2)C298
(3)C266
(4)Daytime Running Lamps (DRL) Control Module
(5)Turn Signal/Hazard Flasher Module
(6)Daytime Running Lamps (DRL) Relay
(7)Convenience Connector C1
(8)Convenience Center
(9)Park Brake Switch Connector
(10)Cross Body Harness
Figure 12:

C410, C411, Cross Body Harness, and Dome Lamp Harness


Object Number: 713983  Size: MF
(1)Dome Lamp Harness
(2)Dome/Reading Lamp
(3)Roof
(4)Cross Body Harness
(5)Harness Conduit
(6)C410 to Rear Speaker Harness
(7)C411 to Dome Lamp Harness
Figure 13:

C271, Cross Body Harness, and Roof Marker Lamp Harness


Object Number: 713979  Size: MF
(1)IP Harness
(2)Roof Marker Lamp Harness
(3)Steering Support K Brace
(4)Cross Body Harness
(5)C217-IP Harness to Roof Marker Harness
(6)Left Door Frame
Figure 14:

Roof Marker Lamps


Object Number: 693532  Size: MF
(1)Roof Marker Lamps
(2)Roof Marker Lamp Harness
Figure 15:

C227, C266, Stop Lamp Switch, and Steering Harness Connections


Object Number: 713970  Size: MF
(1)C227
(2)C266 - Steering Column Harness
(3)Instrument Panel
(4)IP Harness
(5)C266 - IP Harness Stop Lamp Switch
(6)Stop Lamp Switch
(7)Jumper Harness to Stop Lamp Switch Connector
Figure 16:

Interior Lamp Control or Remote Control Door Lock Receiver Module


Object Number: 693224  Size: MF
(1)Driver Knee Bolster Outer Bracket
(2)Mounting Hole
(3)IP Reinforcement Bracket
(4)Interior Lamp Control Module (without RKE), with RKE, the Remote Control Door Lock Receiver is mounted here
(5)Hole
Figure 17:

Daytime Running Lamp (DRL) Diode


Object Number: 372215  Size: MF
(1)IP Harness
(2)Daytime Running Lamps (DRL) Diode Connector
(3)DRL Diode
(4)Theft Deterrent Control Module Connector
(5)Theft Deterrent Control Module
Figure 18:

Ash Tray Lamp


Object Number: 693530  Size: MF
(1)Ash Tray Lamp Bulb
(2)Ash Tray Lamp Shield Assembly
(3)IP Harness
(4)Ash Tray
Figure 19:

IP Compartment Lamp, Footwell Courtesy Lamp - Right, and Door Jamb Switch - Front Passenger


Object Number: 693221  Size: MF
(1)Door Jamb Switch - Front Passenger
(2)IP Harness
(3)Connector C200
(4)IP Compartment Lamp Holder
(5)IP Compartment Lamp Connector
(6)Connector C204 - L65 only
(7)Connector C230
(8)Footwell Courtesy Lamp - Right
(9)Connector C299
(10)IP Right End
Figure 20:

Courtesy Lamp, All Doors


Object Number: 375560  Size: MF
(1)Courtesy Lamp, Door
(2)Courtesy Lamp Connector
(3)Door Harness
Figure 21:

Lighting Switches


Object Number: 713241  Size: MF
(1)Turn Signal/Multifunction Switch
(2)Hazard Switch
(3)IP Dimmer Control/Parade Mode Switch/Dome Lamp Switch
(4)Headlamps/Parking Lamps Switch
(5)Dome Lamp Override Switch
Figure 22:

Automatic Transmission


Object Number: 675762  Size: MF
(1)Breakout to Heated Oxygen Sensor - Bank 2
(2)Vehicle Speed Sensor/Transmission Output Shaft Speed Sensor
(3)Connector C122
(4)Park/Neutral Position Switch C2
(5)Park/Neutral Position Switch C1
(6)Park/Neutral Position (PNP) Switch
(7)Transmission Input Shaft Speed Sensor
(8)Heated Oxygen Sensor - Bank 1
(9)Engine Wiring Harness
Figure 23:

Manual Transmission


Object Number: 675761  Size: MF
(1)Engine Wiring Harness
(2)Breakout to Heated Oxygen Sensor - Bank 2
(3)Vehicle Speed Sensor
(4)Backup Lamps Switch
(5)Heated Oxygen Sensor - Bank 1
Figure 24:

G401, C409, and Tail Lamps


Object Number: 693036  Size: MF
(1)G401
(2)C409
(3)Tail Lamps Extension Harness
(4)Tail and Stop Lamps Harness
(5)Right Side Frame Rail
(6)Right Side Tail Lamp Connector
(7)Left Side Tail Lamp Connector
(8)License Plate Mounting Bracket
(9)Tail/Stop and Turn Signal Lamp - Left
(10)Backup Lamp - Left