GM Service Manual Online
For 1990-2009 cars only

Removal Procedure

    Caution: Unless directed otherwise, the ignition and start switch must be in the OFF or LOCK position, and all electrical loads must be OFF before servicing any electrical component. Disconnect the negative battery cable to prevent an electrical spark should a tool or equipment come in contact with an exposed electrical terminal. Failure to follow these precautions may result in personal injury and/or damage to the vehicle or its components.

  1. Disconnect the battery negative cable.
  2. Remove the battery and the tray from the wheelhouse. Refer to Battery Tray Replacement in Engine Electrical.
  3. Remove the engine cooling fan shroud. Refer to Fan Shroud Replacement in Engine Cooling.
  4. Remove the radiator from the vehicle. Refer to Radiator Replacement in Engine Cooling.
  5. Remove the grille. Refer to Grille Replacement in Exterior Trim.
  6. Remove the headlamp and the parking lamp connectors and the harnesses from the radiator support.
  7. Remove the wiring harnesses from the clips at the front of the support and the back of the support.
  8. Remove the ground wires from the support.
  9. Remove the primary hood latch cable from the sheet metal support and the latch. Refer to Hood Primary and Secondary Latch Replacement .
  10. Remove the headlamps from the vehicle. Refer to Headlamp Replacement in Lighting Systems.
  11. Remove the fuel vapor canister and the lines from the radiator support.
  12. Remove the sheet metal support from the radiator support.
  13. Remove the auxiliary transmission and the engine oil coolers, if equipped. Refer to Auxiliary Engine Oil Cooler Replacement in Engine Cooling.
  14. Remove the horn from the left rear side of the radiator support. Refer to Horn Replacement in Horns.
  15. Remove the air conditioning condenser and the lines, if equipped. Refer to Condenser Replacement in Heating, Ventilation, and Air Conditioning.

  16. Object Number: 277568  Size: SH
  17. Remove the wheelhouse panel to the radiator support (6) bolts.

  18. Object Number: 277532  Size: SH
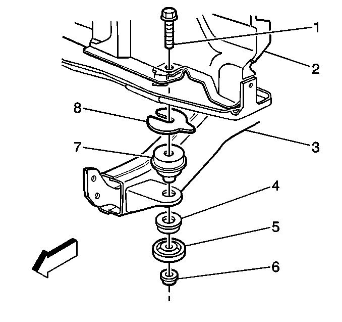
  19. Remove the fender from the radiator support bolts (4).
  20. Remove the air cleaner inlet from the right side of the radiator support.

  21. Object Number: 277534  Size: SH
  22. Remove the bolt (1) holding the support mount to the vehicle.
  23. Remove the radiator support from the vehicle.

  24. Object Number: 277535  Size: SH
  25. Remove the support braces (3) from the support.

Installation Procedure

  1. Install the braces to the radiator support with the bolts.

  2. Object Number: 277535  Size: SH

    Notice: Use the correct fastener in the correct location. Replacement fasteners must be the correct part number for that application. Fasteners requiring replacement or fasteners requiring the use of thread locking compound or sealant are identified in the service procedure. Do not use paints, lubricants, or corrosion inhibitors on fasteners or fastener joint surfaces unless specified. These coatings affect fastener torque and joint clamping force and may damage the fastener. Use the correct tightening sequence and specifications when installing fasteners in order to avoid damage to parts and systems.

  3. Place the top of the left brace between the support and the right brace (3).
  4. Tighten
    Tighten the brace to the radiator support bolts (1) to 25 N·m (18 lb ft).

  5. Install the radiator support (4) into the vehicle.

  6. Object Number: 277534  Size: SH
  7. Install the upper mounting cushion and the shims between the support and the bracket on the frame.
  8. • Level the radiator support by placing the shims (8) below the support.
    • Do not exceed 11 mm (0.43 in) in height.
    • Do not exceed 5 mm (0.19 in) between the left shim and the right shim pack height.
  9. Install the bolt through the following components:
  10. • The shims (6)
    • The upper cushion (7)
    • The frame bracket
    • The lower cushion (4)
    • The retainer (5)
    • The nut (6)

    Tighten
    Tighten the radiator support mounting nut to 57 N·m (42 lb ft).

  11. Install the air cleaner inlet to the right side of the radiator support.

  12. Object Number: 277531  Size: SH
  13. Install the fender to the radiator support bolts.
  14. Tighten
    Tighten the fender to the support bolts to 25 N·m (18 lb ft).


    Object Number: 277568  Size: SH
  15. Install the wheelhouse to the radiator support bolts (4).
  16. Tighten
    Tighten the wheelhouse to the support bolts to 25 N·m (18 lb ft).

  17. Install the air conditioning condenser and the lines, if equipped.
  18. Install the horn to the sheet metal support. Refer to Horn Replacement in Horns.
  19. Install the auxiliary transmission and the engine oil coolers, if equipped. Refer to Auxiliary Engine Oil Cooler Replacement in Engine Cooling.
  20. Install the fuel vapor canister and the lines to the radiator support.
  21. Install the sheet metal support to the front of the radiator support with the bolts.
  22. Tighten
    Tighten the sheet metal support to the radiator support bolts to 25 N·m (18 lb ft).

  23. Install the headlamps. Refer to Headlamp Replacement in Lighting Systems.
  24. Install the primary hood latch bracket to the sheet metal support. Refer to Hood Primary and Secondary Latch Replacement .
  25. Install the ground wires to the support.
  26. Install the wiring harnesses into the clips on the front and the back of the support.
  27. Install the headlamp connectors and the parking lamp connectors to the lamps.
  28. Install the grille. Refer to Grille Replacement in Exterior Trim.
  29. Install the radiator.
  30. Install the engine cooling fan shroud.
  31. Install the battery tray to the wheelhouse.
  32. Tighten
    Tighten the battery tray to the wheelhouse bolts to 25 N·m (18 lb ft).

  33. Install the battery and the cables.