GM Service Manual Online
For 1990-2009 cars only

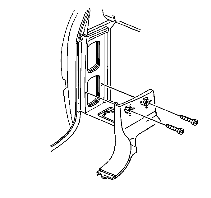
Removal Procedure

  1. Remove the pocket from the lower panel, if equipped.

  2. Object Number: 276532  Size: SH
  3. Remove the lower panel screws.
  4. Remove the lower rear quarter trim panel from the vehicle.

Installation Procedure


    Object Number: 276532  Size: SH
  1. Install the lower rear quarter trim panel to the vehicle.
  2. Notice: Use the correct fastener in the correct location. Replacement fasteners must be the correct part number for that application. Fasteners requiring replacement or fasteners requiring the use of thread locking compound or sealant are identified in the service procedure. Do not use paints, lubricants, or corrosion inhibitors on fasteners or fastener joint surfaces unless specified. These coatings affect fastener torque and joint clamping force and may damage the fastener. Use the correct tightening sequence and specifications when installing fasteners in order to avoid damage to parts and systems.

  3. Install the lower rear quarter trim panel screws.
  4. Tighten
    Tighten the screws to 6 N·m (53 lb in).

  5. Install the pocket ot the lower panel, if equipped.