GM Service Manual Online
For 1990-2009 cars only

Removal Procedure

    Caution: Unless directed otherwise, the ignition and start switch must be in the OFF or LOCK position, and all electrical loads must be OFF before servicing any electrical component. Disconnect the negative battery cable to prevent an electrical spark should a tool or equipment come in contact with an exposed electrical terminal. Failure to follow these precautions may result in personal injury and/or damage to the vehicle or its components.

  1. Remove the battery ground (negative) cable.

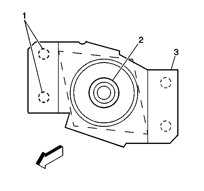
  2. Object Number: 307714  Size: SH
  3. Remove the frame bolt (2) from the frame crossmember nut.

  4. Object Number: 307715  Size: SH

    Important: The frame crossmember nut retainer will be reused if not damaged from the stripped out bolt.

  5. Break away the spot welds (1) on one side of the frame crossmember nut retainer with a suitable tool.
  6. Lift one side of the frame crossmember nut retainer (enough to remove the frame crossmember nut).
  7. Remove the frame crossmember nut.

Installation Procedure


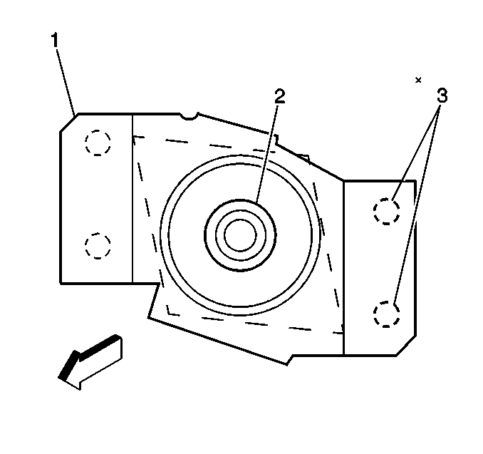
    Object Number: 307715  Size: SH
  1. Install the frame crossmember nut (2).

  2. Object Number: 307714  Size: SH
  3. Install the lower frame crossmember nut retainer into place to insure proper placement and working condition of the frame crossmember nut.
  4. Install the spot weld (3) frame crossmember nut retainer in the original location.
  5. Clean and prepare the welded surfaces.
  6. Notice: Use the correct fastener in the correct location. Replacement fasteners must be the correct part number for that application. Fasteners requiring replacement or fasteners requiring the use of thread locking compound or sealant are identified in the service procedure. Do not use paints, lubricants, or corrosion inhibitors on fasteners or fastener joint surfaces unless specified. These coatings affect fastener torque and joint clamping force and may damage the fastener. Use the correct tightening sequence and specifications when installing fasteners in order to avoid damage to parts and systems.

  7. Install the new frame bolt to the frame crossmember nut.
  8. Tighten
    Tighten the new frame bolt to 180 N·m (133 lb ft).

  9. With a pressure pot apply the anticorrosion compound GM P/N 12346225 or equivalent and coat the inside of the repair area through any access hole thoroughly.
  10. Install the battery ground (negative) cable.