GM Service Manual Online
For 1990-2009 cars only
Figure 1:

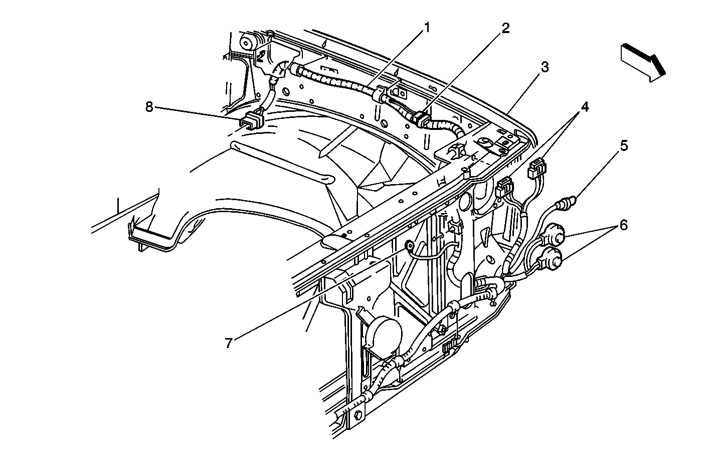
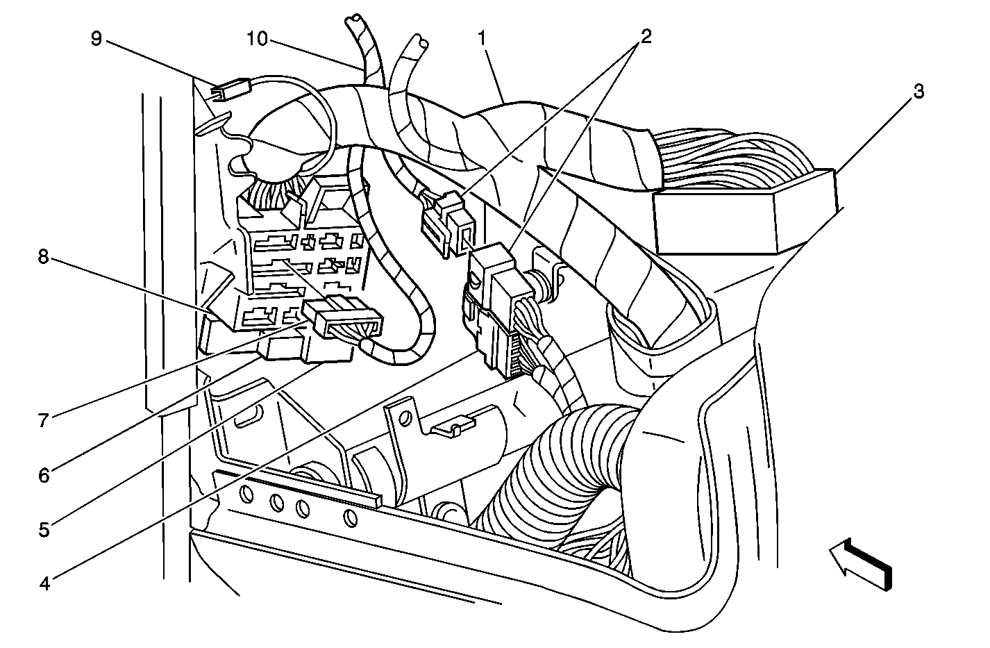
C100, C103, C104, C130, P100, TAC C2, and WSW Connector


Object Number: 722927  Size: MF
(1)Windshield Wiper Motor Module Connector
(2)C130-L18
(3)Throttle Actuator Control (TAC) Module C2
(4)P100
(5)IP Harness to C102
(6)C100
(7)C104
(8)C103
(9)Tail Lamps Extension Harness
(10)Engine Harness
Figure 2:

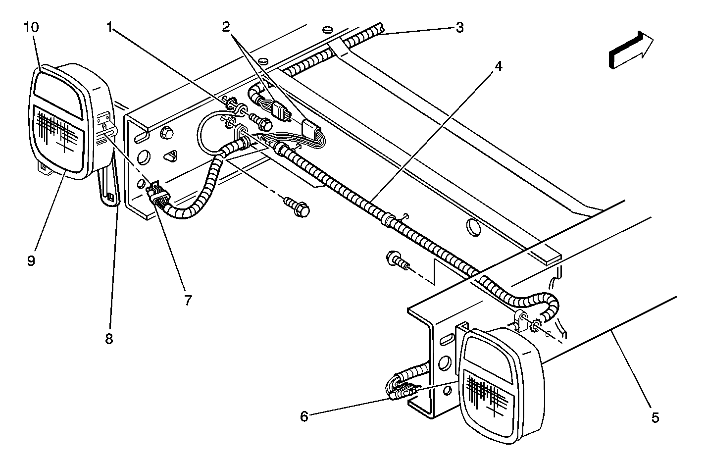
G113, C102, C116, and Forward Lamps Harness - V22


Object Number: 675753  Size: MF
(1)Forward Lamps Harness
(2)C116
(3)Left Front Fender
(4)Headlamp Connectors - Left
(5)Marker Lamp - LF
(6)Park/Turn Signal Lamps - LF
(7)G113
(8)C102
Figure 3:

A/C Compressor Connectors, C105, and C148


Object Number: 716309  Size: MF
(1)A/C High Pressure Recirculation Switch
(2)A/C High Pressure Recirculation Switch Connector
(3)Engine Harness
(4)Connector C105 to Fuel Injector Harness
(5)Connector C148 to Ignition Coil Harness - Left Side
(6)A/C High Pressure Switch
(7)A/C Compressor Clutch Connector
Figure 4:

C106, C112, C113, C114, Fuel Filter Connectors, and Glow Plug Relay


Object Number: 709613  Size: MF
(1)Glow Plug Relay Connector
(2)Water in fuel Sensor - 3-way
(3)C114 - 3-way
(4)C112 - 8-way
(5)C113 - 15-way
(6)Fuel Heater - 2-way
(7)Engine Harness
(8)C106 - 1-way
(9)Glow Plug Relay
(10)Glow Plug Harness - Left Side
(11)Engine Harness to Front of Engine
(12)Engine Harness
Figure 5:

C109, C235, and Pass-Through Harness-9L4, and P102


Object Number: 699512  Size: MF
(1)Underhood Fuse Block
(2)Battery Positive Cables
(3)Electronic Brake Control Module (EBCM)
(4)Engine Harness
(5)P102
(6)C235
(7)Pass-through Harness
(8)Convenience Center
(9)IP Harness
(10)C109
Figure 6:

C115, Generator, and Engine Coolant Temperature Sensor - L65


Object Number: 709618  Size: MF
(1)C115
(2)Engine Coolant Temperature (ECT) Sensor
(3)Generator
(4)Generator Connector
(5)Generator Jumper Harness
Figure 7:

P101, A/C Low Pressure Switch and G108


Object Number: 696075  Size: MF
(1)Right Fender
(2)Engine Coolant Reservoir
(3)A/C Low Pressure Switch
(4)A/C Refrigerant Accumulator
(5)Ground G108
(6)Connector for Underhood Lamp
(7)Refrigerant Suction Line
(8)Engine Harness
(9)Radiator Overflow Hose
(10)Passthrough P101
Figure 8:

C122, PNP Switch, VSS and TISS Sensors - Automatic Transmission


Object Number: 675762  Size: MF
(1)Breakout to Heated Oxygen Sensor - Bank 2 (L18)
(2)Vehicle Speed Sensor (VSS)
(3)Connector C122
(4)Park/Neutral Position Switch (PNP) C2
(5)Park/Neutral Position Switch (PNP) C1
(6)Park/Neutral Position Switch (PNP)
(7)Automatic Transmission Input Shaft Speed (ISS) Sensor
(8)Heated Oxygen Sensor - Bank 1 (L18)
(9)Engine Wiring Harness
Figure 9:

IP Harness Layout


Object Number: 699832  Size: MF
(1)Ashtray Lamp
(2)Radio Connectors
(3)HVAC Control Assembly Connector C1
(4)HVAC Control Assembly Connector C2
(5)PTO Switch Connector
(6)C271
(7)Instrument Panel Cluster Connector
(8)C298
(9)Door Jamb Switch - Driver
(10)Headlamp Switch Connector
(11)IP Fuse Block
(12)Footwell Courtesy Lamp - Driver
(13)G200 Lug
(14)Daytime Running Lamp (DRL) Control Module
(15)Data Link Connector (DLC)
(16)Park Brake Switch Connector
(17)Convenience Center
(18)C102
(19)C100
(20)Aux. Battery Relay Connector
(21)C104
(22)Throttle Actuator Control (TAC) Module C2
(23)Accelerator Pedal Position (APP) Sensor Connector
(24)P100
(25)Clutch Pedal Position (CPP) Switch Connector-M/T
(26)C266
(27)C227
(28)Stoplamp Switch Connector
(29)DRL Diode Connector
(30)Theft Deterrent Control Module Connector
(31)Accessory Power Outlet Connector
(32)Cigar Lighter Connector
(33)Windshield Wiper Motor Module Connector
(34)Accessory Power Outlet Connector
(35)IP Compartment Lamp
(36)C200
(37)C230
(38)Right Side Courtesy Lamp
(39)C299
(40)Door Jamb Switch - Front Passenger
Figure 10:

Cross Body Harness Layout


Object Number: 699829  Size: MF
(1)Convenience Center Connector C1
(2)C298
(3)Keyless Entry Module-AU0, or Interior Lamp Control Module-without AU0
(4)Door Lock Relay-AU0
(5)G202
(6)C299
(7)Right Door Connectors C213, C215
(8)Right Seat Power Lumbar Switch Connector
(9)Driver Seat Belt Switch Connector
(10)Driver Power Seat Connector
(11)C410
(12)C411
(13)Left Door Connectors C207, C209
Figure 11:

C200, C203, C204, PCM, and VSS Buffer


Object Number: 697259  Size: MF
(1)C200
(2)C204
(3)IP Harness
(4)IP Compartment Opening
(5)Powertrain Control Module (PCM) - L65
(6)Vehicle Speed Sensor (VSS) Buffer
(7)HVAC Module
(8)C203
Figure 12:

Connectors: C200, C204, C230, C299 - IP Wiring Right Side


Object Number: 276797  Size: MF
(1)IP Harness
(2)Coolant Level Module - L65
(3)C200
(4)IP Compartment Light Connector
(5)C204 - L65
(6)C230
(7)Footwell Courtesy Lamp - Right
(8)Vehicle Speed Sensor (VSS) Buffer - L65
(9)Powertrain Control Module (PCM) - L65
(10)C299
(11)Door Jamb Switch and Connector - Front Passenger
Figure 13:

C227, C266, Stop Lamp Switch, and Steering Harness Connections


Object Number: 713970  Size: MF
(1)C227
(2)C266 - Steering Column Harness
(3)Instrument Panel
(4)IP Harness
(5)C266 - IP Harness Stop Lamp Switch
(6)Stop Lamp Switch
(7)Jumper Harness to Stop Lamp Switch Connector
Figure 14:

C271, Cross Body Harness, and Roof Marker Lamp Harness


Object Number: 713979  Size: MF
(1)IP Harness
(2)Roof Marker Lamp Harness
(3)Steering Support K Brace
(4)Cross Body Harness
(5)C217-IP Harness to Roof Marker Harness
(6)Left Door Frame
Figure 15:

C291, G200, and Conveience Center C2 and C3


Object Number: 701268  Size: MF
(1)IP-Left End
(2)Harness to Auxiliary Lighting Switch
(3)Convenience Center Connector C3
(4)Convenience Center Connector C2
(5)G200
(6)Convenience Center
(7)C291
(8)Auxiliary Lighting Switch Harness
Figure 16:

C298, Convenience Center, and DRL Control Module


Object Number: 692978  Size: MF
(1)IP Harness
(2)C298
(3)C266
(4)Daytime Running Lamps (DRL) Control Module
(5)Turn Signal/Hazard Flasher Module
(6)Daytime Running Lamps (DRL) Relay
(7)Convenience Connector C1
(8)Convenience Center
(9)Park Brake Switch Connector
(10)Cross Body Harness
Figure 17:

C410, C411, Cross Body Harness, and Dome Lamp Harness


Object Number: 713983  Size: MF
(1)Dome Lamp Harness
(2)Dome/Reading Lamp
(3)Roof
(4)Cross Body Harness
(5)Harness Conduit
(6)C410 to Rear Speaker Harness
(7)C411 to Dome Lamp Harness
Figure 18:

G401, C409, and Tail Lamps


Object Number: 693036  Size: MF
(1)G401
(2)C409
(3)Tail Lamps Extension Harness
(4)Tail and Stop Lamps Harness
(5)Right Side Frame Rail
(6)Right Side Tail Lamp Connector
(7)Left Side Tail Lamp Connector
(8)License Plate Mounting Bracket
(9)Tail/Stop and Turn Signal Lamp - Left
(10)Backup Lamp - Left