| Figure 1: |
G102 and Generator Wiring - L18
|
| Figure 2: |
G102, G103, and Dual Battery Wiring - L65 Single Generator
|
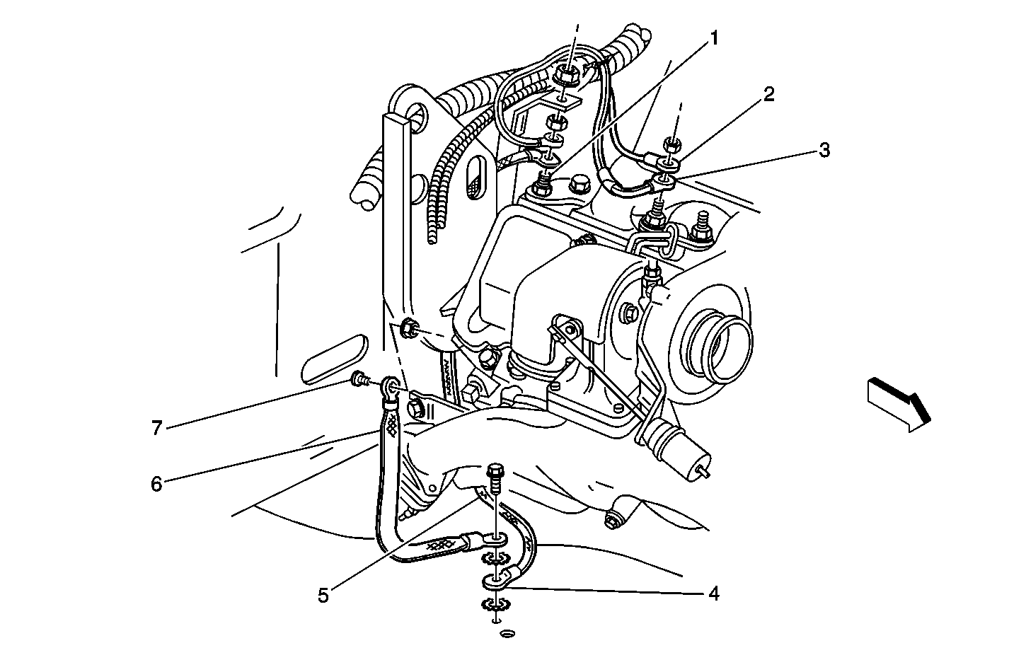
| Figure 3: |
EGR Valve, Engine Oil Pressure (EOP) Sensor, G104, and G105
|
| Figure 4: |
G104, G105, G106, G110, and G115-L65
|
| Figure 5: |
G112 and Forward Lamps Harness - Right Side, Base Headlamps
|
| Figure 6: |
G113 and Auxiliary Battery Connections
|
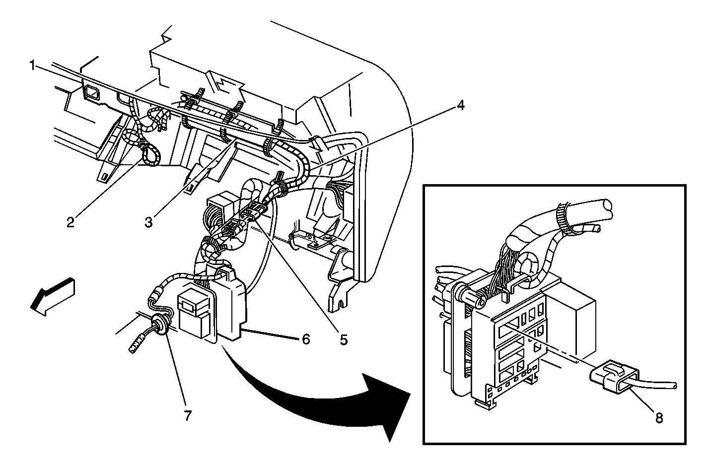
| Figure 7: |
C291, G200, and Conveience Center C2 and C3
|
| Figure 8: |
G202, G203, C203, C230, and HVAC Blower
|
| Figure 9: |
G401, C409, and Tail Lamps
|
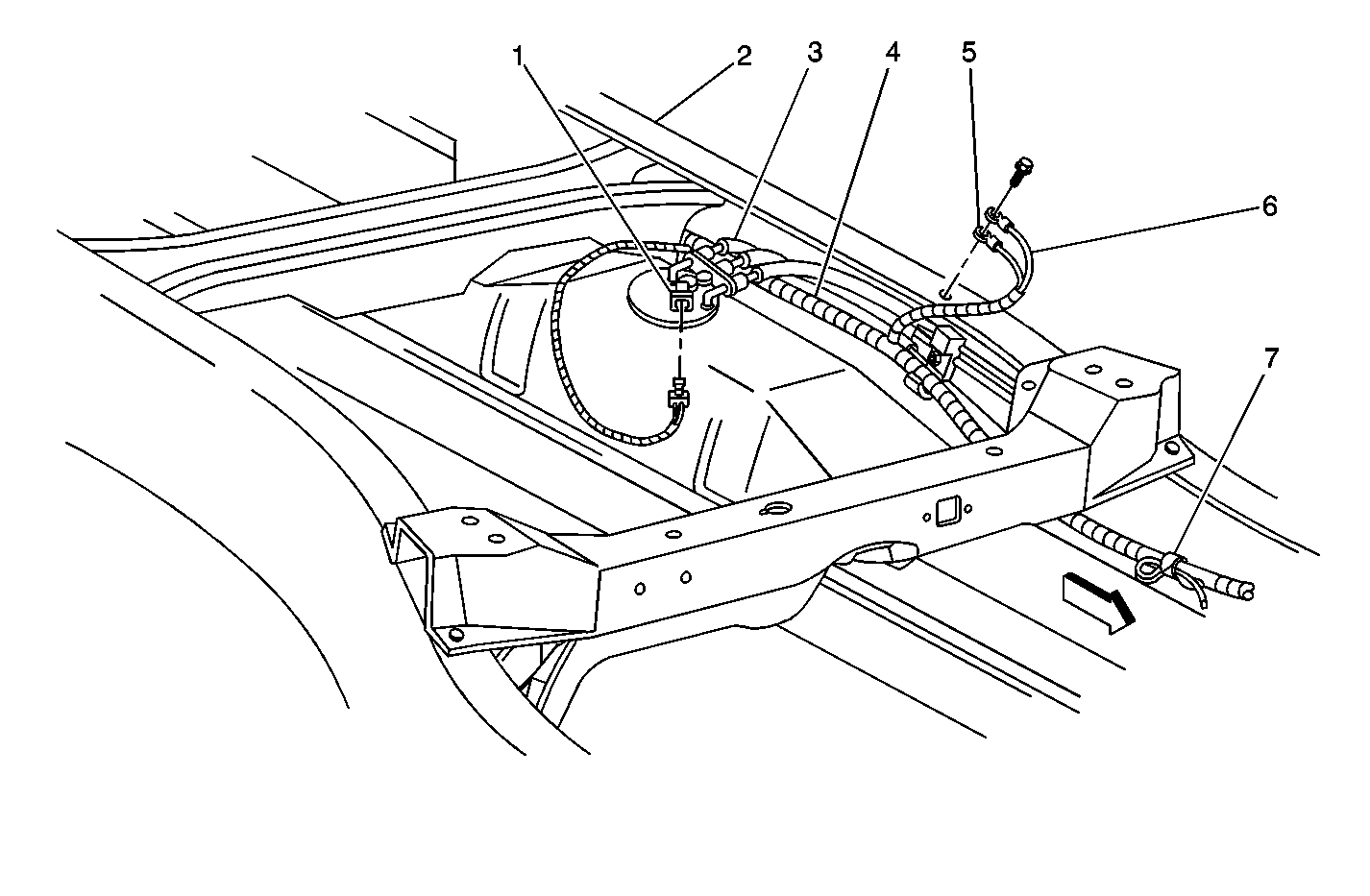
| Figure 10: |
Fuel Tank and G404
|
| Figure 11: |
Auxiliary Lighting Switch-5G4, 5X7, 5Y0
|
| Figure 12: |
Pass-Through Harness-5G4
|
| Figure 13: |
Roof Lamps Harness Wiring-5G4
|
| Figure 14: |
Roof Wiring-5G4
|
| Figure 15: |
Auxiliary Lighting Switch Wiring-5X5, 5Y0
|
| Figure 16: |
Pass-Through Harness-5X7
|
| Figure 17: |
Pass-Through Harness-5Y0
|
| Figure 18: |
Upfitter Wiring-5Y0
|
| Figure 19: |
C109 and Battery Cables-9L4
|
| Figure 20: |
C109, C235, and Pass-Through Harness-9L4, and P102
|
| Figure 21: |
Auxiliary Power IP Wiring-9L4
|
| Figure 22: |
Auxiliary Power Fuse Block Mounting-9L4
|