GM Service Manual Online
For 1990-2009 cars only
Makes
🢒
Chevrolet
🢒
2001
🢒
Chevy C Cab/Chassis HD (GMT 400)
🢒 Accelerator Pedal Position Sensor Circuits
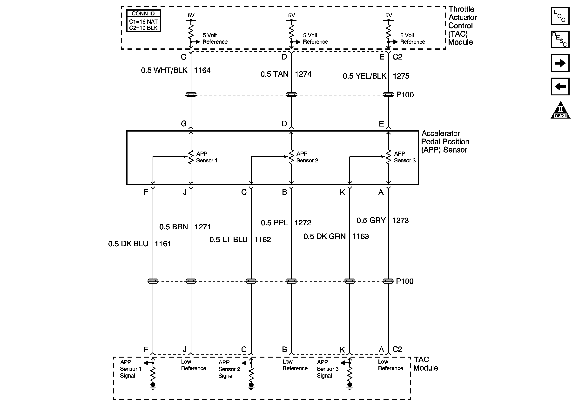
Accelerator Pedal Position Sensor Circuits
Accelerator Pedal Position Sensor Circuits
Master Electrical Component List
Throttle Actuator Control (TAC) System Description
TAC Cruise Control Inputs
Throttle Control Circuits
OBD II Symbol Description Notice