GM Service Manual Online
For 1990-2009 cars only
Makes
🢒
Chevrolet
🢒
2001
🢒
Chevy C Cab/Chassis HD (GMT 400)
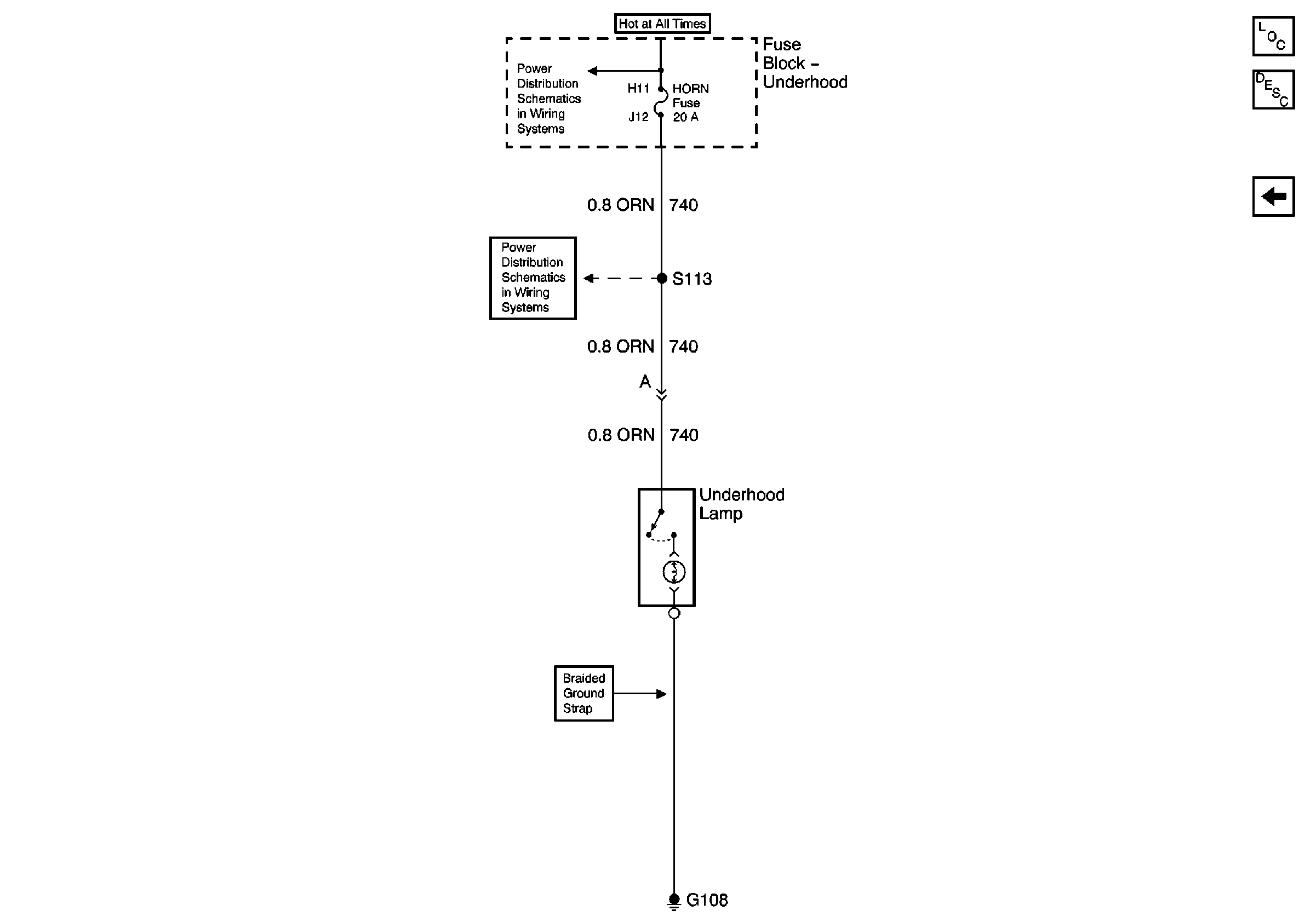
🢒 Underhood Lamp
Underhood Lamp
Underhood Lamp
Master Electrical Component List
Interior Lighting Systems Description and Operation
Ashtray Lamp, Power Window and Door Lock Controls Illumination
Battery and Underhood Fuse Block
ECM-B, Horn, and A/C Fuses