GM Service Manual Online
For 1990-2009 cars only

Tools Required

    • J 8001 Dial Indicator Set
    • J 8092 Universal Driver Handle
    • J 8614-01 Flange and Pulley Holding Tool
    • J 22828 Input and Countershaft Race Installer
    • J 25070 Heat Gun - 500-750F
    • J 26900-13 Magnetic Indicator Base
    • J 38805 Output Shaft Nut Socket
    • J 38856 Bearing Cup and Retainer Installer

    Object Number: 100569  Size: SH
  1. Install the following parts:
  2. 1.1. The overdrive speed gear shift lever
    1.2. The shift lever shaft

    The notches that retain the overdrive speed gear shift fork are to the outside of the case.

    1.3. The shift lever retaining pin

    Object Number: 101009  Size: SH
  3. Install a rubber band, in order to hold the overdrive speed gear shift lever back out of the way.

  4. Object Number: 101013  Size: SH
  5. Using the J 38856 , install the countershaft front bearing cup.

  6. Object Number: 100559  Size: SH
  7. Install the countershaft assembly into the transmission case. Position the rear of the countershaft into the rear countershaft bearing bore, then move the front of the countershaft into position.

  8. Object Number: 101015  Size: SH
  9. Install the countershaft rear bearing, using the following procedure:
  10. 5.1. Position the transmission case with the front of the case down.
    5.2. Lift the countershaft, and place a block of wood between the front of the countershaft and the transmission case.
    5.3. Using the J 22828 , install the countershaft rear bearing.

    Object Number: 762075  Size: SH
  11. Install the following parts:
  12. 6.1. The reverse idler gear
    6.2. The bearing
    6.3. The washers
    6.4. The reverse idler gear shaft

    The step on the shaft aligns toward the countershaft, and is installed flush to the case.


    Object Number: 100556  Size: SH
  13. Position the transmission with the front of the case down.
  14. Position the countershaft in the countershaft front bearing cup.
  15. Install the countershaft rear bearing cup.
  16. Notice: Use the correct fastener in the correct location. Replacement fasteners must be the correct part number for that application. Fasteners requiring replacement or fasteners requiring the use of thread locking compound or sealant are identified in the service procedure. Do not use paints, lubricants, or corrosion inhibitors on fasteners or fastener joint surfaces unless specified. These coatings affect fastener torque and joint clamping force and may damage the fastener. Use the correct tightening sequence and specifications when installing fasteners in order to avoid damage to parts and systems.

  17. Temporarily install the countershaft bearing retainer and the bolts.
  18. Tighten
    Tighten the countershaft bearing retainer bolts to 35 N·m (26 lb ft).


    Object Number: 635574  Size: SH
  19. Measure the countershaft end play. Use the following procedure:
  20. 11.1. Using J 26900-13  (2), set the J 8001  (1) on the end of the countershaft.
    11.2. Zero out the J 8001 .
    11.3. Using a screwdriver, or the equivalent, lift the countershaft and record the measurement.

    The countershaft end play should be 0.05-0.15 mm (0.002-0.006 in).

    11.4. Remove the countershaft rear bearing retainer and bolts.
    11.5.  Add shim(s) under the bearing retainer to achieve the correct end play.

    Object Number: 101017  Size: SH
  21. Apply threadlocker GM P/N 12345493 (Canadian P/N 10953488) or the equivalent to the countershaft retainer bolts.
  22. Install the countershaft bearing retainer and bolts.
  23. Tighten
    Tighten the countershaft bearing retainer bolts to 35 N·m (26 lb ft).


    Object Number: 101033  Size: SH
  24. Using the J 38856 with the J 8092 , install a NEW front countershaft bearing cap. When properly installed, the outer lip of the cap will be flush with case.

  25. Object Number: 100555  Size: SH
  26. Install the mainshaft assembly into the transmission case.

  27. Object Number: 634627  Size: SH
  28. Lubricate the main drive gear bearing with transmission fluid.
  29. Install the main drive gear bearing and the input shaft into the transmission case.

  30. Object Number: 635655  Size: SH
  31. Apply a thin layer of RTV sealer GM P/N 12345739 (Canadian P/N 10953541) or equivalent, to the input shaft retainer mating surface. Excessive amounts could plug the bearing oil passage.

  32. Object Number: 634608  Size: SH
  33. Install the input shaft retainer. Position the retainer with the oil hole at the top-center position.
  34. Apply threadlocker GM P/N 12345493 (Canadian P/N 10953488) or equivalent to the input shaft retainer bolts.
  35. Install the input shaft retainer bolts.
  36. Tighten
    Tighten the input shaft retainer bolts to 22 N·m (16 lb ft).


    Object Number: 102253  Size: SH
  37. Position the transmission with the front of the case down.
  38. Install the mainshaft rear bearing cup.
  39. Temporarily install the mainshaft rear bearing retainer and bolts.
  40. Tighten
    Tighten the mainshaft rear bearing retainer bolts to 35 N·m (26 lb ft).


    Object Number: 634812  Size: SH
  41. Measure the mainshaft end play. Use the following procedure:
  42. 25.1. Using J 26900-13  (2), set the J 8001  (1) on the end of the mainshaft.
    25.2. Zero out the J 8001 .
    25.3. Using a screwdriver, or the equivalent, lift the mainshaft and record the measurement.

    The mainshaft end play should be 0.05-0.15 mm (0.002-0.006 in).

    25.4. Remove the mainshaft rear bearing retainer and bolts.
    25.5.  Add shim(s) under the bearing retainer to achieve the correct end play.

    Object Number: 102253  Size: SH
  43. Apply threadlocker GM P/N 12345493 (Canadian P/N 10953488) or equivalent to the mainshaft rear bearing retainer bolts.
  44. Install the mainshaft rear bearing retainer and bolts.
  45. Tighten
    Tighten the mainshaft rear bearing retainer bolts to 35 N·m (26 lb ft).


    Object Number: 789386  Size: SH
  46. Install the thrust washer pin in the countershaft.
  47. Install the thrust washer. The tapered side faces toward the front of the transmission.

  48. Object Number: 762073  Size: SH
  49. Lubricate the overdrive gear bearing with transmission fluid.
  50. Install the overdrive speed gear bearing.
  51. Install the overdrive speed gear assembly onto the overdrive speed shift shaft and the countershaft. Slide the overdrive speed gear fork and the overdrive speed gear assembly onto the shift shaft.

  52. Object Number: 634818  Size: SH
  53. Install the overdrive speed gear clutch gear retainer ring.

  54. Object Number: 100547  Size: SH
  55. Install the overdrive speed gear shift fork roll pins. Support the fork, and drive the roll pins downward from the top of the fork.

  56. Object Number: 789450  Size: SH

    Caution: When handling parts that have been preheated for installation purposes, always wear leather welding gloves with a minimum amount of handling time. Failure to wear leather gloves may result in severe skin burns or personal injury.

  57. Using the J 25070 , or equivalent, heat the mainshaft overdrive gear, the vehicle speed sensor reluctor wheel for C models, and the mainshaft spacer for the C 3500 HD model, for fifteen minutes.
  58. Install the mainshaft overdrive gear on the mainshaft.
  59. Using the J 22828 , ensure the mainshaft overdrive gear is fully seated against the mainshaft rear bearing.

  60. Object Number: 789453  Size: SH
  61. For the C model, install the vehicle speed sensor reluctor wheel on the mainshaft.
  62. Using the J 22828 , ensure the vehicle speed sensor reluctor wheel is fully seated against the mainshaft overdrive gear.

  63. Object Number: 789455  Size: SH
  64. For the C 3500 HD model, install the mainshaft spacer on the mainshaft.
  65. Using the J 22828 , ensure the mainshaft spacer is fully seated against the reluctor wheel.

  66. Object Number: 634586  Size: SH
  67. For the K model, shift the transmission into two gears, to lock the mainshaft.
  68. For the K model, using the J 38805  (1), install a NEW mainshaft washer and the nut.
  69. Tighten
    Tighten the mainshaft nut to 540 N·m (400 lb ft).


    Object Number: 102243  Size: SH
  70. Clean any oil from the sealing surface of the transmission extension and the rear of the case.
  71. Apply RTV sealer GM P/N 12345739 (Canadian P/N 10953541) or equivalent on the mating surfaces of the transmission extension.
  72. For the K model, install the transmission extension to the transmission case.
  73. Tighten
    Tighten the bolts to 54 N·m (40 lb ft).


    Object Number: 100532  Size: SH
  74. For the C 3500 HD and the C model, install the transmission extension to the transmission case.
  75. Tighten
    Tighten the bolts to 54 N·m (40 lb ft).


    Object Number: 762629  Size: SH
  76. For the C model, install the vehicle speed sensor (VSS). Lubricate the O-ring for ease of installation.
  77. Tighten
    Tighten the VSS to 16 N·m (12 lb ft).


    Object Number: 761114  Size: SH
  78. For the C 3500 HD model, install the VSS. Lubricate the O-ring seal.
  79. Install the VSS bolt.
  80. Tighten
    Tighten the VSS bolt to 16 N·m (12 lb ft).


    Object Number: 789385  Size: SH
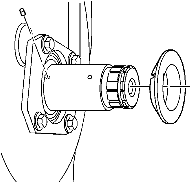
  81. For the C 3500 HD, and C model, install the yoke assembly .
  82. For the C 3500 HD, and C model, install a NEW spline seal, a NEW washer, and the nut.

  83. Object Number: 789384  Size: SH
  84. Use the J 8614-01 to hold the propeller shaft yoke.
  85. Shift the transmission into 1st gear, to aid the tightening of the yoke nut.
  86. Tighten
    Tighten the yoke nut to 441 N·m (325 lb ft).

  87. Fill the transmission to the proper level with Synthetic Manual Transmission Fluid GM P/N 12346190 (Canadian P/N 10953477) or equivalent.

  88. Object Number: 101493  Size: SH
  89. Apply RTV sealer GM P/N 12345739 (Canadian P/N 10953541) or equivalent to the mating surfaces of the transmission cover.

  90. Object Number: 101476  Size: SH
  91. Install the shift cover to the transmission case.
  92. Install the shift cover bolts and the brackets to their original location.
  93. Tighten
    Tighten the bolts to 27 N·m (20 lb ft).


    Object Number: 101498  Size: SH
  94. Apply RTV sealer GM P/N 12345739 (Canadian P/N 10953541) or equivalent, to the shift cover side of the shift tower spacer.

  95. Object Number: 178851  Size: SH
  96. Install the shift tower spacer to the shift cover.
  97. Install the shift lever to the spacer.
  98. Install the shift lever bolts and bushings.
  99. Tighten
    Tighten the bolts to 11 N·m (97 lb in).