GM Service Manual Online
For 1990-2009 cars only
Makes
🢒
Chevrolet
🢒
2002
🢒
Chevy C Cab/Chassis HD (GMT 400)
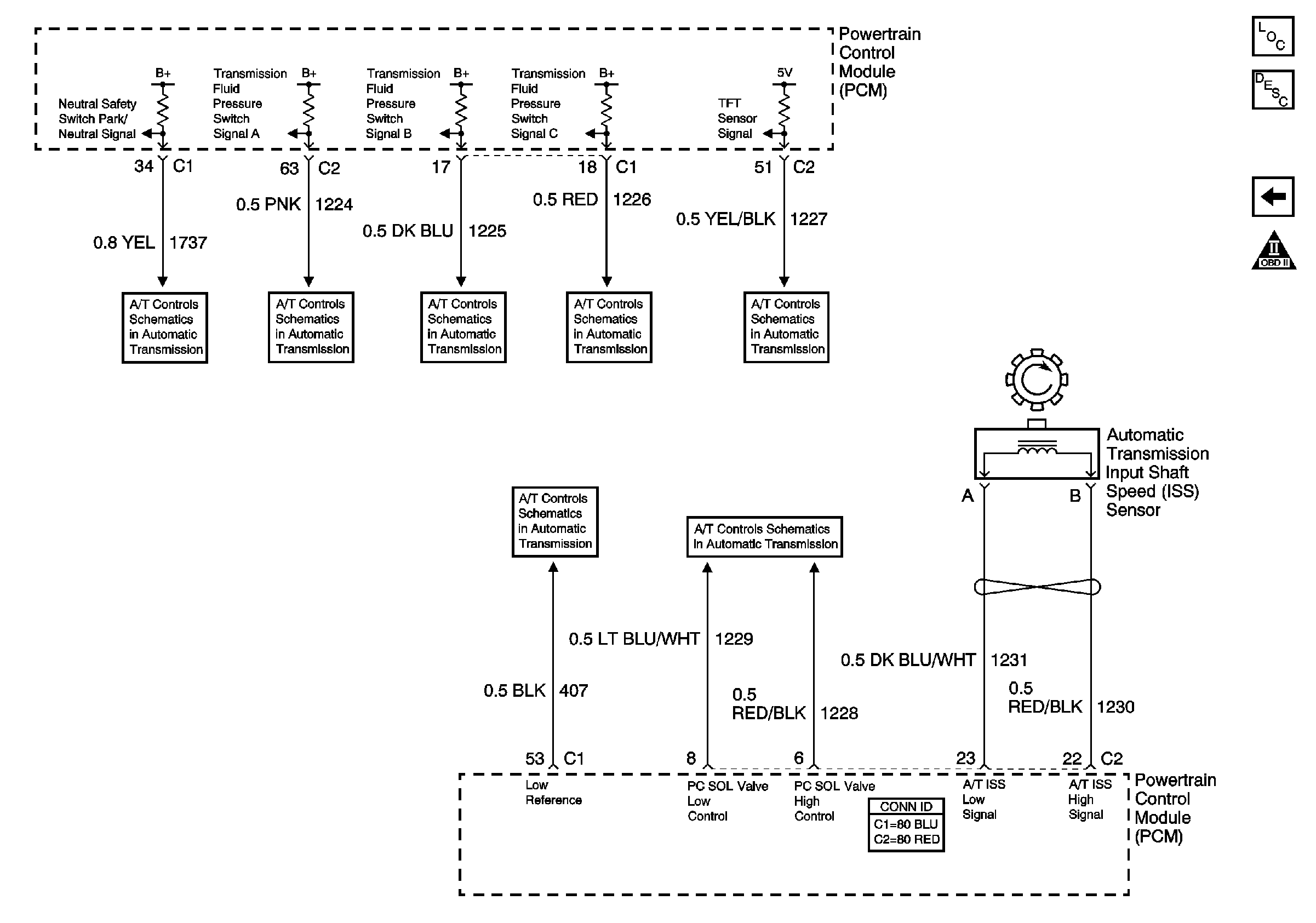
🢒 L18 A/T Internal Switches, TFT, and PC Solenoid Valve
L18 A/T Internal Switches, TFT, and PC Solenoid Valve
A/T Internal Switches, TFT, PC Solenoid Valve
Master Electrical Component List
Electronic Component Description
L18 A/T TCC/Stop Lamp Switch, Shift Solenoids
OBD II Symbol Description Notice
PNP Switch, Pressure Switch, TFT Sensor, PC Sol Valve, Shaft Speed Sensors
PNP Switch, Pressure Switch, TFT Sensor, PC Sol Valve, Shaft Speed Sensors
PNP Switch, Pressure Switch, TFT Sensor, PC Sol Valve, Shaft Speed Sensors
PNP Switch, Pressure Switch, TFT Sensor, PC Sol Valve, Shaft Speed Sensors
PNP Switch, Pressure Switch, TFT Sensor, PC Sol Valve, Shaft Speed Sensors
PNP Switch, Pressure Switch, TFT Sensor, PC Sol Valve, Shaft Speed Sensors
PNP Switch, Pressure Switch, TFT Sensor, PC Sol Valve, Shaft Speed Sensors