GM Service Manual Online
For 1990-2009 cars only

DTC P0704 Gas


Object Number: 728462  Size: MF
Master Electrical Component List
Manual Transmission Schematics
OBD II Symbol Description Notice

Circuit Description

Battery voltage is supplied from the brake fuse to the clutch switch. The clutch switch is a normally-closed switch. When the clutch pedal is released, the clutch pedal position switch signal circuit is pulled up to B+. When the clutch pedal is applied, the switch opens, and the voltage drops to 0 volts.

If the powertrain control module (PCM) detects a specified number of vehicle speed transitions without detecting a clutch switch transition, DTC P0704 will set. DTC P0704 is a type B DTC.

Conditions for Running the DTC

No vehicle speed sensor (VSS) DTC P0500.

Conditions for Setting the DTC

The PCM detects 7 changes in vehicle speed between 0-38 km/h (0-24 mph) without the PCM detecting a clutch pedal transition.

Action Taken When the DTC Sets

    • For California vehicles, the PCM illuminates the malfunction indicator lamp (MIL) during the second consecutive trip in which the Conditions for Setting the DTC are met.
    • For Federal vehicles, the PCM does not illuminate the MIL.
    • The PCM disables cruise control.
    • The PCM disables power take-off.
    • The PCM records the operating conditions when the Conditions for Setting the DTC are met. The PCM records this information as Freeze Frame and Failure Records.
    • The PCM stores DTC P0704 in PCM history.

Conditions for Clearing the MIL/DTC

    • The PCM turns OFF the MIL during the third consecutive trip in which the diagnostic test runs and passes.
    • The PCM cancels the DTC default actions when the ignition switch is OFF long enough in order to power down the PCM.
    •  A history DTC clears after 40 consecutive warm-up cycles, if no failures are present by this diagnostic or any other emission-related diagnostic.
    • A scan tool can clear the MIL/DTC.

Step

Action

Value(s)

Yes

No

1

Did you perform the Diagnostic System Check - Manual Transmission ?

--

Go to Step 2

Go to Diagnostic System Check - Manual Transmission

2

  1. Install a scan tool.
  2. Turn ON the ignition, with the engine OFF.
  3. Use the scan tool to monitor the clutch pedal position switch parameter.
  4. Apply and release the clutch pedal several times.

Does the scan tool indicate a change in state when the clutch pedal is either applied or released?

--

Go to Intermittent Conditions in Engine Controls - 8.1L

Go to Step 3

3

Inspect the adjustment of the clutch pedal position switch. Refer to Clutch Pedal Engine Start Switch Replacement in Clutch.

Did you find and correct a condition?

--

Go to Step 14

Go to Step 4

4

  1. Turn OFF the ignition.
  2. Caution: When you are performing service on or near the SIR components or the SIR wiring, you must disable the SIR system. Refer to Disabling the SIR System. Failure to follow the correct procedure could cause air bag deployment, personal injury, or unnecessary SIR system repairs.

  3. Disconnect the clutch pedal position switch connector.
  4. Measure the voltage between Pin B of the clutch pedal position switch electrical connector and a good ground.

Does the DMM indicate the specified value?

B+

Go to Step 5

Go to Step 11

5

  1. Use a fused jumper wire to connect Pin B and Pin A of the clutch pedal position switch electrical connector.
  2. Turn ON the ignition, with the engine OFF.
  3. Use the scan tool to monitor the clutch pedal position switch parameter.

Does the scan tool display that the clutch is released?

--

Go to Step 8

Go to Step 6

6

  1. Turn OFF the ignition.
  2. Disconnect the PCM connector C1. Refer to Powertrain Control Module Replacement in Engine Controls - 8.1L.
  3. Use the DMM in order to test for continuity on the clutch pedal switch signal circuit (CKT 379) between Pin A of the clutch pedal position switch and Pin 35 of PCM connector C1. Refer to Testing for Continuity in Wiring Systems.

Did you detect continuity?

--

Go to Step 7

Go to Step 10

7

Use the DMM in order to test for continuity between Pin A of the clutch pedal position switch and a good ground. Refer to Testing for Continuity in Wiring Systems.

Did you detect continuity?

--

Go to Step 10

Go to Step 9

8

  1. Inspect for a loose connection at the clutch pedal position switch connector. Refer to Testing for Intermittent Conditions and Poor Connections in Wiring Systems.
  2. Repair the condition as necessary. Refer to Connector Repairs in Wiring Systems.

Did you find and correct the condition?

--

Go to Step 14

Go to Step 12

9

  1. Inspect for a loose connection at the PCM. Refer to Testing for Intermittent Conditions and Poor Connections in Wiring Systems.
  2. Repair the condition as necessary. Refer to Connector Repairs in Wiring Systems.

Did you find and correct the condition?

--

Go to Step 14

Go to Step 13

10

Repair the open or short to ground in the clutch position switch signal circuit (CKT 379). Refer to Wiring Repairs in Wiring Systems.

Is the action complete?

--

Go to Step 14

--

11

Repair the open in the clutch position switch feed circuit (CKT 441). Refer to Wiring Repairs in Wiring Systems.

Is the action complete?

--

Go to Step 14

--

12

Replace the clutch pedal position switch. Refer to Clutch Pedal Engine Start Switch Replacement in Clutch.

Is the action complete?

--

Go to Step 14

--

13

Replace the PCM. Refer to Powertrain Control Module Replacement in Engine Controls - 8.1L.

Is the action complete?

--

Go to Step 14

--

14

  1. Select the DTC.
  2. Select Clear Info.
  3. Operate the vehicle within the Conditions for Running the DTC, as specified in the supporting text.
  4. Select Specific DTC.
  5. Enter DTC P0704.

Has the test run and passed?

--

System OK

Go to Step 1

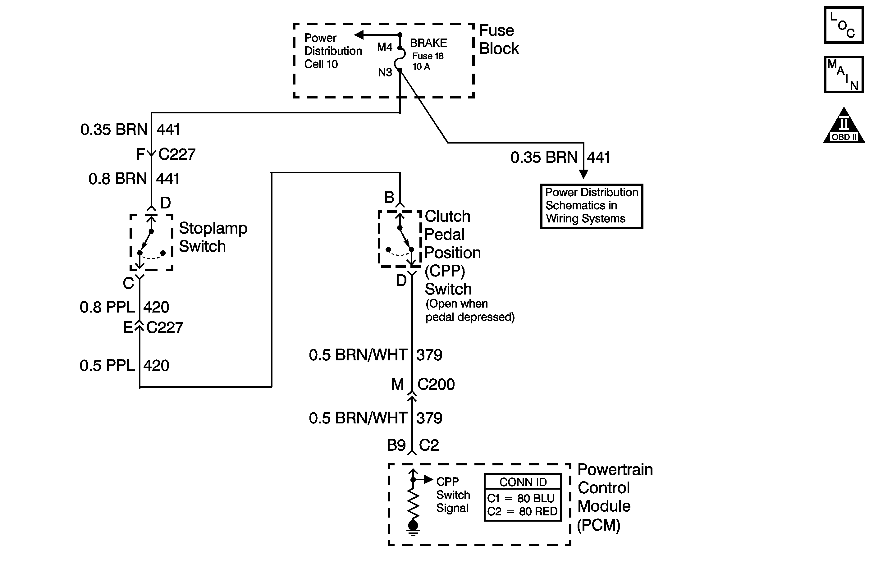
DTC P0704 Diesel


Object Number: 827107  Size: MF
Master Electrical Component List
Manual Transmission Schematics
OBD II Symbol Description Notice

Circuit Description

Battery voltage is supplied from the brake fuse to the clutch switch. The clutch switch is a normally-closed switch. When the clutch pedal is released, the clutch pedal position switch signal circuit is pulled up to B+. When the clutch pedal is applied, the switch opens, and the voltage drops to 0 volts.

If the powertrain control module (PCM) detects a specified number of vehicle speed transitions without detecting a clutch switch transition, DTC P0704 will set. DTC P0704 is a type B DTC.

Conditions for Running the DTC

No vehicle speed sensor (VSS) DTC P0500.

Conditions for Setting the DTC

The PCM detects 7 changes in vehicle speed between 0-38 km/h (0-24 mph) without the PCM detecting a clutch pedal transition.

Action Taken When the DTC Sets

    • For California vehicles, the PCM illuminates the malfunction indicator lamp (MIL) during the second consecutive trip in which the Conditions for Setting the DTC are met.
    • For Federal vehicles, the PCM does not illuminate the MIL.
    • The PCM disables cruise control.
    • The PCM disables power take-off.
    • The PCM records the operating conditions when the Conditions for Setting the DTC are met. The PCM records this information as Freeze Frame and Failure Records.
    • The PCM stores DTC P0704 in PCM history.

Conditions for Clearing the MIL/DTC

    • The PCM turns OFF the MIL during the third consecutive trip in which the diagnostic test runs and passes.
    • The PCM cancels the DTC default actions when the ignition switch is OFF long enough in order to power down the PCM.
    •  A history DTC clears after 40 consecutive warm-up cycles, if no failures are present by this diagnostic or any other emission-related diagnostic.
    • A scan tool can clear the MIL/DTC.

Step

Action

Value(s)

Yes

No

1

Did you perform the Diagnostic System Check - Manual Transmission ?

--

Go to Step 2

Go to Diagnostic System Check - Manual Transmission

2

  1. Install a scan tool.
  2. Turn ON the ignition, with the engine OFF.
  3. Use the scan tool to monitor the clutch pedal position switch parameter.
  4. Apply and release the clutch pedal several times.

Does the scan tool indicate a change in state when the clutch pedal is either applied or released?

--

Go to Intermittent Conditions in Engine Controls - 6.5L

Go to Step 3

3

Inspect the adjustment of the clutch pedal position switch. Refer to Clutch Pedal Engine Start Switch Replacement in Clutch.

Did you find and correct a condition?

--

Go to Step 14

Go to Step 4

4

  1. Turn OFF the ignition.
  2. Caution: When you are performing service on or near the SIR components or the SIR wiring, you must disable the SIR system. Refer to Disabling the SIR System. Failure to follow the correct procedure could cause air bag deployment, personal injury, or unnecessary SIR system repairs.

  3. Disconnect the clutch pedal position switch connector.
  4. Measure the voltage between Pin B of the clutch pedal position switch electrical connector and a good ground.

Does the DMM indicate the specified value?

B+

Go to Step 5

Go to Step 11

5

  1. Use a fused jumper wire to connect Pin B and Pin D of the clutch pedal position switch electrical connector.
  2. Turn ON the ignition, with the engine OFF.
  3. Use the scan tool to monitor the clutch pedal position switch parameter.

Does the scan tool display that the clutch is released?

--

Go to Step 8

Go to Step 6

6

  1. Turn OFF the ignition.
  2. Disconnect the PCM connector C2. Refer to Powertrain Control Module Replacement in Engine Controls - 6.5L.
  3. Use the DMM in order to test for continuity on the clutch pedal switch signal circuit (CKT 379) between Pin D of the clutch pedal position switch and Pin B9 of PCM connector C2. Refer to Testing for Continuity in Wiring Systems.

Did you detect continuity?

--

Go to Step 7

Go to Step 10

7

Use the DMM in order to test for continuity between Pin D of the clutch pedal position switch and a good ground. Refer to Testing for Continuity in Wiring Systems.

Did you detect continuity?

--

Go to Step 10

Go to Step 9

8

  1. Inspect for a loose connection at the clutch pedal position switch connector. Refer to Testing for Intermittent Conditions and Poor Connections in Wiring Systems.
  2. Repair the condition as necessary. Refer to Connector Repairs in Wiring Systems.

Did you find and correct the condition?

--

Go to Step 14

Go to Step 12

9

  1. Inspect for a loose connection at the PCM. Refer to Testing for Intermittent Conditions and Poor Connections in Wiring Systems.
  2. Repair the condition as necessary. Refer to Connector Repairs in Wiring Systems.

Did you find and correct the condition?

--

Go to Step 14

Go to Step 13

10

Repair the open or short to ground in the clutch position switch signal circuit (CKT 379). Refer to Wiring Repairs in Wiring Systems.

Is the action complete?

--

Go to Step 14

--

11

Repair the open in the clutch position switch feed circuit (CKT 441). Refer to Wiring Repairs in Wiring Systems.

Is the action complete?

--

Go to Step 14

--

12

Replace the clutch pedal position switch. Refer to Clutch Pedal Engine Start Switch Replacement in Clutch.

Is the action complete?

--

Go to Step 14

--

13

Replace the PCM. Refer to Powertrain Control Module Replacement in Engine Controls - 6.5L.

Is the action complete?

--

Go to Step 14

--

14

  1. Select the DTC.
  2. Select Clear Info.
  3. Operate the vehicle within the Conditions for Running the DTC, as specified in the supporting text.
  4. Select Specific DTC.
  5. Enter DTC P0704.

Has the test run and passed?

--

System OK

Go to Step 1