GM Service Manual Online
For 1990-2009 cars only

DTC P0711 Gas


Object Number: 802550  Size: MF
Master Electrical Component List
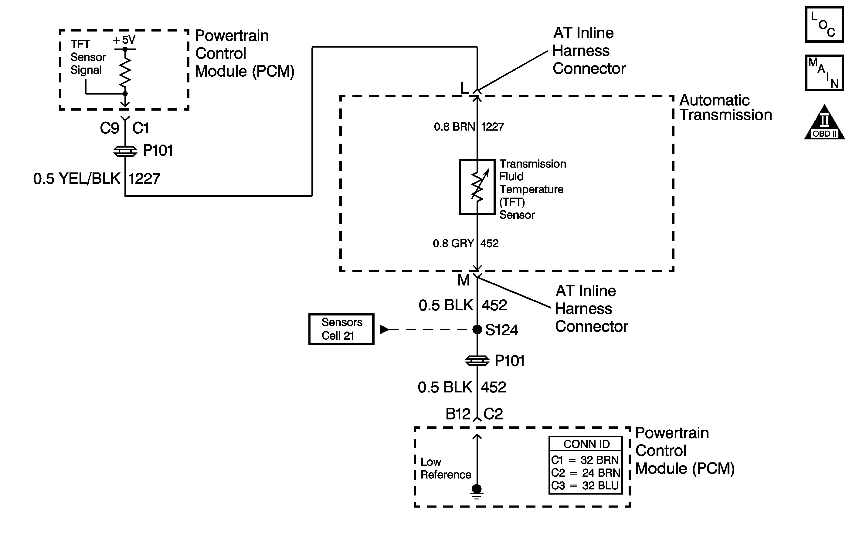
Automatic Transmission Controls Schematics L18
OBD II Symbol Description Notice

Circuit Description

The automatic transmission fluid temperature (TFT) sensor is part of the 4L80-E automatic transmission (AT) wiring harness assembly. The TFT sensor is a resistor, or thermistor, which changes value based on temperature. The sensor has a negative temperature coefficient. This means that as the temperature increases, the resistance decreases, and as the temperature decreases the resistance increases. The powertrain control module (PCM) supplies a 5 volt reference signal to the sensor and measures the voltage drop in the circuit. When the transmission fluid is cold, the sensor resistance is high and the PCM detects high signal voltage. As the fluid temperature warms to a normal operating temperature, the resistance becomes less and the signal voltage decreases. The PCM uses this information to control shift quality and torque converter clutch apply.

If the PCM detects the TFT sensor resistance has no change, or an unrealistic change in a short amount of time, multiple changes within seconds, then DTC P0711 sets. DTC P0711 is a type C DTC.

Conditions for Running the DTC

    • No ISS sensor DTC P0716 or P0717.
    • No VSS sensor DTC P0502 or P0503.
    • No ECT DTCs P0117 or P0118.
    • No component slipping DTC P1870.
    • System voltage is 8-18 volts.
    • The engine is running for greater than 35 seconds.
    • The transmission fluid temperature is -40 to +21°C (-40 to +70°F) at start up.
    • The engine coolant temperature (ECT) is greater than 85°C (185°F).
    • ECT has changed at least 55°C (99°F) since start up.
    • The vehicle speed is greater than 8 km/h (5 mph) for at least 750 seconds (12.5 minutes).
    • The TCC slip speed is greater than 60 RPM for at least 500 seconds (8.3 minutes).

Conditions for Setting the DTC

One of the following conditions occurs:

Condition 1

The transmission fluid temperature has not changed more than 2.25°C (4°F), in more than 80 seconds. No transmission fluid temperature change.

Condition 2

The transmission fluid temperature has an unrealistic temperature change of more than 20°C (36°F) 14 times in 7 seconds.

Action Taken When the DTC Sets

    • The PCM does not illuminate the malfunction indicator lamp (MIL).
    • The PCM commands increased line pressure.
    • The PCM freezes shift adapts.
    • The PCM determines a default transmission fluid temperature (TFT) using the following:
       - If the engine run time is less than 60 seconds, then default TFT equals 47°C (117°F).
       - If ECT is less than 20°C (68°F), then default TFT equals IAT.
       - If the ECT is 20-110°C (68-230°F), then default TFT equals ECT.
       - If the ECT is greater than 110°C (230°F), then default TFT is set to 140°C (284°F) and transmission shift pattern is in hot mode.
       - If ECT and TFT DTCs are both set, then default TFT is 140°C (284°F).
    • The PCM records the operating conditions when the Conditions for Setting the DTC are met. The PCM stores this information as Failure Records.
    • The PCM stores DTC P0711 in PCM history.

Conditions for Clearing the DTC

    • A scan tool clears the DTC from PCM history.
    • The PCM clears the DTC from PCM history if the vehicle completes 40 warm-up cycles without a non-emission related diagnostic fault occurring.
    • The PCM cancels the DTC default actions when the fault no longer exists and the ignition switch is OFF long enough in order to power down the PCM.

Diagnostic Aids

    • DTC P0711 defaults to an elevated line pressure condition which may result in partial TCC apply. This may produce an idle surge that could stall the engine.
    • DTC P0218 may set approximately 600 seconds (10 minutes) after DTC P0711 has set. Follow the diagnostic table for DTC P0711 before proceeding to the diagnostic table for DTC P0218.

Test Description

The numbers below refer to the step numbers on the diagnostic table.

  1. This step tests for proper AT fluid level and condition.

  2. This step verifies which condition has set DTC P0711.

  3. The 12 volt test lamp is used as a fixed resistance.

  4. This step ensures that the PCM monitors the TFT sensor signal circuit (CKT 1227).

DTC P0711

Step

Action

Value(s)

Yes

No

1

Did you perform the Powertrain Diagnostic System Check?

--

Go to Step 2

Go to Diagnostic System Check - Engine Controls in Engine Controls - 8.1L

2

Perform the Transmission Fluid Checking Procedure.

Refer to Transmission Fluid Check .

Was the fluid checking procedure performed?

--

Go to Step 3

Go to Transmission Fluid Check

3

  1. Install a scan tool.
  2. Turn ON the ignition, with the engine OFF.
  3. Important: Before clearing the DTCs, use the scan tool in order to record the Failure Records. Using the Clear Info function erases the Failure Records from the PCM.

  4. Record the Failure Records.
  5. Clear the DTCs.
  6. Select transmission fluid temperature on the scan tool.
  7. Drive the vehicle and observe the scan tool for one of the following conditions:
  8. • No transmission fluid temperature change.
    • An unrealistic transmission fluid temperature change. The transmission fluid temperature change is greater than 20°C (36°F) 14 times in 7 seconds.

Did either of the fail conditions occur?

--

Go to Step 4

Go to Intermittent Conditions in Engine Controls - 8.1L

4

Did the scan tool display an unrealistic transmission fluid temperature change?

--

Go to Step 5

Go to Step 6

5

  1. Turn OFF the ignition.
  2. Disconnect the transmission 20-way connector. Additional DTCs may set.
  3. Using the J 35616 connector test adapter kit, install a 12 volt test lamp between terminal L and M of the engine side of the transmission 20-way connector.
  4. Turn ON the ignition, with the engine OFF.

Does the scan tool transmission fluid temperature display an unrealistic change?

--

Go to Step 7

Go to Step 8

6

  1. Record the scan tool transmission fluid temperature display from Step 4.
  2. Turn OFF the ignition.
  3. Disconnect the transmission 20-way connector. Additional DTCs may set.
  4. Turn ON the ignition, with the engine OFF.

Is the scan tool transmission fluid temperature the same as in Step 4?

--

Go to Step 7

Go to Step 8

7

Replace the PCM.

Refer to Powertrain Control Module Replacement in Engine Controls - 8.1L.

Did you complete the replacement?

--

Go to Step 9

--

8

Replace the transmission fluid temperature sensor.

Refer to Valve Body and Pressure Switch Replacement .

Did you complete the replacement?

--

Go to Step 9

--

9

Perform the following procedure in order to verify the repair:

  1. Select DTC.
  2. Select Clear Info.
  3. Operate the vehicle under the following conditions:
  4. • The transmission fluid temperature changes by more than 3°C (5°F) after the engine has been running for 35 seconds.
    • For a period of at least 11 seconds, the transmission fluid temperature does not change more than 20°C (36°F) within 0.2 seconds.
  5. Select Specific DTC.
  6. Enter DTC P0711.

Has the test run and passed?

--

System OK

Go to Step 1

DTC P0711 Diesel


Object Number: 802551  Size: MF
Master Electrical Component List
Automatic Transmission Controls Schematics L65
OBD II Symbol Description Notice

Circuit Description

The automatic transmission fluid temperature (TFT) sensor is part of the 4L80-E automatic transmission (AT) wiring harness assembly. The TFT sensor is a resistor, or thermistor, which changes value based on temperature. The sensor has a negative-temperature coefficient. This means that as the temperature increases, the resistance decreases, and as the temperature decreases the resistance increases. The powertrain control module (PCM) supplies a 5-volt reference signal to the sensor and measures the voltage drop in the circuit. When the transmission fluid is cold, the sensor resistance is high and the PCM detects high signal voltage. As the fluid temperature warms to a normal operating temperature, the resistance becomes less and the signal voltage decreases. The PCM uses this information to control shift quality and torque converter clutch apply.

If the PCM detects the TFT sensor resistance has no change, or an unrealistic change in a short amount of time, multiple changes within seconds, then DTC P0711 sets. DTC P0711 is a type C DTC.

Conditions for Running the DTC

    • No VSS sensor DTC P0722 or P0723.
    • No ISS sensor DTC P0716 or P0717.
    • No engine coolant temperature (ECT) DTCs P0117 or P0118.
    • No component slipping DTC P1870.
    • System voltage is 9-16 volts.
    • The engine is running for at least 30 seconds.
    • The transmission fluid temperature is -40 to +21°C (-40 to +70°F) at start up.
    • The engine coolant temperature (ECT) is greater than 80°C (176°F).
    • ECT has changed at least 55°C (130°F) since start up.
    • The vehicle speed is greater than 5 km/h (3 mph) for at least 900 seconds (15 minutes).
    • The TCC slip speed is greater than 60 RPM for at least 700 seconds (11.6 minutes).

Conditions for Setting the DTC

DTC P0711 sets if all of the above conditions have been met and one of the following conditions exist:

    • The transmission fluid temperature has not changed more than 2.25°C (4°F) in more than 80 seconds (1.3 minutes). No temperature change.
    • The transmission fluid temperature has an unrealistic change of more than 20°C (68°F), 14 times in 7 seconds.

Action Taken When the DTC Sets

    • The PCM does not illuminate the malfunction indicator lamp (MIL).
    • The PCM commands increased line pressure.
    • The PCM freezes shift adapts.
    • The PCM determines a default transmission fluid temperature (TFT) using the following:
       - If the engine coolant temperature (ECT) is less than -30°C (-22°F) then default TFT is set to -28°C (-19°F).
       - If the ECT is -30 to +110°C (-22 to +230°F) then default TFT equals ECT plus 10 degrees.
       - If the ECT is greater 110°C (230°F) then default TFT is set to 140°C (284°F) and transmission shift pattern is in Hot Mode.
       - If ECT and TFT DTCs are both set then default TFT is 140°C (284°F).
    • The PCM records the operating conditions when the Conditions for Setting the DTC are met. The PCM stores this information as Failure Records.
    • The PCM stores DTC P0711 in PCM history.

Conditions for Clearing the DTC

    • A scan tool clears the DTC from PCM history.
    • The PCM clears the DTC from PCM history if the vehicle completes 40 warm-up cycles without a non-emission related diagnostic fault occurring.
    • The PCM cancels the DTC default actions when the fault no longer exists and the ignition switch is OFF long enough in order to power down the PCM.

Diagnostic Aids

    • DTC P0711 defaults to an elevated line pressure condition which may result in partial TCC apply. This may produce an idle surge that could stall the engine.
    • DTC P0218 may set approximately 600 seconds (10 minutes) after DTC P0711 has set. Follow the diagnostic table for DTC P0711 before proceeding to the diagnostic table for DTC P0218.

Test Description

The numbers below refer to the step numbers on the diagnostic table.

  1. This step tests for proper AT fluid level and condition.

  2. This step verifies which condition has set DTC P0711.

  3. The 12-volt test lamp is used as a fixed resistance.

  4. This step ensures that the PCM monitors the TFT sensor signal circuit.

DTC P0711

Step

Action

Value(s)

Yes

No

1

Did you perform the Powertrain Diagnostic System Check?

--

Go to Step 2

Go to Diagnostic System Check - Engine Controls in Engine Controls - 6.5L

2

Perform the Transmission Fluid Checking Procedure.

Refer to Transmission Fluid Check .

Was the Transmission Fluid Checking Procedure performed?

--

Go to Step 3

Go to Transmission Fluid Check

3

  1. Install a scan tool.
  2. Turn ON the ignition, with the engine OFF.
  3. Important: Before clearing the DTC, use the scan tool in order to record the Failure Records. Using the Clear Info function erases the Failure Records from the PCM.

  4. Record the DTC Failure Records.
  5. Clear the DTC.
  6. Select TFT on the scan tool.
  7. Drive the vehicle and observe the scan tool for one of the following conditions:
  8. • No transmission fluid temperature change.
    • An unrealistic transmission fluid temperature change. The temperature change is greater than 20°C (36°F) 14 times in 7 seconds.

Did either of the fail conditions occur?

--

Go to Step 4

Go to Intermittent Conditions in Engine Controls - 6.5L

4

Did the scan tool display an unrealistic transmission fluid temperature change?

--

Go to Step 5

Go to Step 6

5

  1. Turn OFF the ignition.
  2. Disconnect the transmission 20-way connector. Multiple DTCs will set.
  3. Using the J 35616 connector test adapter kit, install a 12 volt test lamp between terminal L and M of the engine side of the transmission 20-way connector.
  4. Turn ON the ignition, with the engine OFF.

Does the scan tool TFT display an unrealistic temperature change?

--

Go to Step 7

Go to Step 8

6

  1. Record the scan tool TFT display from Step 4.
  2. Turn OFF the ignition.
  3. Disconnect the transmission 20-way connector. Additional DTCs may set.
  4. Turn ON the ignition, with the engine OFF.

Is the scan tool TFT the same as recorded from Step 4?

--

Go to Step 7

Go to Step 8

7

Replace the PCM.

Refer to Powertrain Control Module Replacement in Engine Controls - 6.5L.

Did you complete the replacement?

--

Go to Step 9

--

8

Replace the TFT sensor.

Refer to Valve Body and Pressure Switch Replacement .

Did you complete the replacement?

--

Go to Step 9

--

9

Perform the following procedure in order to verify the repair:

  1. Select DTC.
  2. Select Clear Info.
  3. Operate the vehicle under the following conditions:
  4. • The transmission fluid temperature changes by more than 3°C (5°F) after the engine has been running for 30 seconds.
    • For a period of at least 30 seconds, the temperature does not change more than 20°C (36°F) within 0.2 seconds.
  5. Select Specific DTC.
  6. Enter DTC P0711.

Has the test run and passed?

--

System OK

Go to Step 1