GM Service Manual Online
For 1990-2009 cars only

    Object Number: 471015  Size: SH
  1. Apply a very light film of clean engine oil to the evaporative emission (EVAP) canister purge solenoid valve O-ring seal.
  2. Install the EVAP purge valve.
  3. Apply thread sealer GM P/N 12345493 (Canadian P/N 10953488), or equivalent, to the threads of the EVAP purge valve bolt.
  4. Notice: Refer to Fastener Notice in the Preface section.

  5. Install the EVAP purge valve bolt.
  6. Tighten
    Tighten the bolt to 8 N·m (71 lb in).


    Object Number: 471013  Size: SH
  7. Install the EVAP tube.

  8. Object Number: 471023  Size: SH

    Important: Lubricate the manifold absolute pressure (MAP) sensor port with clean engine oil. Avoid dipping the sensor port directly into the lubricant or using a solid type of lubricant, as they may block the vacuum port signal.

  9. Install the MAP sensor.
  10. Install the MAP sensor bolt.
  11. Tighten
    Tighten the MAP sensor bolt to 12 N·m (106 lb in).


    Object Number: 1310034  Size: SH
  12. Lubricate the oil fill tube O-ring seal (415) with clean engine oil.
  13. Install the oil fill tube (416).
  14. Install the oil fill tube bolt (419).
  15. Tighten
    Tighten the oil fill tube bolt to 12 N·m (106 lb in).

  16. Install the oil fill cap (418).

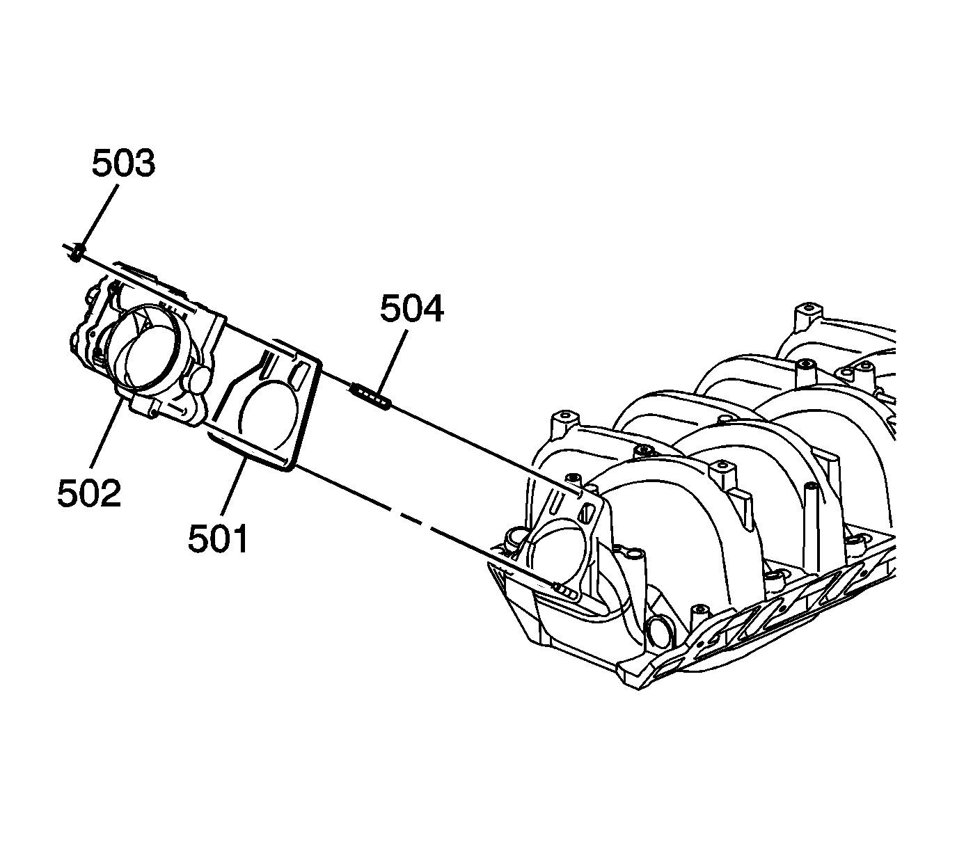
  17. Object Number: 1310037  Size: SH
  18. Install the throttle body gasket (501).
  19. Install the throttle body (502).
  20. Install the throttle body nuts (503).
  21. Tighten
    Tighten the throttle body nuts to 10 N·m (89 lb in).


    Object Number: 1310056  Size: SH
  22. Install the vacuum plug (513).