GM Service Manual Online
For 1990-2009 cars only

For time and/or mileage intervals of scheduled maintenance items, refer to Maintenance Schedule .

The following text and illustrations describe the details of the required scheduled maintenance services.

For information on the proper fluids and lubricants to use, refer to Fluid and Lubricant Recommendations .

Engine Oil and Filter Change

For the 8.1L engine oil and filter changing procedure, refer to Engine Oil and Oil Filter Replacement in Engine Mechanical - 8.1L.

For information on the correct engine oil quality and viscosity, refer to the following:

Gasoline Engine Oil Quality


Object Number: 65538  Size: SH

Oils of the proper quality for the vehicle can be identified by looking for the Saturators symbol. The STARBURST symbol indicates that the oil has been certified by the American Petroleum Institute (API), and is preferred for use in gasoline engines.

Diesel Engine Oil Quality


Object Number: 561515  Size: SH

Oils designated as API CH-4 or CG-4 are best. The CH-4 or CG-4 designations may appear either alone, together or in combination with other API designations, such as API CH-4/SJ, CG-4/SH or CH-4/CG-4/SJ.

These letters show American Petroleum Institute (API) levels of quality.

Important: Oils that don't have one of these designations (CH-4 or CG-4) can cause engine damage which is not covered by the warranty.

Gasoline Engine Oil Viscosity


Object Number: 65536  Size: MH

Engine oil viscosity (thickness) has an effect on fuel economy and the cold-weather operation (engine starting and oil flow). Lower viscosity engine oils can provide better fuel economy and cold-weather performance. However, higher temperature weather conditions require higher viscosity engine oils for satisfactory lubrication.

SAE 5W-30 is best for your vehicle. However, use 10W-30 if the outside temperature is higher than 18C (0°F). Do not use other viscosity oils, such as SAE 20W-50.

Notice: Using oils of any viscosity other than those recommended could result in engine damage. When choosing an oil, consider the range of temperatures the vehicle will be operated in before the next oil change. Then, select the recommended oil viscosity.

Important: If your vehicle is operated in an area where the temperature falls below -29°C (-20°F), consider using a SAE 5W-30 synthetic oil or a SAE 0W-30. Both will provide easier cold starting and better protection for the engine at extremely low temperatures.

Chassis Lubrication

Notice: Do not lubricate the parking brake cables. Lubrication destroys the plastic coating on the cable.

Lubrication Points (Rear-Wheel Drive)


Object Number: 179739  Size: MF
(1)Propeller Shaft-Slip Joint
(2)Rear Axle Differential
(3)Clutch Actuator
(4)Master Cylinder
(5)Oil Filter
(6)Steering Gear
(7)Engine
(8)Steering Linkage
(9)Wheel Bearings
(10)Air Cleaner
(11)Transmission

Refer to the illustration for the location of the lubrication points for the chassis. Lubricate transmission shift linkage. Lubricate the park brake guides, underbody contact points and linkage.

Lubricating Joints that have Grease Fittings

Refer to the illustration for the location of the grease fittings.

Important: Wipe off all dirt from the grease fitting before lubricating the joint. Ball joints should not be lubricated unless their temperature is -12°C (10°F) or higher. During cold weather, the ball joint should be allowed to warm up as necessary before being lubricated. Use a low-pressure grease gun on all joints to prevent seal damage.

Lubrication Fittings (Driver Side)


Object Number: 179741  Size: MF
(1)Lubrication Fittings

Apply grease slowly while watching the grease seal. Apply grease until grease is seen bleeding from the seal. If the seal expands but no grease is seen, do not apply any more grease and allow time for the grease to bleed from the seal.

Lubrication Fittings (Passenger Side)


Object Number: 179742  Size: MF
(1)Lubrication Fittings

For RWD, lubricate the steering linkage, the upper and lower ball joint, and the wheel bearing. Refer to Wheel Bearing Adjustment in Front Suspension.

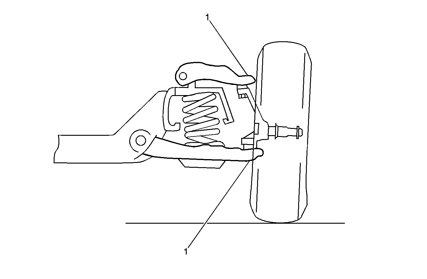
Upper and Lower Ball Joint Lubrication (2WD)


Object Number: 756526  Size: MF
(1)Ball Joint Lubrication Fittings

Upper and Lower Ball Joint Lubrication (4WD)


Object Number: 756527  Size: MF
(1)Ball Joint Lubrication Fittings

Tire and Wheel Inspection and Rotation

Check the tires for abnormal wear for damage. Rotate the tires to equalize the wear and obtain maximum tire life. If irregular or premature wear exists, refer to Tire Diagnosis - Irregular or Premature Wear or Tire Diagnosis - Waddle Complaint in Tires and Wheels.


Object Number: 156806  Size: SH

Accessory Drive Belt Inspection

Inspect the accessory drive belts for the following:

    • Cracks
    • Fraying
    • Wear
    • Proper tension

Replace as needed. Belts can have many small cracks in individual ribs without affecting the performance.

Automatic Transmission

Change both the fluid and the filter according to the maintenance schedule intervals. For maintenance schedule information, refer to Maintenance Schedule .

Spark Plug Replacement

Replace the spark plugs according to the maintenance schedule intervals with the correct type. For maintenance schedule information, refer to Maintenance Schedule .

For information on the correct type of spark plug, refer to Maintenance Items .

For replacement procedure refer to Spark Plug Replacement in Engine Controls - 8.1L.

Spark Plug Wire Inspection

Clean the spark plug wires and inspect for burns, cracks or other damage. Check the wire boot fit at the coils and at the spark plugs.

For maintenance schedule information, refer to Maintenance Schedule .

For replacement procedure refer to Spark Plug Wire Inspection in Engine Controls - 8.1L.

Air Cleaner Filter Replacement

Replace the air cleaner filter according to the maintenance schedule intervals with the correct type. For maintenance schedule information, refer to Maintenance Schedule .

For information on the correct type of air cleaner filter, refer to Maintenance Items .

Shields and Underhood Insulation Inspection

Inspect the shields and underhood insulation condition. Replace the shields and underhood insulation if damaged.

Fuel Filter Replacement

Replace the fuel filter according to the maintenance schedule intervals with the correct type. For maintenance schedule information, refer to Maintenance Schedule .

For information on the correct type of spark plug, refer to Maintenance Items .

Rear Drive Axle Service

Change the rear drive axle fluid according to the maintenance schedule intervals. Refer to Maintenance Schedule .

For axle capacities refer to Approximate Fluid Capacities .

For the procedure to check the fluid level refer to Rear Axle Lubricant Level Inspection in Rear Drive Axle.

Cooling System Service

Drain, flush and refill the cooling system with new coolant. Refer to Cooling System Draining and Filling in Engine Cooling.

For time and or mileage intervals of scheduled maintenance items, refer to Maintenance Schedule .