GM Service Manual Online
For 1990-2009 cars only

Removal Procedure

  1. Remove the door.
  2. Remove the sealer surrounding the hinge.
  3. Scribe the location of the existing hinges on the body pillar.

  4. Object Number: 898457  Size: SH
  5. Lightly hand sand the existing hinge with 100 grit or finer sand paper to locate each weld attaching the hinge to the pillar.
  6. Important: Original punch marks may not indicate the center of welds.


    Object Number: 393672  Size: SH
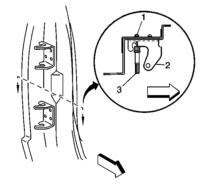
  7. Center punch each of the four welds (1) on the original hinge base it is critical to punch the center of the weld so that as much of the weld is removed during drilling as possible.
  8. Important: Do not drill into the hinge pillar. Drill through the hinge only. Hinge thickness is 5.3 mm.

  9. At each punch location, drill through hinge base (2) only using a 13.0 mm (½ in) rotabroach hole saw or equivalent (3).
  10. Remove the hinge. If necessary use a chisel to separate the hinge from the pillar.
  11. Remove all the remaining weld from the pillar surface to ensure a flush fit of the service hinge.

Installation Procedure

  1. Repair any damage done to the pillar during drilling or removal.
  2. Position the service hinge within the scribe marks on the hinge pillar.
  3. Center punch each bolt hole location.

  4. Object Number: 383412  Size: SH
  5. Drill a 3 mm (1/8 in) pilot hole (1) at each center punch location.
  6. Using the pilot hole as a guide, drill 10 mm (7/16 in) hinge bolt attaching holes.
  7. Apply an approved anti-corrosion primer to all bare metal surfaces.
  8. Apply full-bodied caulk to the entire hinge mounting surface to ensure proper seal.
  9. Notice: Refer to Fastener Notice in the Preface section.


    Object Number: 393677  Size: SH
  10. Align the hinge (3,4) and install using the fasteners supplied (1-5).
  11. Tighten
    Torque hinge bolts to 35 N·m(26 ft lb).


    Object Number: 393679  Size: SH
  12. Before installing the access door (1), modify the door side of the hinge upper and lower extensions (2).
  13. The replacement hinge must maintain a gap of 2 mm between the door side of the hinge and body side hinge bolts.

    Important: Maintain a wall thickness of 2 mm around hole at end of extension.

  14. Clean, prepare and refinish all surfaces as necessary.
  15. Install and align all related panels and components.