GM Service Manual Online
For 1990-2009 cars only

Brake Switch Wiring Polarity

Subject:98065 -- BRAKE SWITCH WIRING POLARITY

Models:1994 CHEVROLET AND GMC C/K



Important: This campaign bulletin, minus your assigned VIN listing, is being forwarded to you at this time in order to take care of those customers who bring their vehicle in for inoperative brake lamps prior to their notification of this campaign.

GM probably will not begin notifying owners of this campaign until late April, 1999. That is when parts are expected to be available in sufficient quantities to support this campaign. A VIN listing will be sent to dealers at that time.

In the meantime, should an owner bring in a 1994 C/K because the brake lamps exhibit the condition described in the "Defect Involved" section of this bulletin, check the VIN against VISS to determine whether the vehicle is included in the campaign bulletin.

   • If it is included in VISS, repair the vehicle per this campaign bulletin and charge the repair to the campaign using the campaign labor operation number.
   • If the vehicle is not included in the campaign bulletin population, treat as a customer-pay repair.

The Highway Safety Act, as amended, provides that each vehicle which is subject to a recall campaign of this type must be adequately repaired within a reasonable time after the customer has tendered it for repair. A failure to repair within sixty (60) days after tender of a vehicle is prima facie evidence of failure to repair within a reasonable time.

If the condition is not adequately repaired within a reasonable time, the customer may be entitled to an identical or reasonably equivalent vehicle at no charge or to a refund of the purchase price less a reasonable allowance for depreciation.

To avoid having to provide these burdensome remedies, every effort must be made to promptly schedule an appointment with each customer and to repair their vehicle as soon as possible. As you will see in reading the attached copy of the divisional letter that is being sent to customers, the customers are being instructed to contact the appropriate Customer Assistance Center if their dealer does not remedy the condition within five (5) days of the mutually agreed upon service date. If the condition is not remedied within a reasonable time, they are instructed on how to contact the National Highway Traffic Safety Administration.

Defect Involved

General Motors has decided that a defect which relates to motor vehicle safety exists in all 1994 Chevrolet and GMC C/K model vehicles. These vehicles were built with the polarity of the wiring for the zero adjust brake switch reversed from what was specified on the switch drawing. With the reversed polarity, the contacts in the brake switch can wear out prematurely. The brake switch will perform normally until the brake switch contacts wear out. When worn out, the contacts fail to close when the brake pedal is pressed. This results in the loss of the brake lamps without any warning to the driver, which could fail to warn a following driver that the vehicle is braking and could lead to a vehicle accident.

To prevent the possibility of this condition occurring, dealers are to replace the brake switch and reverse the wiring.

Vehicles Involved

Involved are all 1994 Chevrolet and GMC C/K model vehicles built within the following VIN breakpoints:

Year

Division

Model

Plant

From

Through

1994

Chevrolet

Pickup

Oshawa

R1100002

R1328725

1994

Chevrolet

Crew-Cab

Janesville

RJ300075

RJ420807

1994

Chevrolet

C3500HD

Janesville

RJ100001

RJ116742

1994

Chevrolet

Chassis Cab

Pont. East

RE100002

RE314501

1994

Chevrolet

Chassis Cab

Ft. Wayne

RZ100000

RZ288043

1994

Chevrolet

Blazer

Janesville

RJ300069

RJ447586

1994

Chevrolet

Suburban

Janesville

RJ300070

RJ447584

1994

GMC

Pickup

Oshawa

R1500001

R1593911

1994

GMC

Crew-Cab

Janesville

RJ700029

RJ761003

1994

GMC

C3500HD

Janesville

RJ500001

RJ524830

1994

GMC

Chassis Cab

Pont. East

RE500001

RE566610

1994

GMC

Chassis Cab

Ft. Wayne

RZ500000

RZ572009

1994

GMC

Yukon

Janesville

RJ700024

RJ772071

1994

GMC

Suburban

Janesville

RJ700027

RJ772082

Important: Dealers should confirm vehicle eligibility through VISS (Vehicle Information Service System) prior to beginning campaign repairs.

Computer listings containing the complete Vehicle Identification Number, customer name and address data will be supplied in late April, 1999 when owner notification begins.

Parts Information

Parts required to complete this campaign are to be obtained from General Motors Service Parts Operations (GMSPO). Please refer to your "involved vehicles listing" prior to ordering parts. Normal orders should be placed on a DRO = Daily Replenishment Order. An emergency requirement should be ordered on a CSO = Customer Special Order.

Part Number

Description

Qty/ Vehicle

12450076

Brake Switch

1

Customer Notification

Customers will be notified, in phases, of this campaign on their vehicles by General Motors. The anticipated date that GM will begin contacting customers is late April, 1999.

Dealer Campaign Responsibility

Dealers are to service all vehicles subject to this campaign at no charge to customers, regardless of mileage, age of vehicle, or ownership, from this time forward.

In summary, whenever a vehicle subject to this campaign enters your vehicle inventory, or is in your dealership for service in the future, please take the steps necessary to be sure the campaign correction has been made before selling or releasing the vehicle.

Service Procedure


    Object Number: 639377  Size: SH
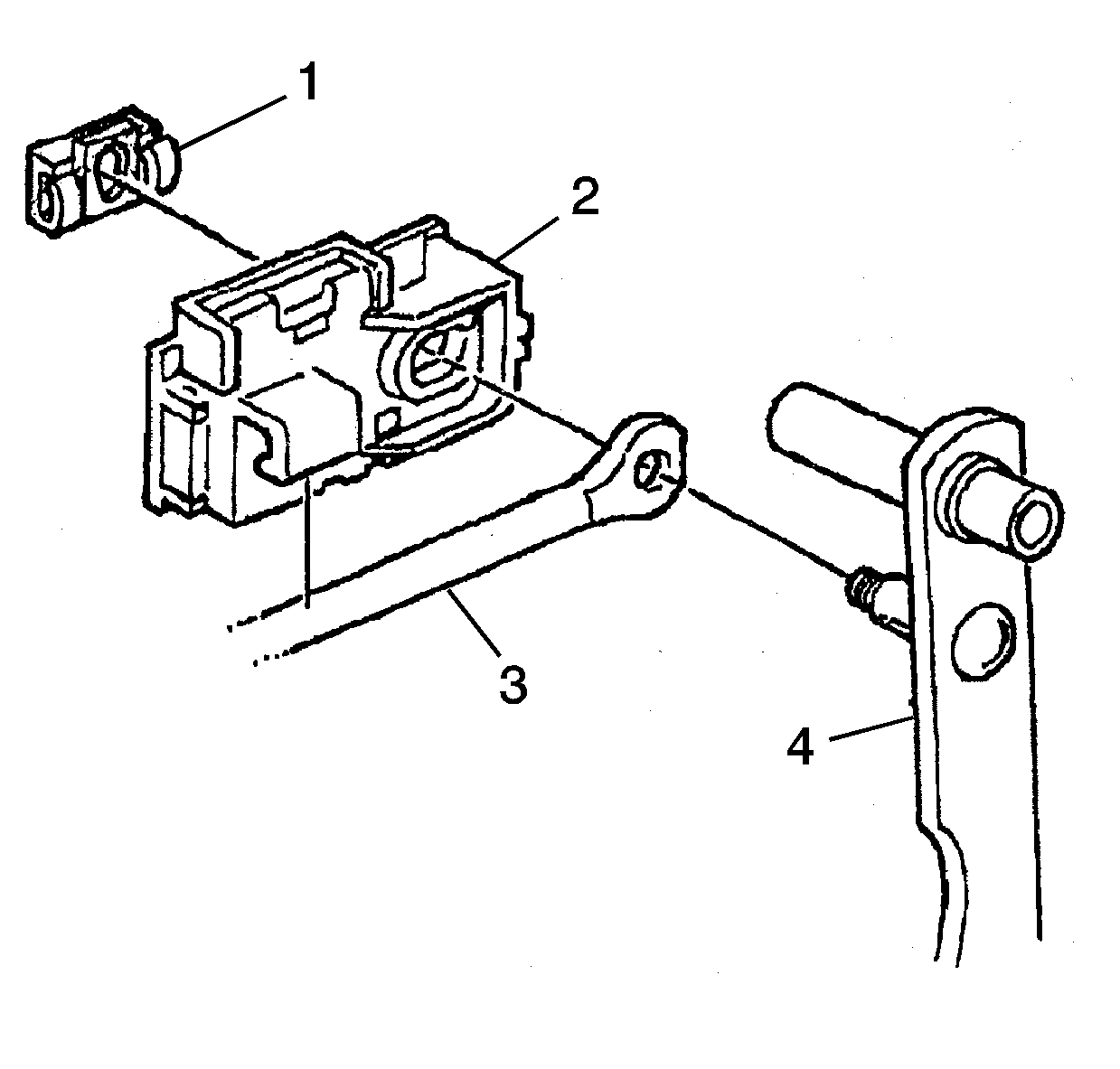
  1. Remove the negative battery cable.
  2. Remove the retainer (1) from the brake pedal pin (4) and unsnap the stoplamp switch (2) from the pushrod (3).
  3. Remove the wiring connector from the switch (2) and discard the switch.
  4. With the switch removed, unsnap the side/locking cover on the wiring connector and remove the wires in cavities A and B. Re-index the wires as follows:
  5. • UTILITIES AND SUBURBANS
    • White wire in cavity A, and the orange wire in cavity B.
    • ALL OTHER MODELS
    • Yellow wire in cavity A, and the orange wire in cavity B.
  6. Repair the locking tab on the terminals and insert wires into the new cavities and snap closed the side/locking cover on the connector.
  7. Reinstall the wiring connector to the new stoplamp switch (2) and snap the switch to the pushrod (3).
  8. Locate the switch (2) on the brake pedal pin (4) and install the retainer (1).
  9. Connect the negative battery cable.
  10. Install the GM Campaign Identification Label.

Campaign Identification Label

Each vehicle corrected in accordance with the instructions outlined in this Product Campaign Bulletin will require a "Campaign Identification Label". Each label provides a space to include the campaign number and the five (5) digit dealer code of the dealer performing the campaign service. This information may be inserted with a typewriter or a ball point pen.


Object Number: 639379  Size: SH

Each "Campaign Identification Label" is to be located on the radiator core support in an area which will be visible when the vehicle is brought in by the customer for periodic servicing. When installing the Campaign Identification Label, be sure to pull the tab to allow adhesion of the clear protective covering. Additional Campaign Identification Labels can be obtained from Dealer Support Materials by calling 1-888-414-6322 (Monday-Friday, 8:00 a.m. to 5:00 p.m. EST). Ask for Item Number S-1015 when ordering.

Apply the "Campaign Identification Label" only on a clean, dry surface.

Claim Information

Submit a Product Campaign Claim with the information indicated below. Refer to the General Motors Corporation Claims Processing Manual for details on Product Campaign Claim Submission.

Repair Performed

Part Count

Part No.

Parts Allow

CC-FC

Labor Op

Labor Hours*

Net Item

Rewire and Replace Brake Switch

1

--

**

MA-96

V0266

*0.3

***

* -- For Campaign Administrative Allowance, add 0.1 hours to the "Labor Hours".

** -- The "Parts Allowance" should be the sum total of the current GMSPO Dealer Net price plus 40% for the brake switch needed to complete the repair.

*** --The amount identified in the "Net Item" column should represent the total reimbursed to customer for a previous customer-paid repair to the brake switch, if applicable. See Reimbursement section below for required documentation.

Reimbursement

When a customer requests reimbursement, they must provide the following:

    • Proof of ownership at the time of the repair.
    • Original paid receipt confirming the amount of unreimbursed repair expense(s), a description of the repair, and the person or entity performing the repair.

Claims for customer reimbursement on previously paid repairs are to be submitted as required by WINS.

Important: Refer to the GM Service Policies and Procedures Manual, section 1.6.2, for specific procedures regarding customer reimbursement verification.