GM Service Manual Online
For 1990-2009 cars only

Safety 94C24 - Trailer Hitch Platform Missing Bolts

Subject:Trailer Hitch Platform Missing Bolts

Models:1994 C/K Models 10753 and 20753 (RPO VR4 -- Pontiac East)



The Highway Safety Act, as amended, provides that each vehicle which is subject to a recall campaign of this type must be adequately repaired within a reasonable time after the customer has tendered it for repair. A failure to repair within sixty (60) days after tender of a vehicle is prima facie evidence of failure to repair within a reasonable time.

If the condition is not adequately repaired within a reasonable time, the customer may be entitled to an identical or reasonably equivalent vehicle at no charge or to a refund of the purchase price less a reasonable allowance for depreciation.

To avoid having to provide these burdensome remedies, every effort must be made to promptly schedule an appointment with each customer and to repair their vehicle as soon as possible. As you will see in reading the attached copy of the divisional letter that is being sent to customers, the customers are being instructed to contact the appropriate Customer Assistance Center if their dealer does not remedy the condition within five (5) days of the mutually agreed upon service date. If the condition is not remedied within a reasonable time, they are instructed on how to contact the National Highway Traffic Safety Administration.

Defect Involved

General Motors has decided that a defect which relates to motor vehicle safety exists in certain 1994 Chevrolet C/K short-box extended cab pickup model vehicles equipped with a weight distribution trailer hitch (VR4). Some of these vehicles exhibit a condition in which the vehicles were shipping with only two of three specified trailer hitch fasteners per side. Under maximum towing conditions, the existing fasteners could loosen, fail, and, if towing, a trailer could separate from the truck and cause a vehicle crash..

To prevent the possibility of this condition occurring, dealers are to install a bolt, two washers and a nut on each side of the trailer hitch platform.

Vehicles Involved

Involved are certain 1994 Chevrolet C/K short-box extended car pickup model vehicles built at the Pontiac East Assembly Plant within the following VIN breakpoints:

Year

Division

Model

Plant

Plant Code

From

Through

1994

Chevrolet

C/K Truck

Pontiac East

E

RE102687

RE149354

Involved vehicles have been identified by Vehicle Identification Number. Computer listings containing the complete Vehicle Identification Number, customer name and address data have been prepared, and are being furnished to involved dealers with the campaign bulletin. The customer name and address data furnished will enable dealers to follow-up with customers involved in this campaign. Any dealer not receiving a computer listing with the campaign bulletin has no involved vehicles currently assigned.

These dealer listings may contain customer names and addresses obtained from State Motor Vehicle Registration Records. The use of such motor vehicle registration data for any other purpose is a violation of law in several states. Accordingly, you are urged to limit the use of this listing to the follow-up necessary to complete this campaign.

Customer Notification

Customers will be notified of this campaign on their vehicles by General Motors (see copy of typical customer letter included with this bulletin - actual divisional letter may vary slightly).

Dealer Campaign Responsibility

All unsold new vehicles in dealers' possession and subject to this campaign MUST be held and inspected/repaired per the service procedure of this campaign bulletin BEFORE customers take possession of these vehicles.

Dealers are to service all vehicles subject to this campaign at no charge to customers, regardless of mileage, age of vehicle, or ownership, from this time forward.

Customers who have recently purchased vehicles sold from your vehicle inventory, and for which there is no customer information indicated on the dealer listing, are to be contacted by the dealer. Arrangements are to be made to make the required correction according to the instructions contained in this bulletin. This could be done by mailing to such customers a copy of the customer letter accompanying this bulletin. Campaign follow-up cards should not be used for this purpose, since the customer may not as yet have received the notification letter.

In summary, whenever a vehicle subject to this campaign enters your vehicle inventory, or is in your dealership for service in the future, please take the steps necessary to be sure the campaign correction has been made before selling or releasing the vehicle.

Parts Information

Parts required to complete this campaign are to be obtained from General Motors Service Parts Operations (GMSPO). To ensure these parts will be obtained as soon as possible, they should be ordered from GMSPO on a C.I.O. order with no special instruction code, but on an advise code (2).

Part Number

Description

Qty

11509421

Trailer Hitch Bolt

2

15531205

Washer

4

11515750

Nut

2

Service Procedure


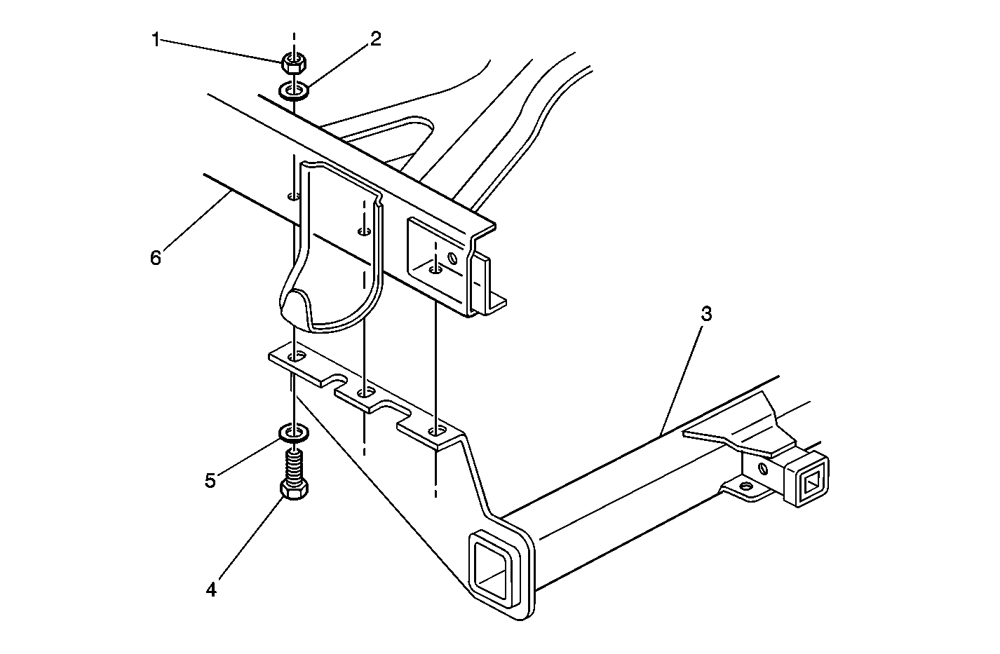
    Object Number: 654054  Size: MF
  1. Insert a bolt (4), two washers (2, 5) and a nut (1) where needed on EACH SIDE of the weight distribution trailer hitch (3).
  2. Tighten both bolts (left side and right side) installed in the previous step.
  3. Tighten
    Tighten the bolts to 80-100 N·m (59-74 lb ft).

  4. Verify the other weight distribution trailer hitch bolts are tightened to 80-100 N·m (59-74 lb ft).
  5. Install the GM Campaign Identification Label.

Campaign Identification Label

Each vehicle corrected in accordance with the instructions outlined in this Product Campaign Bulletin will require a "Campaign Identification Label". Each label provides a space to include the campaign number and the five (5) digit dealer code of the dealer performing the campaign service. This information may be inserted with a typewriter or a ball point pen.

Each "Campaign Identification Label" is to be located on the radiator core support in an area which will be visible when the vehicle is brought in by the customer for periodic servicing. When installing the Campaign Identification Label, be sure to pull the tab to allow the adhesion of the clear protective covering. Additional Campaign Identification Labels can be obtained from VISPAC Incorporated by calling 1-800-269-5100 (Monday-Friday, 8:00 am to 4:30 pm Eastern Standard Time). Ask for Item Number S-1015 when ordering.

Apply the "Campaign Identification Label" only on a clean, dry surface.

Claim Information

Submit a Product Campaign Claim with the information indicated below. Refer to the General Motors Corporation Claims Processing Manual for details on Product Campaign Claim Submission.

Dealers will automatically receive the correct labor and material allowance based on the labor operation performed.

Repair Performed

Part Count

Failed Part No.

Parts Allow

CC-FC

Labor Op

Labor Hours*

Install and tighten two (2) new fasteners. Verify torque of other four (4) fasteners.

8

11509421

**

SK-00

V8820

0.3

* -- For Campaign Administrative Allowance, add 0.1 hours to the "Labor Hours".

** -- The "Parts Allowance" should be the sum total of the current GMSPO Dealer Net price plus 40% of all parts needed to complete the repair.

April, 1994

DearChevrolet C/K Pickup Customer:

This notice is sent to you in accordance with the requirements of the National Traffic and Motor Vehicle Safety Act.

Reason For This Recall

General Motors has determined that a defect which relates to motor vehicle safety exists in CERTAIN 1994 Chevrolet C/K short-box extended cab pickup trucks equipped with a weight distribution trailer hitch (VR4) option. Some of these pickup trucks were shipped with only two of three specified trailer hitch fasteners per side. Under maximum towing conditions, the existing fasteners could loosen, fail and, if towing, a trailer could separate from the truck and cause a vehicle crash.

What Will Be Done

To prevent this condition from occurring, your dealer will install a bolt, two washers and a nut on each side of the trailer hitch platform. This service will be performed for you at no charge .

Contacting Your Dealer

Please contact your Chevroletdealer as soon as possible to arrange a service date. Parts are available and instructions for making this correction have been sent to your dealer. The labor time necessary to perform this service correction is approximately 20 minutes. Please ask your dealer if you wish to know how much additional time will be needed to schedule, process, and repair your vehicle.

Your Chevrolet dealer is best equipped to obtain parts and provide services to correct your vehicle as promptly as possible. Should your dealer be unable to schedule a service date within a reasonable time, you should contact the appropriate Customer Assistance/Relations Center at the number listed below:

Division

Number

Deaf, Hearing Impaired, or Speech Impaired*

Buick

1-800-521-7300

1-800-832-8425

Cadillac

1-800-458-8006

1-800-833-2622

Chevrolet

1-800-222-1020

1-800-833-2438

GMC

1-800-462-8782

1-800-462-8583

Pontiac

1-800-762-2737

1-800-833-7668

Oldsmobile

1-800-442-6537

1-800-833-6537

* Utilizes Telecommunication Devices for the Deaf/Text Telephones (TDD/TTY)

If, after contacting the appropriate customer assistance center, you are still not satisfied that we have done our best to remedy this condition without charge and within a reasonable time, you may wish to write the Administrator, National Highway Traffic Safety Administration, 400 Seventh Street SW, Washington, DC 20590 or call 1-800-424-9393 (Washington, DC residents use 202-366-0123).

Customer Reply Card

The enclosed customer reply card identifies your vehicle. Presentation of this card to your dealer will assist in making the necessary correction in the shortest possible time. If you no longer own this vehicle, please let us know by completing the postage paid reply card and returning it to us.

We are sorry to cause you this inconvenience; however, we have taken this action in the interest of your safety and continued satisfaction with our products.

Chevrolet Motor Division

General Motors Corporation

Enclosure