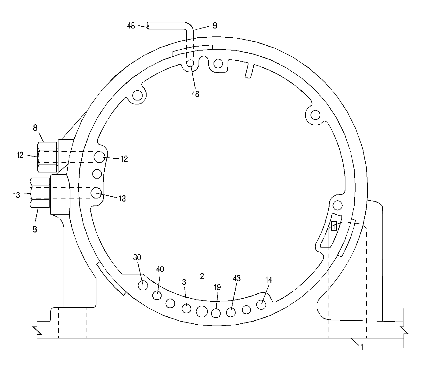
| Figure 1: |
Possible Fluid Leak Points
|
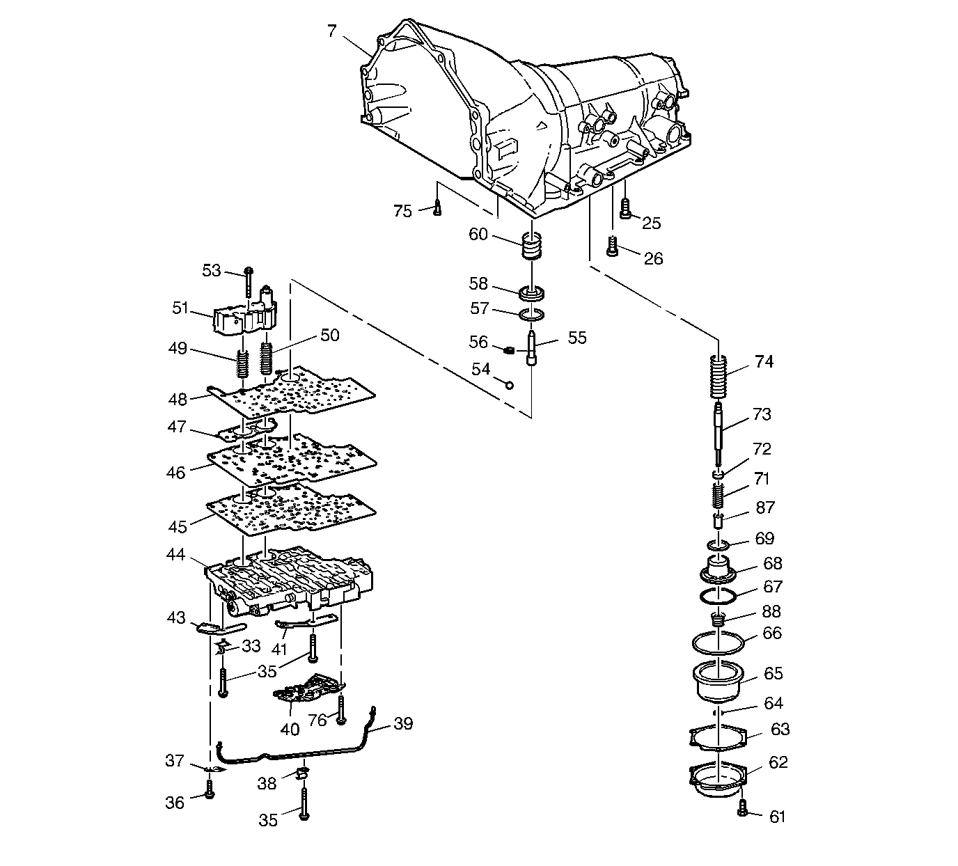
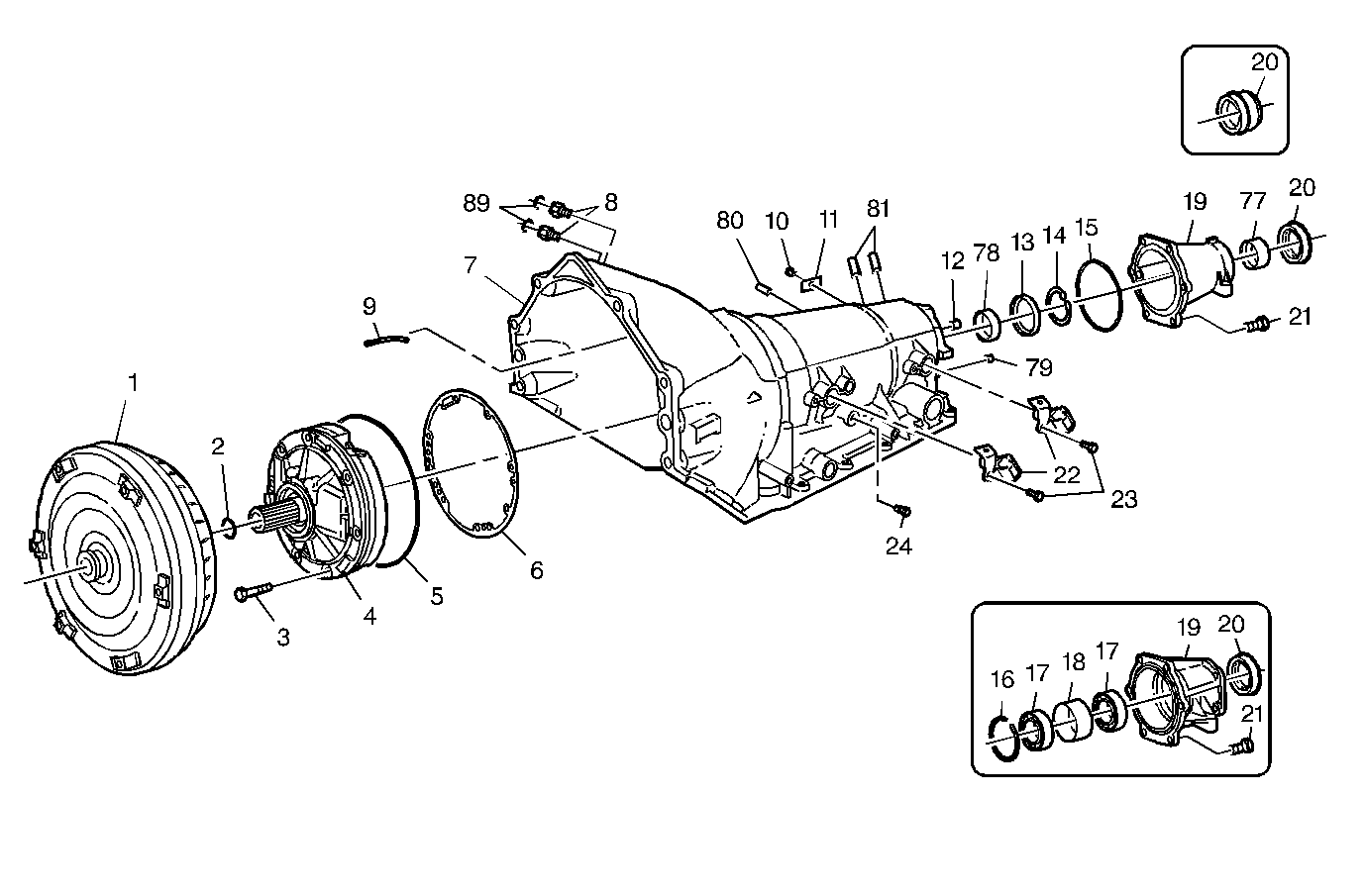
| Figure 2: |
Case and Associated Parts (1 of 3)
|
| Figure 3: |
Case and Associated Parts (2 of 3)
|
| Figure 4: |
Case and Associated Parts (3 of 3)
|
| Figure 5: |
Oil Pump Assembly
|
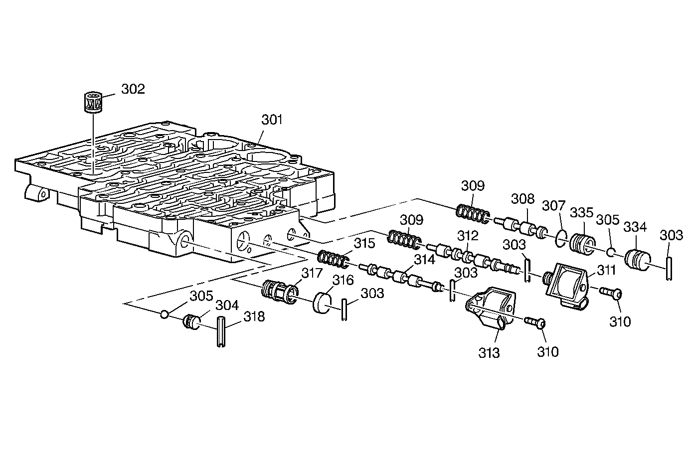
| Figure 6: |
Control Valve Body Assembly (1 of 2)
|
| Figure 7: |
Control Valve Body Assembly (2 of 2)
|
| Figure 8: |
Accumulator Assembly
|
| Figure 9: |
Overrun Clutch Assembly
|
| Figure 10: |
Fourth Clutch Assembly
|
| Figure 11: |
Forward Clutch Assembly
|
| Figure 12: |
Direct Clutch and Intermediate Sprag Assembly
|
| Figure 13: |
Intermediate Clutch Plates and Manual 2-1 Band Assembly
|
| Figure 14: |
Center Support and Gear Unit Assembly
|
| Figure 15: |
Parking Lock and Actuator Assembly
|
| Figure 16: |
Output Shaft Identification Chart
|
| Figure 17: |
Bushing and Bearing Locations
|
| Figure 18: |
Seal Locations
|
| Figure 19: |
Pump Body Fluid Passages (Pump Cover Side)
|
| Figure 20: |
Pump Cover Fluid Passages (Pump Body Side)
|
| Figure 21: |
Pump Cover Fluid Passages (Case Side)
|
| Figure 22: |
Case Fluid Passages (Pump Cover Side)
|
| Figure 23: |
Case Fluid Passages (Control Valve Body Side)
|
| Figure 24: |
Spacer Plate to Case Gasket with Accumulator Housing Gasket
|
| Figure 25: |
Spacer Plate
|
| Figure 26: |
Spacer Plate to Control Valve Body Gasket
|
| Figure 27: |
Control Valve Body Fluid Passages (Case Side)
|