GM Service Manual Online
For 1990-2009 cars only

Tools Required

    • J 23327 Clutch Spring Compressor
    • J 25018-A Clutch Spring Compressor Adapter

    Object Number: 31063  Size: SH
  1. Remove the direct clutch hub retaining ring (616).
  2. Remove the direct clutch hub (615).
  3. Remove the forward clutch hub thrust washer (614) (plastic).
  4. Remove the forward clutch hub (613).
  5. Remove the forward clutch hub thrust washer (612) (bronze). The washer may stick to the housing.
  6. Inspect the direct clutch hub for the following:
  7. • Spline wear
    • Open lubrication holes
    • A damaged clutch surface

    Object Number: 31065  Size: SH
  8. Remove the steel and composite clutch plates (610, 611).
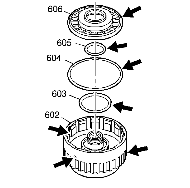
  9. Remove the forward clutch apply plate (609).
  10. Inspect the clutch plates for the following:
  11. • Burning
    • Scoring
    • Flaking
    • Pitting
    • Wear

    Object Number: 31066  Size: SH
  12. Use J 23327 and J 25018-A in order to remove the forward clutch spring retainer ring (608).
  13. Remove the tools.
  14. Remove the spring assembly (607).
  15. Inspect the springs for collapsed coils and distortion.

  16. Object Number: 31067  Size: SH
  17. Remove the forward clutch piston (606).
  18. Remove the forward clutch piston inner (605) and outer (604) piston seals.
  19. Inspect the forward clutch piston for cracks.
  20. Inspect the forward clutch piston seals for cuts, tears, and nicks.
  21. Remove the forward clutch center seal (603) from the forward clutch housing.
  22. Inspect the seal for cuts, tears, and nicks.
  23. Inspect the forward clutch housing for the following:
  24. • Wear
    • Open lubrication holes
    • Damaged thrust faces
    • Free operation of checkball (rattles)