GM Service Manual Online
For 1990-2009 cars only

Tools Required

    • J 38734 Adapter
    • J 23327 Clutch Piston Spring Compressor

    Object Number: 31111  Size: SH
  1. Separate the overdrive carrier assembly (514) from the overrun clutch housing assembly (504).

  2. Object Number: 31112  Size: SH
  3. Remove the overrun clutch backing plate retainer ring (511).

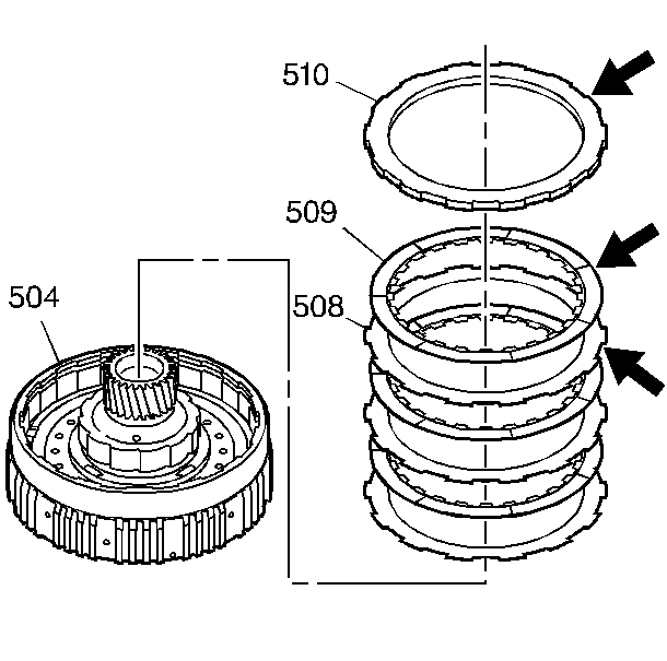
  4. Object Number: 31113  Size: SH
  5. Remove the overrun clutch backing plate (510) and the overrun clutch plates (508, 509) (3 steel and 3 composite).
  6. Inspect the overrun clutch plates for burning, scoring, flaking, pitting, and wear.

  7. Object Number: 31115  Size: SH
  8. Remove the overrun clutch spring assembly (506). Use the J 23327 and the J 38734 .
  9. Remove the overrun clutch spring retainer ring (507).
  10. Remove the tools.
  11. Remove the overrun clutch spring assembly (506).
  12. Remove the overrun clutch piston (505).

  13. Object Number: 31116  Size: SH
  14. Inspect the overrun clutch springs (506) for collapsed coils and distortion.
  15. Inspect the overrun clutch piston (505) for cracks and a cut seal.
  16. Inspect the overrun clutch housing (504) for wear, open lubrication holes, and damaged thrust surfaces.