GM Service Manual Online
For 1990-2009 cars only
Makes
🢒
Chevrolet
🢒
1996
🢒
Chevy C Pickup - 2WD
🢒
Transmission/Transaxle
🢒
Automatic Transmission - 4L80-E
🢒 Control Valve Body Assembly Assemble
Install the 3-4 shift valve spring (309).
Install the 3-4 shift valve (308).
Install the third ball valve bushing (335) and seal (307).
Instal the third reverse ball valve (305).
Install the reverse ball valve bushing (334).
Install the third reverse ball valve seat pin (303).
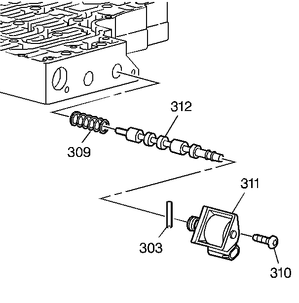
Install the 2-3 shift valve spring (309).
Install the 2-3 shift valve (312).
Install the 2-3 shift valve pin (303).
Install the 2-3 shift valve solenoid (311).
Install the 2-3 shift valve solenoid bolt (310).
Tighten
Tighten the bolt to 8 N·m (71 lb in).
Install the 1-2 shift valve spring (315).
Install the 1-2 shift valve (314).
Install the 1-2 shift valve pin (303).
Install the 1-2 shift valve solenoid (313).
Install the 1-2 shift valve solenoid bolt (310).
Tighten
Tighten the bolt to 8 N·m (71 lb ft).
Install the shift valve fluid filter (317).
Install the shift valve fluid filter bore plug (316).
Install the shift valve fluid filter bore plug pin (303).
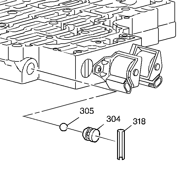
Install the low-reverse ball valve (305).
Install the low-reverse ball valve seat (304).
Install the low-reverse ball valve seat pin (318).
Install the pressure control solenoid fluid filter (302).
Install the accumulator valve (331).
Install the accumulator valve spring (330).
Install the accumulator valve bore plug (329).
Install the accumulator valve bore plug retainer pin (303).
Install the actuator limit valve (328).
Install the actuator limit valve spring (327).
Install the actuator limit valve spring retainer (333).
Install the TCC regulator apply valve spring (325).
Install the TCC regulator apply valve (324).
Install the TCC regulator apply valve pin (303).
Install the TCC PWM solenoid (323).
Install the TCC PWM solenoid retainer (322).
Install the pressure control solenoid (320) with the electrical connector facing away from the valve body.
Install the pressure control solenoid clamp (321).
Install the pressure control solenoid clamp bolt (310).
Tighten
Tighten the bolt to 8 N·m (71 lb in).