GM Service Manual Online
For 1990-2009 cars only

REAR AXLE VENT LEAK (RELOCATE REAR AXLE VENT TUBE)

REVISION: 11/14/96

THIS BULLETIN IS BEING REVISED TO ADD THE 1996 MODEL YEAR. PLEASE DISCARD CORPORATE BULLETIN NUMBER 56-42-03 (SECTION 4 - DRIVE AXLE) ----------------------------------------------------------------------

SUBJECT: REAR AXLE VENT LEAK (RELOCATE REAR AXLE VENT TUBE)

MODELS: 1993-96 CHEVROLET AND GMC C/K 2,3 MODELS WITH 10.5" REAR AXLES

CONDITION:

SOME OWNERS MAY COMMENT ABOUT AN OIL SOAKED LOAD FLOOR OR OIL LEAKING FROM THE REAR AXLE VENT.

CORRECTION:

FOLLOWING THE INSTRUCTIONS GIVEN BELOW, RELOCATE THE REAR AXLE VENT TUBE TO THE AXLE TUBE.

SERVICE PROCEDURE:

1. RAISE THE VEHICLE AND SUPPORT WITH SUITABLE SAFETY STANDS.

2. DISCONNECT THE VENT HOSE FROM THE VENT TUBE AND REMOVE THE VENT TUBE.

3. PLUG THE EXISTING VENT HOLE WITH WELD BOND EPOXY SUCH AS J. B. WELD OR EQUIVALENT FOLLOWING THE MANUFACTURER'S INSTRUCTIONS.

4. REMOVE THE DRIVER'S SIDE AXLE SHAFT FOLLOWING THE PROCEDURE IN SECTION 4B1 OF THE APPROPRIATE YEAR SERVICE MANUAL.

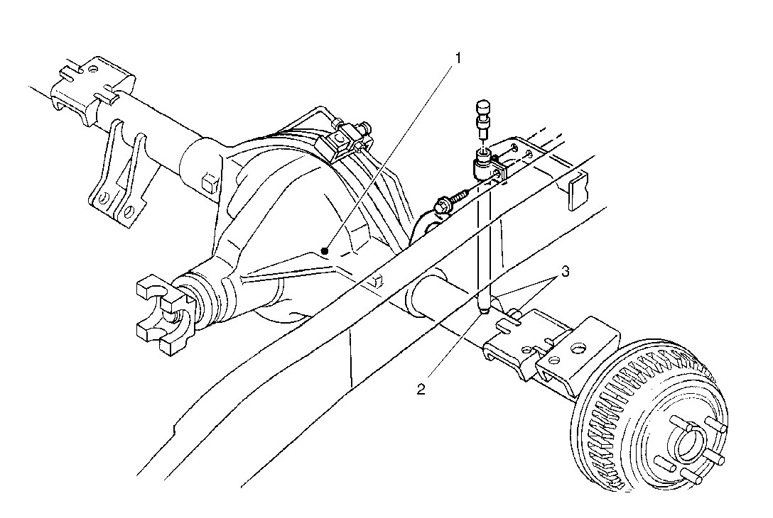
5. LOCATE THE SHOCK MOUNT BRACKET ON THE DRIVER'S SIDE AXLE TUBE (FIGURE 1). AT THE TOP OF THE AXLE TUBE, PARALLEL TO THE CENTER OF THE SHOCK BRACKET, DRILL A 3/8" HOLE IN THE AXLE TUBE.

NOTICE: PRECAUTION SHOULD BE TAKEN TO ENSURE THAT NO METAL FRAGMENTS ENTER THE AXLE TUBE. USE A MAGNET WHEN DRILLING TO LIFT AND CATCH THE METAL FILINGS. APPLY WHEEL BEARING GREASE TO THE DRILL BIT BEFORE BREAKING THROUGH THE AXLE TUBE.

6. USING A 12MM SOCKET, DRIVE A NEW VENT TUBE (P/N 14072930) INTO THE AXLE TUBE AT THE LOCATION DRILLED IN STEP 5. SEAL THE BASE OF THE VENT TUBE WITH RTV SEALANT (P/N 12345739).

7. USE AN EXTENDABLE MAGNET TOOL TO CAPTURE ANY METAL FRAGMENTS THAT MAY HAVE FALLEN INTO THE AXLE TUBE AND THEN RE-INSTALL THE DRIVER'S SIDE AXLE SHAFT FOLLOWING THE PROCEDURE IN SECTION 4B1 OF THE APPROPRIATE YEAR SERVICE MANUAL.

8. CUT APPROXIMATELY 8.5" (216MM) OFF THE EXISTING VENT HOSE AND DISCARD AFTER VERIFYING THAT ENOUGH VENT HOSE WILL REMAIN TO ALLOW FOR AXLE MOVEMENT. CLAMP THE REMAINING HOSE ONTO THE NEW AXLE VENT TUBE INSTALLED IN STEP 7.

9. CHECK THE REAR AXLE FLUID LEVEL. ADD FLUID IF NECESSARY (P/N 1052271 80W-90 GL-5).

10. LOWER THE VEHICLE AND TEST DRIVE.

PARTS INFORMATION:

P/N DESCRIPTION QTY 14072930 VENT TUBE 1 12345739 RTV SEALANT AS REQUIRED 1052271 REAR AXLE LUBRICATING OIL AS REQUIRED

PARTS ARE CURRENTLY AVAILABLE FROM GMSPO.

WARRANTY INFORMATION:

FOR VEHICLES REPAIRED UNDER WARRANTY, USE:

LABOR OP DESCRIPTION LABOR TIME F3270 REAR VENT REPLACE USE PUBLISHED F1531 LEFT AXLE SHAFT R&R LABOR OPERATION TIME

FIGURES: 1

CAPTIONS: FIGURE 1 - NEW REAR AXLE VENT LOCATION 1. OLD LOCATION 2. NEW LOCATION 3. SHOCK BRACKET


Object Number: 82755  Size: FS

GENERAL MOTORS BULLETINS ARE INTENDED FOR USE BY PROFESSIONAL TECHNICIANS, NOT A "DO-IT-YOURSELFER". THEY ARE WRITTEN TO INFORM THOSE TECHNICIANS OF CONDITIONS THAT MAY OCCUR ON SOME VEHICLES, OR TO PROVIDE INFORMATION THAT COULD ASSIST IN THE PROPER SERVICE OF A VEHICLE. PROPERLY TRAINED TECHNICIANS HAVE THE EQUIPMENT, TOOLS, SAFETY INSTRUCTIONS AND KNOW-HOW TO DO A JOB PROPERLY AND SAFELY. IF A CONDITION IS DESCRIBED, DO NOT ASSUME THAT THE BULLETIN APPLIES TO YOUR VEHICLE, OR THAT YOUR VEHICLE WILL HAVE THAT CONDITION. SEE A GENERAL MOTORS DEALER SERVICING YOUR BRAND OF GENERAL MOTORS VEHICLE FOR INFORMATION ON WHETHER YOUR VEHICLE MAY BENEFIT FROM THE INFORMATION.

COPYRIGHT 1996 GENERAL MOTORS CORPORATION. ALL RIGHTS RESERVED.