GM Service Manual Online
For 1990-2009 cars only
Makes
🢒
Chevrolet
🢒
1996
🢒
Chevy C Pickup - 2WD
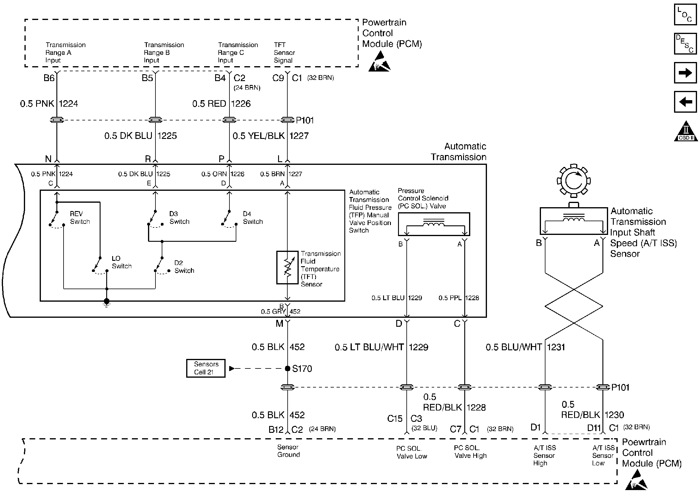
🢒 Transmission Range Switch, TFT, Pressure Control Solenoid, and ISS
Transmission Range Switch, TFT, Pressure Control Solenoid, and ISS
Transmission Range Switch, TFT, Pressure Control Solenoid, and ISS
Handling ESD Sensitive Parts Notice
Handling ESD Sensitive Parts Notice
Engine Controls Components
Information Sensors
HAVOC System
Transmission Shift Solenoids, Brake, and Clutch Switch
OBD II Symbol Description Notice