GM Service Manual Online
For 1990-2009 cars only

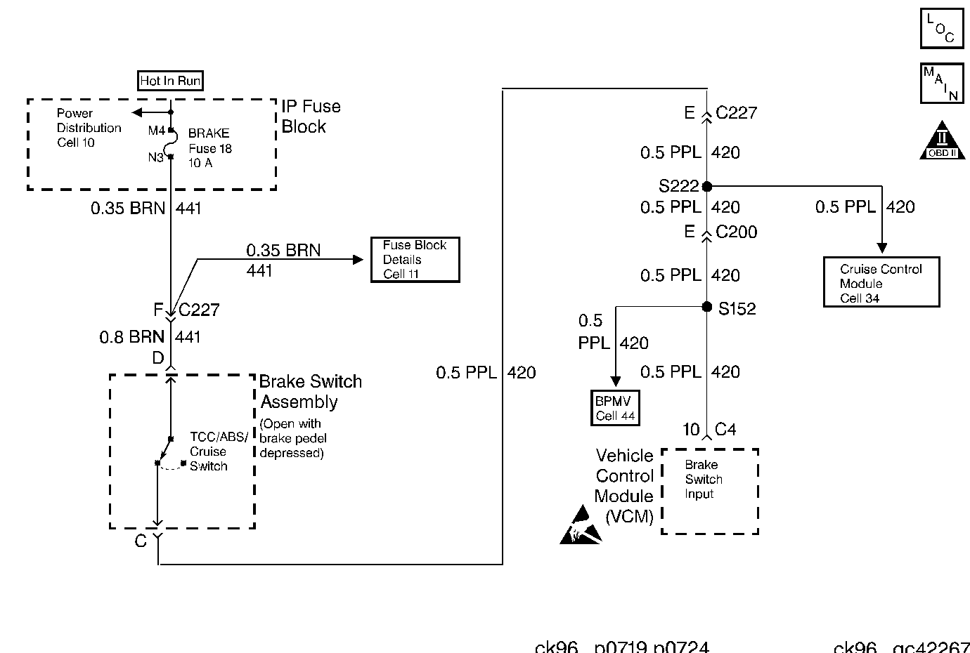
Object Number: 42267  Size: MF
Automatic Transmission Components In Transmission Components
Automatic Transmission Controls Schematics Thumbnails
OBD II Symbol Description Notice
Handling ESD Sensitive Parts Notice

Circuit Description

The brake switch indicates the brake pedal status. The brake switch is normally-closed. The brake switch supplies a B+ signal on circuit 420 to the VCM. The signal voltage circuit is opened when you apply the brakes. The VCM uses this signal in order to de-energize the TCC Sol. Valve when you apply the brakes.

When the VCM detects a closed brake switch during decelerations, then DTC P0724 sets. DTC P0724 is a type D DTC.

Conditions for Setting the DTC

    • No VSS Assy. DTC P0502
    • The VCM detects a closed brake switch circuit (12 volts) without going on for 2 seconds and the following events occur seven consecutive times:
       - The vehicle speed is greater than 32 km/h (20 mph) for 6 seconds;
       - then the vehicle speed is between 8-32 km/h (5-20 mph) for 4 seconds;
       - then the vehicle speed is less than 8 km/h (5 mph).

Action Taken When the DTC Sets

    • The VCM freezes shift adapts from being updated.
    • The VCM does not illuminate the Malfunction Indicator Lamp (MIL).

Conditions for Clearing the DTC

    • A scan tool can clear the DTC from the VCM history. The VCM clears the DTC from the VCM history if the vehicle completes 40 warm-up cycles without a failure reported.
    • The VCM cancels the DTC default actions when the fault no longer exists and the ignition is OFF long enough in order to power down the VCM.

Diagnostic Aids

    • Inspect the wiring for poor electrical connections at the VCM. Inspect the wiring for poor electrical connections at the brake switch. Look for the following conditions:
       - A bent terminal
       - A backed out terminal
       - A damaged terminal
       - Poor terminal tension
       - A chafed wire
       - A broken wire inside the insulation
    • When diagnosing for an intermittent short or open condition, massage the wiring harness while watching the test equipment for a change.
    • Ask about the customer's driving habits. Ask about unusual driving conditions (e.g. stop and go, expressway, etc.).
    • Inspect the brake switch for proper mounting and adjustment.

Test Description

The numbers below refer to the step numbers on the diagnostic chart.

  1. This step isolates the brake switch as a source for setting the DTC.

DTC P0724 Brake Switch Circuit -- High Input

Step

Action

Value(s)

Yes

No

1

Was the Powertrain On-Board Diagnostic (OBD) System Check performed?

--

Go to Step 2

Go to

Powertrain On Board Diagnostic (OBD) System Check (4.3L)

Powertrain On Board Diagnostic (OBD) System Check (5.0L and 5.7L)

2

  1. Install the scan tool (tech 1) ®.
  2. With the engine OFF, turn the ignition switch to the RUN position.
  3. Important: Before clearing the DTCs, use the scan tool in order to record the Freeze Frame and Failure Records for reference. The Clear Info function will erase the data.

  4. Record the DTC Freeze Frame and Failure Records.
  5. Select Brake Switch on the scan tool.
  6. Disconnect the brake switch connector from the brake switch.

Did the brake switch status change from Closed to Open?

--

Go to Step 3

Go to Step 4

3

Replace the brake switch.

Refer to Brake Switch Replacement.

Is the replacement complete?

--

Go to Step 6

--

4

Inspect circuit 420 for a short to B+.

Refer to Electrical Diagnosis, Section 8.

Did you find a problem?

--

Go to Step 6

Go to Step 5

5

Replace the VCM. Refer to Section 6:

VCM Replacement/Programming (4.3L)

VCM Replacement/Programming (5.0L and 5.7L)

Is the replacement complete?

--

Go to Step 6

--

6

In order to verify your repair, perform the following procedure:

  1. Select DTC.
  2. Select Clear Info.
  3. Ensure the following conditions are met:
  4. • With the engine OFF, the ignition switch is in the RUN position.
    • The brake pedal is applied.
    • The VCM brake switch signal indicates Open (0 volts) for 2 seconds.
  5. Select Specific DTC. Enter DTC P0724.

Has the test run and passed?

--

System OK

Begin the diagnosis again. Go to Step 1