GM Service Manual Online
For 1990-2009 cars only

DTC P1860 TCC PWM Solenoid Circuit Electrical 5.7L and 7.4L Gas


Object Number: 40798  Size: MF
Automatic Transmission Components 5.7L and 7.4L Gas
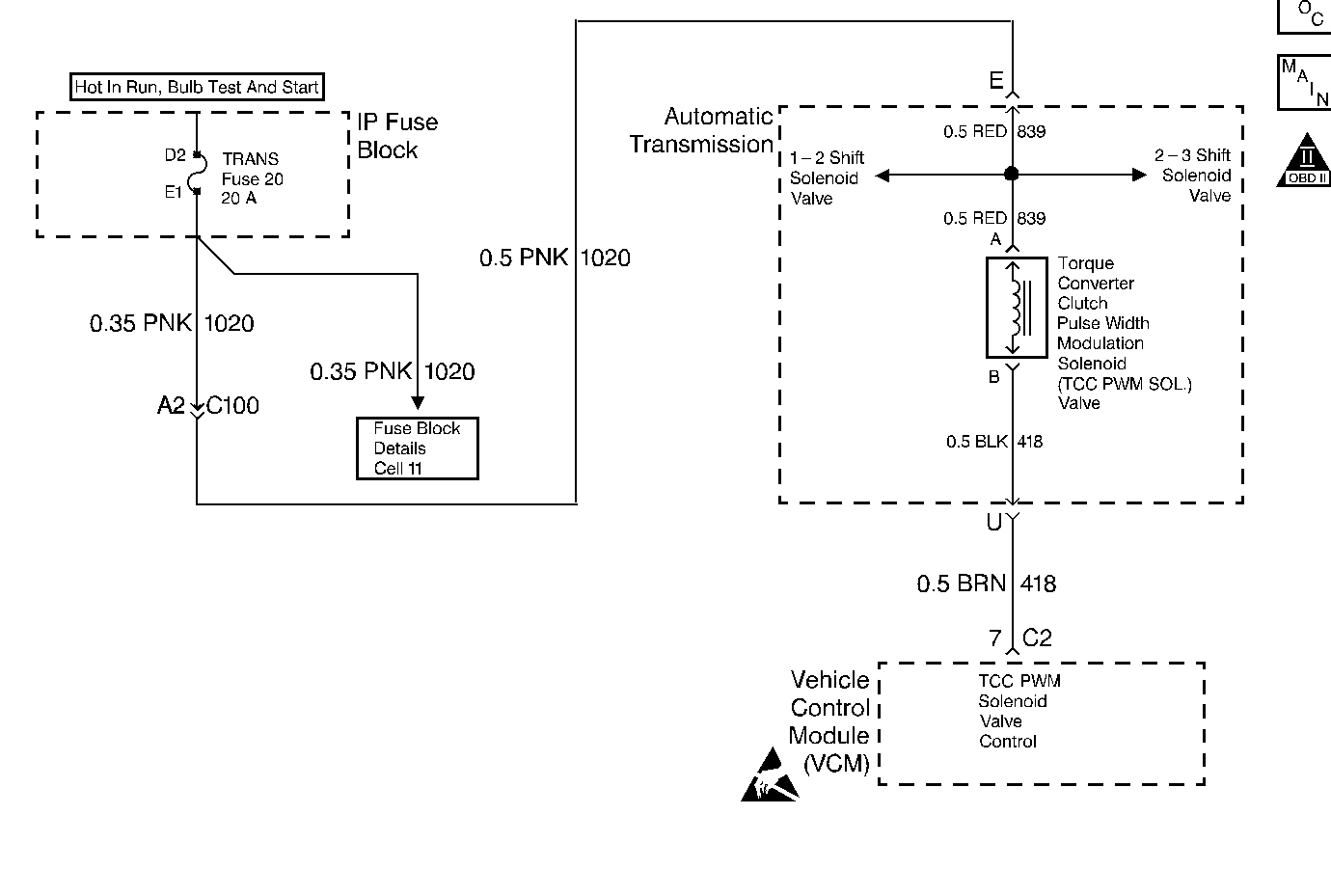
Automatic Transmission Controls Schematics 5.7L and 7.4L
OBD II Symbol Description Notice
Handling ESD Sensitive Parts Notice

Circuit Description

The TCC PWM Solenoid Valve controls fluid acting on the converter clutch valve, which then controls TCC apply and release. The TCC PWM Sol. Valve attaches to the control valve body within the transmission. Ignition voltage goes directly to the TCC PWM Sol. Valve. The VCM controls the TCC PWM Sol. Valve by providing a ground path on circuit 418. The current flows through the TCC PWM Sol. Valve coil according to the duty cycle (percentage of ON time). The TCC PWM Sol. Valve provides a smooth engagement of the torque converter clutch by operating on a duty cycle percent of ON time.

When the VCM detects a continuous open or short in the TCC PWM Sol. Valve circuit or the TCC PWM Sol. Valve, then DTC P1860 sets. DTC P1860 is a type D DTC. For California emission vehicles DTC P1860 is a type A DTC.

Conditions for Setting the DTC

    • No system voltage DTC P0560.
    • The ignition is ON.
    • No shift solenoid DTCs P0751, P0753, P0756, or P0758.
    • The VCM commands the solenoid to 0% and the voltage remains low (zero volts).
    • The brake switch is OFF.
    • All conditions are met for 5 seconds.

Action Taken When the DTC Sets

    • The VCM inhibits TCC engagement.
    • The VCM inhibits 4th gear.
    • The VCM freezes shift adapts from being updated.
    • The VCM illuminates the Malfunction Indicator Lamp.

Conditions for Clearing the DTC

  1. For California emissions vehicles, the VCM turns OFF the MIL after three consecutive ignition cycles without a failure reported.
  2. A scan tool can clear the DTC from the VCM history. The VCM clears the DTC from the VCM history if the vehicle completes 40 warm-up cycles without a failure reported.
  3. The VCM cancels the DTC default actions when the fault no longer exists and the ignition is OFF long enough in order to power down the VCM.

Diagnostic Aids

    • Inspect the wiring for poor electrical connections at the VCM. Inspect the wiring for poor electrical connections at the transmission 20-way connector. Look for the following conditions:
       - A bent terminal
       - A backed out terminal
       - A damaged terminal
       - Poor terminal tension
       - A chafed wire
       - A broken wire inside the insulation
    • When diagnosing for an intermittent short or open condition, massage the wiring harness while watching the test equipment for a change.
    • First diagnose and clear any engine DTCs or TP Sensor codes that are present. Then inspect for any transmission DTCs that may have reset.

Test Description

The numbers below refer to the step numbers on the diagnostic table.

  1. This step tests for voltage to the TCC PWM Sol. Valve.

  2. This step tests the ability of the VCM and wiring to control the ground circuit.

  3. This step tests the resistance of the TCC PWM Sol. Valve and the internal wiring harness.

P1860

Step

Action

Value(s)

Yes

No

1

Was the Powertrain On-Board Diagnostic (OBD) System Check performed?

--

Go to Step 2

Go to Powertrain On Board Diagnostic (OBD) System Check

2

  1. Install the scan tool (tech 1) ®.
  2. With the engine OFF, turn the ignition switch to the RUN position.
  3. Important: Before clearing the DTCs, use the scan tool in order to record the Freeze Frame and Failure Records for reference. The Clear Info function will erase the data.

  4. Record the DTC Freeze Frame and Failure Records.
  5. If DTCs P0753, P0758, or P1860 are set, inspect the fuse.

Is the fuse open?

--

Go to Step 3

Go to Step 4

3

Inspect circuit 1020 and the TCC PWM Sol. Valve.

Refer to Electrical Diagnosis, Section 8.

Did you find and correct a problem?

-

Go to Step 16

--

4

  1. Turn the ignition OFF.
  2. Disconnect the transmission 20-way connector (additional DTCs may set).
  3. Install the J 39775 Jumper Harness on the engine harness connector.
  4. With the engine off, turn the ignition to the RUN position.
  5. Connect a test lamp from the J 39775 Jumper Harness cavity E to ground.

Is the test lamp ON?

--

Go to Step 6

Go to Step 5

5

Repair the open or short to ground located in ignition voltage feed circuit 1020 to the TCC PWM Sol. Valve.

Refer to Electrical Diagnosis, Section 8.

Is the repair complete?

--

Go to Step 16

--

6

  1. Install the test lamp from cavities E to S of the J 39775 Jumper Harness.
  2. Command the TCC PWM Sol. Valve ON and OFF three times.

Does the test lamp turn ON when you command the TCC PWM Sol. Valve ON, and does the lamp turn OFF when you command the TCC PWM Sol. Valve OFF?

--

Go to Step 8

Go to Step 7

7

  1. Inspect circuit 418 for an open or short to ground.
  2. Repair the circuit if necessary.

Refer to Electrical Diagnosis, Section 8.

Did you find a problem?

--

Go to Step 16

Go to Step 9

8

  1. Install the J 39775 Jumper Harness on the transmission 20-way connector.
  2. Automatic Transmission Connector End View

  3. Measure the resistance between terminals E and S. Use the J 39200 DVOM and the J 35616-A Connector Test Adapter Kit.

Is the resistance within the specified values?

10-15ohms

Go to Step 11

Go to Step 10

9

Replace the VCM.

Refer to VCM Replacement/Programming , Section 6.

Is the replacement complete?

--

Go to Step 16

--

10

  1. Disconnect the internal wiring harness at the TCC PWM Sol. Valve.
  2. Measure the resistance of the TCC PWM Sol. Valve.

Is the resistance within the specified values?

10-15ohms

Go to Step 12

Go to Step 15

11

Measure the resistance between terminal E and ground and terminal S and ground.

Are both readings greater than the specified value?

250ohms

Go to Diagnostic Aids

Go to Step 13

12

  1. Inspect the internal wiring harness for an open circuit.
  2. Repair the harness if necessary.

Refer to Electrical Diagnosis, Section 8.

Did you find and correct a problem?

--

Go to Step 16

--

13

  1. Disconnect the internal wiring harness at the TCC PWM Sol. Valve.
  2. Measure the resistance between each of the component terminals and ground.

Are both readings greater than the specified value?

250ohms

Go to Step 14

Go to Step 15

14

  1. Inspect the internal wiring harness for a short to ground.
  2. Repair the harness if necessary.

Refer to Electrical Diagnosis, Section 8.

Did you find and correct a problem?

--

Go to Step 16

--

15

Replace the TCC PWM Sol. Valve.

Refer to Torque Converter Clutch Pulse Width Modulation Solenoid Valve Replacement, in On-Vehicle Service.

Is the replacement Complete?

--

Go to Step 16

--

16

In order to verify your repair, perform the following procedure:

  1. Select DTC.
  2. Select Clear Info.
  3. Operate the vehicle under the following conditions:
  4. • The TCC PWM Sol. Valve is commanded and the volts drop to zero.
    • The TCC PWM Sol. Valve is commanded OFF and the volts increase to B+.
    • All conditions are met for 5 seconds.
  5. Select Specific DTC. Enter DTC P1860.

Has the test run and passed?

--

System OK

Begin the diagnosis again. Go to Step 1

DTC P1860 TCC PWM Solenoid Circuit Electrical 6.5L Diesel


Object Number: 40791  Size: MF
Automatic Transmission Components 6.5L Diesel
Automatic Transmission Controls Schematics 6.5L
OBD II Symbol Description Notice
Handling ESD Sensitive Parts Notice

Circuit Description

The TCC PWM Solenoid Valve controls fluid acting on the converter clutch valve, which then controls TCC apply and release. The TCC PWM Sol. Valve attaches to the control valve body within the transmission. Ignition voltage goes directly to the TCC PWM Sol. Valve. The PCM controls the TCC PWM Sol. Valve by providing a ground path on circuit 418. The current flows through the TCC PWM Sol. Valve coil according to the duty cycle (percentage of ON and OFF time). The TCC PWM Sol. Valve provides a smooth engagement of the torque converter clutch by operating on a duty cycle percent of ON time.

When the PCM detects a continuous open or short to ground in the TCC PWM Sol. Valve circuit or the TCC PWM Sol. Valve, then DTC P1860 sets. DTC P1860 is a type A DTC.

Conditions for Setting the DTC

    • No system voltage DTC P0560.
    • The ignition is ON.
    • No shift solenoid DTCs P0751, P0753, P0756, and P0758.
    • The PCM commands the solenoid to 0% and the voltage remains low (zero volts).
    • All conditions are met for 5 seconds.

Action Taken When the DTC Sets

    • The PCM inhibits TCC engagement.
    • The PCM inhibits 4th gear if in hot mode.
    • The PCM illuminates the Malfunction Indicator Lamp (MIL).

Conditions for Clearing the DTC

  1. The PCM turns OFF the MIL after three consecutive ignition cycles without a failure reported.
  2. A scan tool can clear the DTC from the PCM history. The PCM clears the DTC from the PCM history if the vehicle completes 40 warm-up cycles without a failure reported.
  3. The PCM cancels the DTC default actions when the fault no longer exists and the ignition is OFF long enough in order to power down the PCM

Diagnostic Aids

    • Inspect the wiring for poor electrical connections at the PCM Inspect the wiring for poor electrical connections at the transmission 20-way connector. Look for the following conditions:
       - A bent terminal
       - A backed out terminal
       - A damaged terminal
       - Poor terminal tension
       - A chafed wire
       - A broken wire inside the insulation
    • When diagnosing for an intermittent short or open condition, massage the wiring harness while watching the test equipment for a change.
    • First diagnose and clear any engine DTCs or APP Sensor codes that are present. Then inspect for any transmission DTCs that may have reset.

Test Description

The numbers below refer to the step numbers on the diagnostic table.

  1. This step tests for voltage to the TCC PWM Sol. Valve.

  2. This step tests the ability of the PCM and wiring to control the ground circuit.

  3. This step tests the resistance of the TCC PWM Sol. Valve and the internal wiring harness.

P1860

Step

Action

Value(s)

Yes

No

1

Was the Powertrain On-Board Diagnostic (OBD) System Check performed?

--

Go to Step 2

Go to Powertrain On Board Diagnostic (OBD) System Check

2

  1. Install the scan tool (tech 1) ®.
  2. With the engine OFF, turn the ignition switch to the RUN position.
  3. Important: Before clearing the DTCs, use the scan tool in order to record the Freeze Frame and Failure Records for reference. The Clear Info function will erase the data.

  4. Record the DTC Freeze Frame and Failure Records.
  5. If DTCs P0753, P0758, or P1860 are set, inspect the fuse.

Is the fuse blown?

--

Go to Step 3

Go to Step 4

3

Inspect the following components for a short to ground:

    • Circuit 1020
    • The TCC PWM Sol. Valve
    • The internal wiring harness

Refer to Electrical Diagnosis, Section 8.

Did you find and correct a problem?

-

Go to Step 16

--

4

  1. Turn the ignition OFF.
  2. Disconnect the transmission 20-way connector (additional DTCs may set).
  3. Install the J 39775 Jumper Harness on the engine harness connector.
  4. With the engine off, turn the ignition to the RUN position.
  5. Connect a test lamp from the J 39775 Jumper Harness cavity E to ground.

Is the test lamp ON?

--

Go to Step 6

Go to Step 5

5

Repair the open or short to ground located in ignition voltage feed circuit 1020 to the TCC PWM Sol. Valve.

Refer to Electrical Diagnosis, Section 8.

Is the repair complete?

--

Go to Step 16

--

6

  1. Install the test lamp from cavities E to S of the J 39775 Jumper Harness.
  2. Command the TCC PWM Sol. Valve ON and OFF three times.

Does the test lamp turn ON when you command the TCC PWM Sol. Valve ON, and does the lamp turn OFF when you command the TCC PWM Sol. Valve OFF?

--

Go to Step 8

Go to Step 7

7

  1. Inspect circuit 418 for an open or short to ground.
  2. Repair the circuit if necessary.

Refer to Electrical Diagnosis, Section 8.

Did you find a problem?

--

Go to Step 16

Go to Step 9

8

  1. Install the J 39775 Jumper Harness on the transmission 20-way connector.
  2. Automatic Transmission Connector End View

  3. Measure the resistance between terminals E and S. Use the J 39200 DVOM and the J 35616-A Connector Test Adapter Kit.

Is the resistance within the specified values?

10-15ohms

Go to Step 11

Go to Step 10

9

Replace the PCM.

Refer to Powertrain Control Module Replacement/Programming , Section 6.

Is the replacement complete?

--

Go to Step 16

--

10

  1. Disconnect the internal wiring harness at the TCC PWM Sol. Valve.
  2. Measure the resistance of the TCC PWM Sol. Valve.

Is the resistance within the specified values?

10-15ohms

Go to Step 12

Go to Step 15

11

Measure the resistance between terminal E and ground and terminal S and ground.

Are both readings greater than the specified value?

250ohms

Go to Diagnostic Aids

Go to Step 13

12

  1. Inspect the internal wiring harness for an open circuit.
  2. Repair the harness if necessary.

Refer to Electrical Diagnosis, Section 8.

Did you find and correct a problem?

--

Go to Step 16

--

13

  1. Disconnect the internal wiring harness at the TCC PWM Sol. Valve.
  2. Measure the resistance between each of the component terminals and ground.

Are both readings greater than the specified value?

250ohms

Go to Step 14

Go to Step 15

14

  1. Inspect the internal wiring harness for a short to ground.
  2. Repair the harness if necessary.

Refer to Electrical Diagnosis, Section 8.

Did you find and correct a problem?

--

Go to Step 16

--

15

Replace the TCC PWM Sol. Valve.

Refer to Torque Converter Clutch Pulse Width Modulation Solenoid Valve Replacement, On-Vehicle Service.

Is the replacement Complete?

--

Go to Step 16

--

16

In order to verify your repair, perform the following procedure:

  1. Select DTC.
  2. Select Clear Info.
  3. Operate the vehicle under the following conditions:
  4. • The TCC PWM Sol. Valve is commanded and the volts drop to zero.
    • The TCC PWM Sol. Valve is commanded OFF and the volts increase to B+.
    • All conditions are met for 5 seconds.
  5. Select Specific DTC. Enter DTC P1860.

Has the test run and passed?

--

System OK

Begin diagnosis again. Go to Step 1