GM Service Manual Online
For 1990-2009 cars only

DTC P0716 Input Speed Sensor CKT Range/Performance 5.7L and 7.4L Gas


Object Number: 40802  Size: MF
Automatic Transmission Components 5.7L and 7.4L Gas
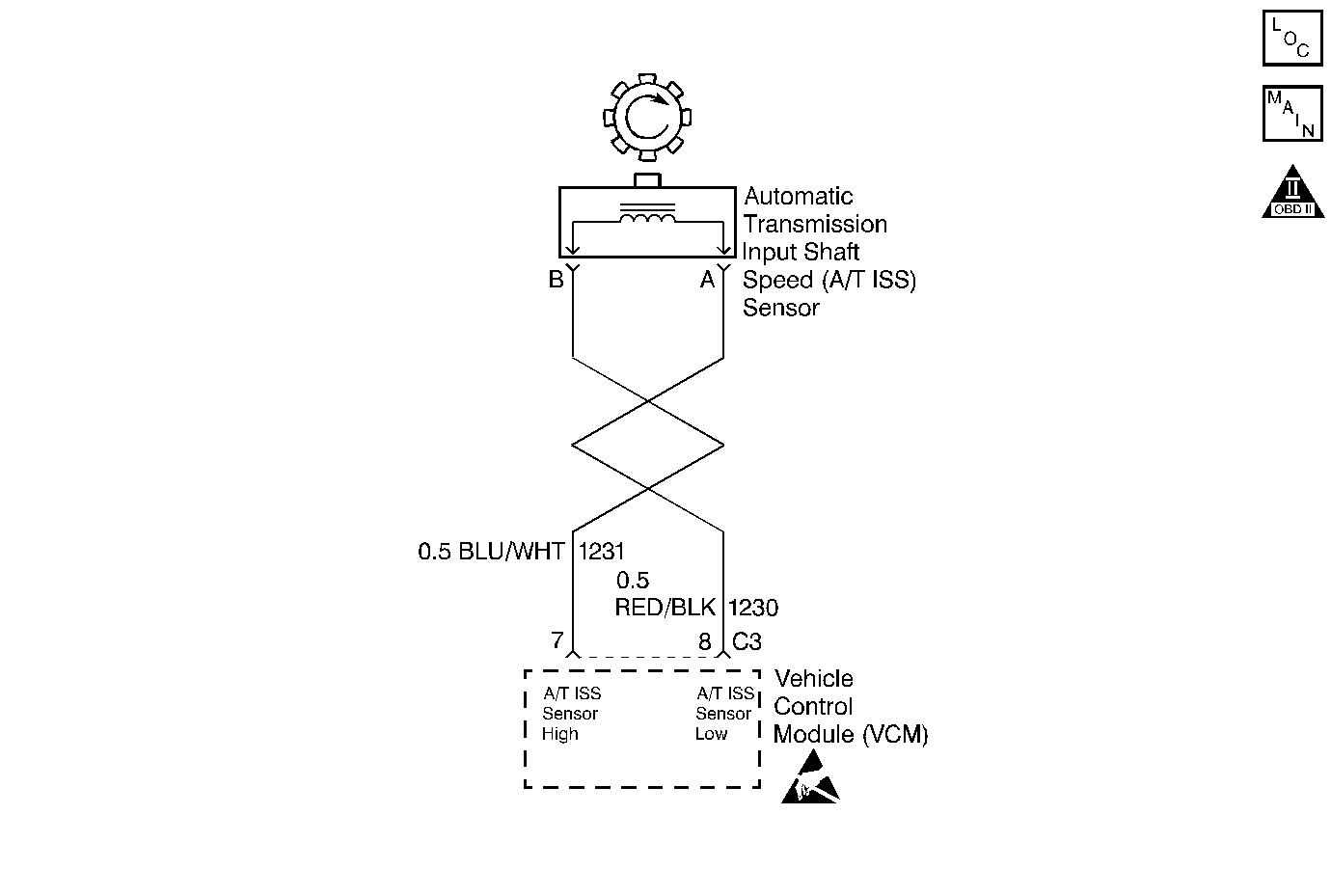
Automatic Transmission Controls Schematics 5.7L and 7.4L
OBD II Symbol Description Notice
Handling ESD Sensitive Parts Notice

Circuit Description

The Transmission Input Shaft Speed Sensor consists of a permanent magnet surrounded by a coil of wire. The rotation of the forward clutch housing induces an AC voltage in the circuit. The signal voltage and frequency vary directly with the forward clutch rotational speed.

When the VCM detects an unrealistically large change in input speed, then DTC P0716 sets. DTC P0716 is a type D DTC. For California emissions vehicles, DTC P0716 is a type B DTC.

Conditions for Setting the DTC

    • No TP Sensor DTCs P0122 or P0123.
    • No VSS Sensor DTC P0502.
    • No ISS Sensor DTC P0717.
    • No Shift Solenoid DTCs P0751 or P0753.
    • The throttle position is greater than 18%.
    • The vehicle speed is greater than 20 mph.
    • The transmission is not in Park or Neutral.
    • The engine is running for 5 seconds and not in fuel cut off.
    • The input speed varies by 1300 RPM for greater than 1.5 seconds.

Action Taken When the DTC Sets

    • The VCM commands D2 line pressure.
    • The VCM freezes shift adapts.
    • For California emissions only, the VCM illuminates the Malfunction Indicator Lamp (MIL).

Conditions for Clearing the DTC

    • For California emissions vehicles, the VCM turns OFF the MIL after three consecutive ignition cycles without a failure reported.
    • A scan tool can clear the DTC from the VCM history. The VCM clears the DTC from the VCM history if the vehicle completes 40 warm-up cycles without a failure reported.
    • The VCM cancels the DTC default actions when the fault no longer exists and the ignition is OFF long enough in order to power down the VCM.

Diagnostic Aids

    • Inspect the wiring for poor electrical connections at the VCM. Inspect the wiring for poor electrical connections at the transmission 20-way connector. Look for the following conditions:
       - A bent terminal
       - A backed out terminal
       - A damaged terminal
       - Poor terminal tension
       - A chafed wire
       - A broken wire inside the insulation
    • When diagnosing for an intermittent short or open condition, massage the wiring harness while watching the test equipment for a change.
    • First diagnose and clear any engine DTCs or TP Sensor codes that are present. Then inspect for any transmission DTCs that may have reset.

Test Description

The numbers below refer to the step numbers on the diagnostic table.

  1. This step tests for proper operation to the Input Shaft Speed Sensor.

  2. This step tests for proper circuit operation up to the VCM connections.

DTC P0716 Input Speed Sensor Circuit Range/Performance (5.7L and 7.4L Gas)

Step

Action

Value(s)

Yes

No

1

Was the Powertrain On-Board Diagnostic (OBD) System Check performed?

--

Go to Step 2

Go to Powertrain On Board Diagnostic (OBD) System Check

2

  1. Install the scan tool (tech 1) ®.
  2. With the engine OFF, turn the ignition switch to the RUN position.
  3. Important: Before clearing the DTCs, use the scan tool in order to record the Freeze Frame and Failure Records for reference. The Clear Info function will erase the data.

  4. Record the DTC Freeze Frame and Failure Records.
  5. Raise the drive wheels.
  6. Disconnect the wiring harness at the Input Shaft Speed Sensor.
  7. With the vehicle in Park, start the engine.
  8. Probe across the Input Speed Sensor terminals with a J 39200 DVOM set on the AC Voltage scale.

Is the voltage above the specified value?

0.5 volts

Go to Step 3

Go to Step 8

3

Inspect circuit 1231 for an open.

Did you find a condition?

--

Go to Step 6

Go to Step 4

4

Inspect circuit 1230 for an open. Did you find a condition?

--

Go to Step 7

Go to Step 5

5

  1. Probe across terminals C3-8 and terminals C3-7 at the VCM connector C3 (CLR) with the J 39200 DVOM on AC voltage.
  2. With the vehicle in Park, start the engine.

Is the voltage above the specified value?

0.5 volts

Go to Step 9

Go to Diagnostic Aids

6

Repair the open in circuit 1231.

Did you correct the condition?

--

Go to Step 10

--

7

Repair the open in circuit 1230.

Did you correct the condition?

--

Go to Step 10

--

8

Replace the Input Shaft Speed Sensor.

Refer to Automatic Transmission Input Shaft Speed Sensor Replacement, in On-Vehicle Service.

Is the replacement complete?

--

Go to Step 10

--

9

Replace the VCM.

Refer to VCM Replacement/Programming , Section 6.

Is the replacement complete?

--

Go to Step 10

--

10

In order to verify your repair, perform the following procedure:

  1. Select DTC.
  2. Select Clear Info.
  3. Operate the vehicle under the following conditions:
  4. • The vehicle drive range and the engine must be running.
    •  The VCM must see an input speed change of less than 500 RPM for 1 second.
  5. Select Specific DTC. Enter DTC P0716.

Has the test run and passed?

--

System OK

Begin the diagnosis again. Go to Step 1

DTC P0716 Input Speed Sensor CKT Range/Performance 6.5L Diesel


Object Number: 40786  Size: MF
Automatic Transmission Components 6.5L Diesel
Automatic Transmission Controls Schematics 6.5L
OBD II Symbol Description Notice
Handling ESD Sensitive Parts Notice

Circuit Description

The Transmission Input Shaft Speed Sensor consists of a permanent magnet surrounded by a coil of wire. The rotation of the forward clutch housing induces an AC voltage in the circuit. The signal voltage and frequency vary directly with the forward clutch rotational speed.

When the PCM detects an unrealistically large change in input speed, then DTC P0716 sets. DTC P0716 is a type A DTC.

Conditions for Setting the DTC

    • No APP Sensor DTCs P0122, P0123, P0222, P0223, P0227 or P0228.
    • No ISS Sensor DTC P0717.
    • No OSS Sensor DTCs P0722 or P0723.
    • No Shift Solenoid DTCs P0751, P0753, P0756 or P0758.
    • The throttle position is greater than 15%.
    • The vehicle speed is greater than 20 mph.
    • The input speed varies by 1000 RPM within 2 seconds.

Action Taken When the DTC Sets

    • The PCM commands maximum line pressure.
    • The PCM freezes shift adapts.
    • The PCM illuminates the Malfunction Indicator Lamp (MIL).

Conditions for Clearing the MIL/DTC

    • The PCM turns OFF the MIL after three consecutive ignition cycles without a failure reported.
    • A scan tool can clear the DTC from the PCM history. The PCM clears the DTC from the PCM history if the vehicle completes 40 warm-up cycles without a failure reported.
    • The PCM cancels the DTC default actions when the fault no longer exists and the ignition is OFF long enough in order to power down the PCM.

Diagnostic Aids

    • Inspect the wiring for poor electrical connections at the PCM. Inspect the wiring for poor electrical connections at the transmission 20-way connector. Look for the following conditions:
       - A bent terminal
       - A backed out terminal
       - A damaged terminal
       - Poor terminal tension
       - A chafed wire
       - A broken wire inside the insulation
    • When diagnosing for an intermittent short or open condition, massage the wiring harness while watching the test equipment for a change.
    • First diagnose and clear any engine DTCs or APP Sensor codes that are present. Then inspect for any transmission DTCs that may have reset.

Test Description

The numbers below refer to the step numbers on the diagnostic table.

  1. This step tests for proper operation to the Input Speed Sensor.

  2. This step tests for proper circuit operation up to the PCM connections.

DTC P0716 Input Speed Sensor Circuit Range/Performance (6.5L Diesel)

Step

Action

Value(s)

Yes

No

1

Was the Powertrain On-Board Diagnostic (OBD) System Check performed?

--

Go to Step 2

Go to Powertrain On Board Diagnostic (OBD) System Check

2

  1. Install the scan tool (tech 1) ®.
  2. Important: Before clearing the DTCs, use the scan tool in order to record the Freeze Frame and Failure Records for reference. The Clear Info function will erase the data.

  3. Turn the ignition ON
  4. Record the DTC Freeze Frame and Failure Records
  5. With the vehicle in Park, start the engine.
  6. Disconnect the wiring harness at the ISS Sensor.
  7. Connect the J 39200 DVOM set on AC Voltage across the terminals of the ISS Sensor.

Is the voltage above the specified value?

0.5 volts

Go to Step 3

Go to Step 8

3

Inspect circuit 1231 for an open.

Did you find a condition?

--

Go to Step 6

Go to Step 4

4

Inspect circuit 1230 for an open. Did you find a condition?

--

Go to Step 7

Go to Step 5

5

  1. Probe across terminals C1-D11 and terminals C1-D1 at the PCM connector C1 (BRN 32 pin) with the J 39200 DVOM on AC voltage.
  2. With the vehicle in Park, start the engine.

Is the voltage above the specified value?

0.5 volts

Go to Step 9

Condition is Intermittent.

Refer to Diagnostic Aids.

6

Repair the open in circuit 1231.

Did you correct the condition?

--

Go to Step 10

--

7

Repair the open in circuit 1230.

Did you correct the condition?

--

Go to Step 10

--

8

Replace the A/T ISS Sensor.

Refer to Automatic Transmission Input Shaft Speed Sensor Replacement, in On-Vehicle Service.

Is the replacement complete?

--

Go to Step 10

--

9

Replace the PCM.

Refer to Powertrain Control Module Replacement/Programming , Section 6.

Is the replacement complete?

--

Go to Step 10

--

10

In order to verify your repair, perform the following procedure:

  1. Select DTC.
  2. Select Clear Info.
  3. Operate the vehicle under the following conditions:
  4. • The vehicle drive range and the engine must be running.
    •  The PCM must see an input speed change of less than 1000 RPM for 1 second.
  5. Select Specific DTC. Enter DTC P0716.

Has the test run and passed?

--

System OK

Begin the diagnosis again. Go to Step 1