GM Service Manual Online
For 1990-2009 cars only

DTC P0724 Brake Switch Circuit High Input 5.7L and 7.4L Gas


Object Number: 40799  Size: MF
Automatic Transmission Components 5.7L and 7.4L Gas
Automatic Transmission Controls Schematics 5.7L and 7.4L
OBD II Symbol Description Notice
Handling ESD Sensitive Parts Notice

Circuit Description

The brake switch indicates the brake pedal status. The normally closed brake switch supplies a B+ signal on circuit 420 to the VCM. The signal voltage circuit opens when the brakes are applied. The VCM uses the signal voltage circuit in order to de-energize the TCC PWM Sol. valve when the brakes are applied.

When the VCM detects a closed brake switch during decelerations, then DTC P0724 sets. DTC P0724 is a type D DTC.

Conditions for Setting the DTC

    • No VSS DTC P0502.
    • The VCM detects a closed brake switch/circuit (12 volts) for 2 seconds during decelerations.
    • The following sequence of events occurs seven consecutive times:
       - The vehicle speed is greater than 32 km/h (20 mph) for 6 seconds.
       - Then the vehicle speed is 8-32 km/h (5-20 mph) for 4 seconds.
       - Then the vehicle speed is less than 8 km/h (5 mph).

Action Taken When the DTC Sets

The VCM does not illuminate the Malfunction Indicator Lamp (MIL).

Conditions for Clearing the DTC

    • A scan tool can clear the DTC from the VCM history. The VCM clears the DTC from the VCM history if the vehicle completes 40 warm-up cycles without a failure reported.
    • The VCM cancels the DTC default actions when the fault no longer exists and the ignition is OFF long enough in order to power down the VCM.

Diagnostic Aids

    • Inspect the wiring for poor electrical connections at the VCM. Inspect the wiring for poor electrical connections at the TCC brake switch. Look for the following conditions:
       - A bent terminal
       - A backed out terminal
       - A damaged terminal
       - Poor terminal tension
       - A chafed wire
       - A broken wire inside the insulation
    • When diagnosing for an intermittent short or open condition, massage the wiring harness while watching the test equipment for a change.
    • Ask about the customer's driving habits and any unusual driving conditions he or she might have, such as stop and go traffic or expressway driving.
    • Inspect the brake switch for proper mounting and adjustment.
    • Inspect for the most current calibration I.D. and the latest bulletins.
    • First diagnose and clear any engine DTCs or TP Sensor codes that are present. Then inspect for any transmission DTCs that may have reset.

Test Description

The numbers below refer to the step numbers on the diagnostic table.

  1. This step isolates the brake switch as a source for setting the DTC.

P0724

Step

Action

Value(s)

Yes

No

1

Was the Powertrain On-Board Diagnostic (OBD) System Check performed?

--

Go to Step 2

Go to Powertrain On Board Diagnostic (OBD) System Check

2

  1. Install the scan tool (tech 1) ®.
  2. With the engine OFF, turn the ignition switch to the RUN position.
  3. Important: Before clearing the DTCs, use the scan tool in order to record the Failure Records for reference. The Clear Info function will erase the data.

  4. Record the DTC Failure Records.
  5. Select TCC Brake Switch on the scan tool.
  6. Disconnect the brake switch connector from the brake switch.

Did the brake switch status change from Closed to Open?

--

Go to Step 3

Go to Step 4

3

Replace the brake switch.

Refer to Brake Switch Replacement.

Is the replacement complete?

--

Go to Section 6

--

4

Inspect circuit 420 for a short to B+.

Refer to Electrical Diagnosis, Section 8.

Did you find a problem?

--

Go to Step 6

Go to Step 5

5

Replace the VCM.

Refer to VCM Replacement/Programming , Section 6.

Is the replacement complete?

--

Go to Step 6

--

6

In order to verify your repair, perform the following procedure:

  1. Select DTC.
  2. Select Clear Info.
  3. Operate the vehicle so that for a total of three consecutive times, the VCM sees the brake switch Closed for greater than three seconds.
  4. Select Specific DTC. Enter DTC P0724.

Has the test run and passed?

--

System OK

Begin the diagnosis again. Go to Step 1

DTC P0724 Brake Switch Circuit High Input 6.5L Diesel


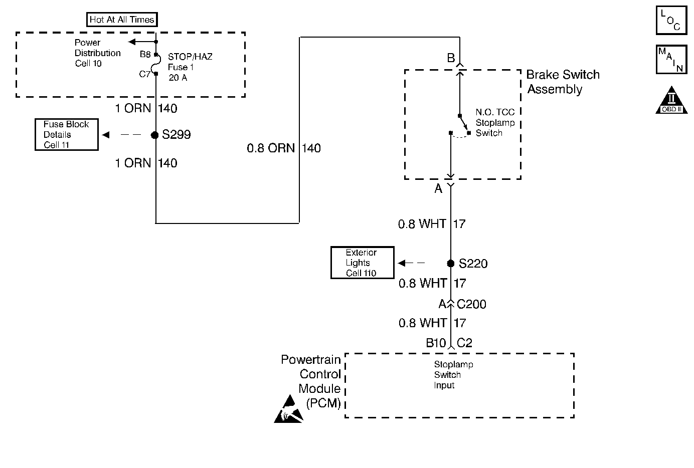
Object Number: 40792  Size: MF
Automatic Transmission Components 6.5L Diesel
Automatic Transmission Controls Schematics 6.5L
OBD II Symbol Description Notice
Handling ESD Sensitive Parts Notice

Circuit Description

The normally-open TCC brake switch indicates the brake pedal status to the Powertrain Control Module (PCM). Applying the brake pedal closes the switch, suppling voltage to the PCM. Releasing the brake pedal interrupts voltage to the PCM.

If the PCM detects a closed brake switch (stuck ON) during accelerations, then DTC P0724 sets. DTC P0724 is a type D DTC.

Conditions for Setting the DTC

    • No OSS Sensor DTCs P0722 or P0723.
    • The PCM detects a closed TCC brake switch or circuit (12 volts) and the following sequence of events occurs eight consecutive times:
    • The following sequence of events occurs seven consecutive times:
       - The vehicle speed is greater than 32 km/h (20 mph) for 6 seconds.
       - Then the vehicle speed is 8-32 km/h (5-20 mph) for 3.1 seconds.
       - Then the vehicle speed is less than 8 km/h (5 mph).
    • DTC P0724 has not passed.

Action Taken When the DTC Sets

    • For TCC scheduling, the PCM disregards the brake switch state if the APP Sensor is greater than 12% and the vehicle speed is greater than 30 mph.
    • The PCM does not illuminate the Malfunction Indicator Lamp (MIL).

Conditions for Clearing the DTC

    • A scan tool can clear the DTC from the PCM history. The PCM clears the DTC from the PCM history if the vehicle completes 40 warm-up cycles without a failure reported.
    • The PCM cancels the DTC default actions when the fault no longer exists and the ignition is OFF long enough in order to power down the PCM.

Diagnostic Aids

    • Inspect the wiring for poor electrical connections at the PCM. Inspect the wiring for poor electrical connections at the TCC brake switch. Look for the following conditions:
       - A bent terminal
       - A backed out terminal
       - A damaged terminal
       - Poor terminal tension
       - A chafed wire
       - A broken wire inside the insulation
    • When diagnosing for an intermittent short or open condition, massage the wiring harness while watching the test equipment for a change.
    • Ask about the customer's driving habits and any unusual driving conditions he or she might have, such as stop and go traffic or expressway driving.
    • Inspect the brake switch for proper mounting and adjustment.
    • First diagnose and clear any engine DTCs or APP Sensor codes that are present. Then inspect for any transmission DTCs that may have reset.

Test Description

The numbers below refer to the step numbers on the diagnostic table.

  1. This step isolates the brake switch as a source for setting the DTC.

DTC P0724 Brake Switch Circuit High Input (6.5L Diesel)

Step

Action

Value(s)

Yes

No

1

Was the Powertrain On-Board Diagnostic (OBD) System Check performed?

--

Go to Step 2

Go to Powertrain On Board Diagnostic (OBD) System Check

2

  1. Install the scan tool (tech 1) ®.
  2. With the engine OFF, turn the ignition switch to the RUN position.
  3. Important: Before clearing the DTCs, use the scan tool in order to record the Failure Records for reference. The Clear Info function will erase the data.

  4. Record the DTC Failure Records.
  5. Select TCC Brake Switch on the scan tool.
  6. Disconnect the brake switch connector from the brake switch.

Did the brake switch status change from Closed to Open?

--

Go to Step 3

Go to Step 4

3

Replace the brake switch.

Refer to Brake Switch Replacement.

Is the replacement complete?

--

Go to Step 6

--

4

Inspect circuit 17 for a short to B+.

Refer to Electrical Diagnosis, Section 8.

Did you find a condition?

--

Go to Step 6

Go to Step 5

5

Replace the PCM.

Refer to Powertrain Control Module Replacement/Programming , Section 6.

Is the replacement complete?

--

Go to Step 6

--

6

In order to verify your repair, perform the following procedure:

  1. Select DTC.
  2. Select Clear Info.
  3. Operate the vehicle under the following conditions:
  4. • Select TCC Brake Switch on the scan tool, and depress the brake pedal.
    • The switch state should change as you depress the pedal.
  5. Select Specific DTC. Enter DTC P0724.

Has the test run and passed?

--

System OK

Begin diagnosis again. Go to Step 1