GM Service Manual Online
For 1990-2009 cars only
Makes
🢒
Chevrolet
🢒
1997
🢒
Chevy C Pickup - 2WD
🢒 Fuel Injectors - 5.0, 5.7L
Fuel Injectors - 5.0, 5.7L
Fuel Injectors - 5.0, and 5.7L
Engine Controls Components
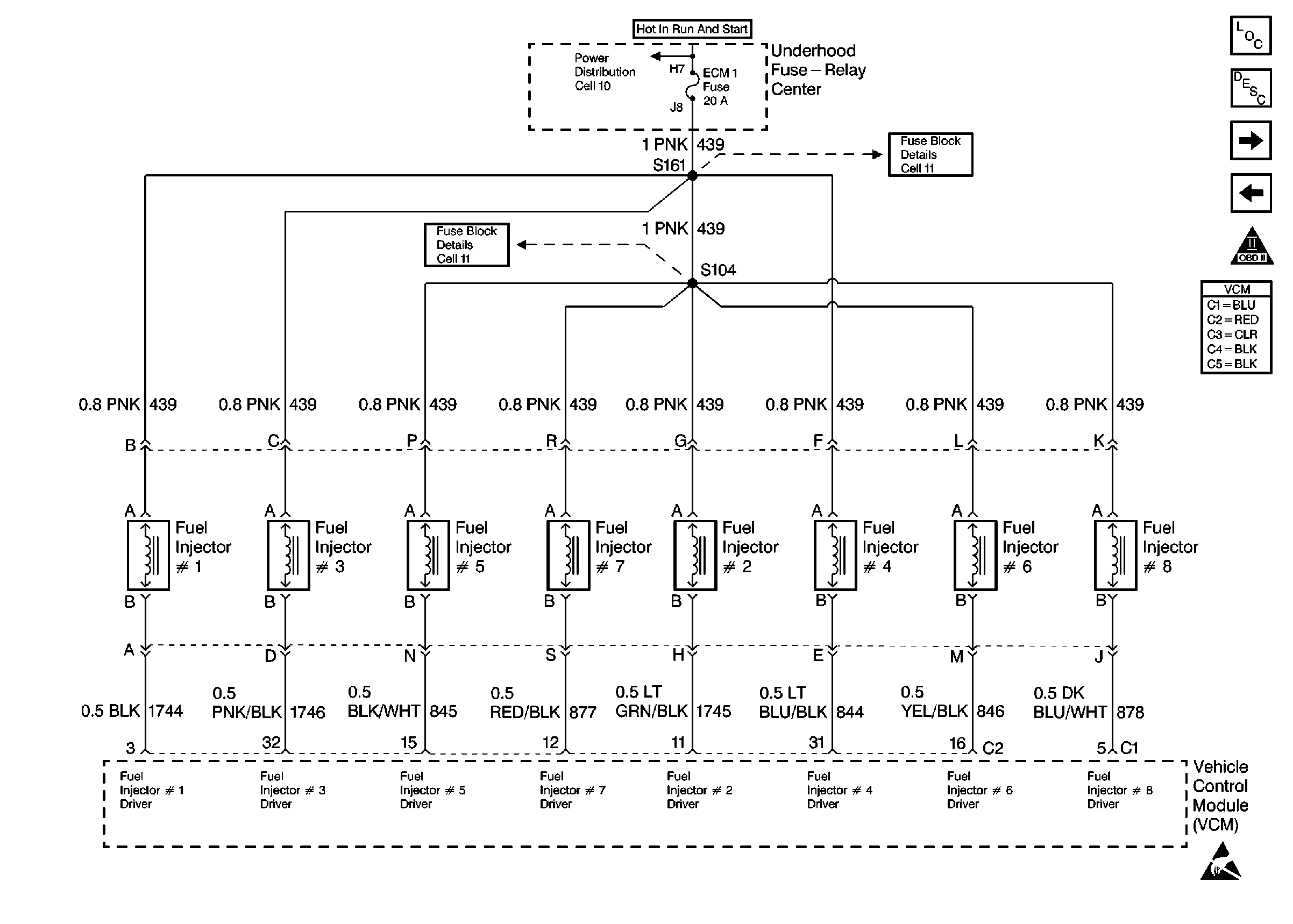
Fuel Injectors - 7.4L
Fuel Pumps - 5.0, 5.7, 7.4L
OBD II Symbol Description Notice
Engine Controls Schematic References
Engine Controls Schematic References
Handling Electrostatic Discharge Sensitive Parts Notice
Engine Controls Schematic References