GM Service Manual Online
For 1990-2009 cars only

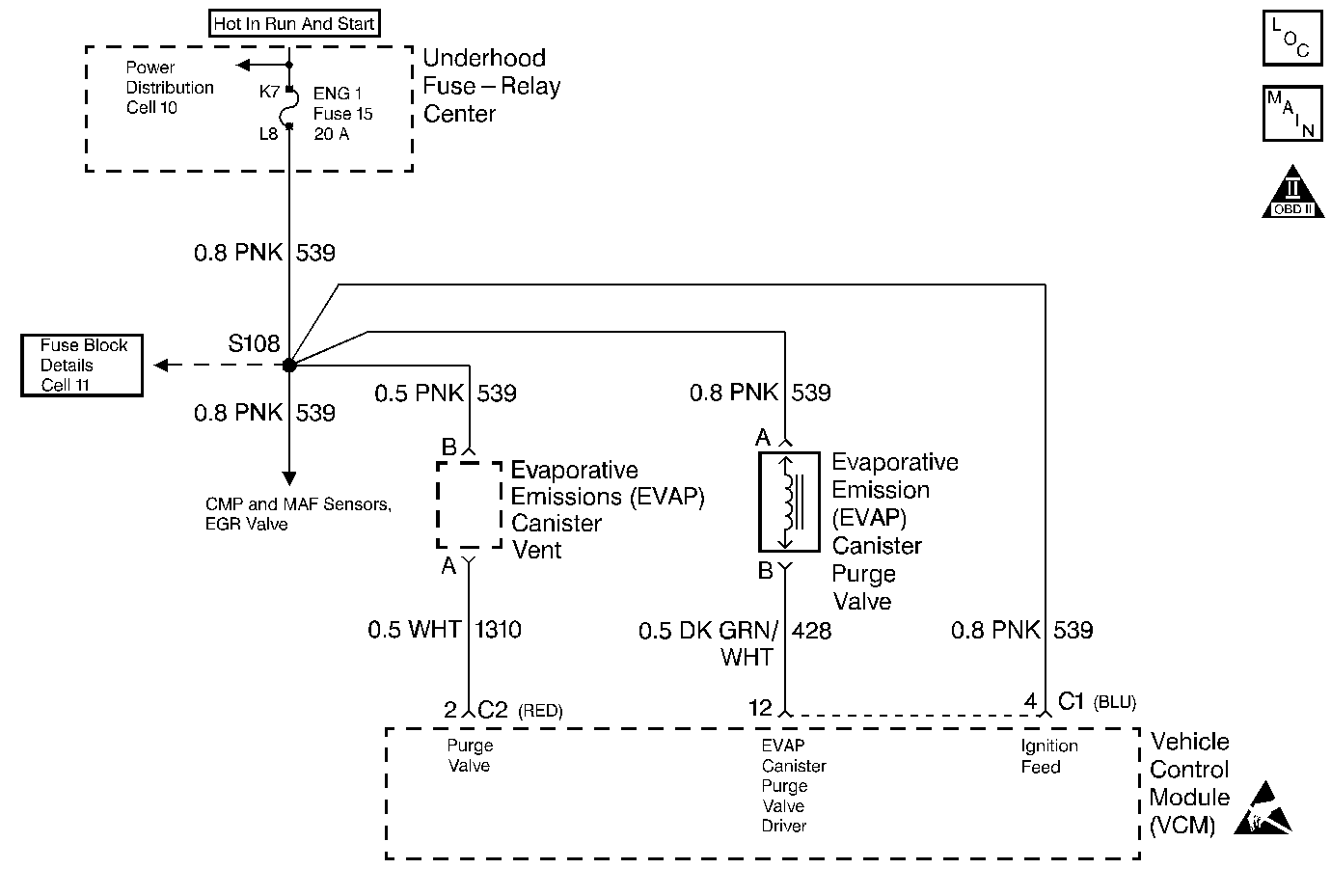
Object Number: 68558  Size: MF
Engine Controls Components
Engine Controls Schematics
OBD II Symbol Description Notice
Handling ESD Sensitive Parts Notice

Circuit Description

The evaporative system includes the following components:

    • The fuel tank
    • The EVAP vent solenoid
    • The fuel tank pressure sensor
    • The fuel pipes and hoses
    • The vapor lines
    • The fuel cap
    • The evaporative emission canister
    • The purge lines
    • The EVAP purge solenoid

The evaporative leak detection diagnostic strategy is based on applying the vacuum to the EVAP system and monitoring the vacuum decay. The VCM monitors the vacuum level via the fuel tank vacuum sensor input. At an appropriate time, the EVAP purge solenoid and the EVAP vent solenoid turn ON, allowing the engine vacuum to draw a small vacuum on the entire evaporative emission system. If a sufficient vacuum level cannot be achieved, a large leak or a malfunctioning EVAP purge solenoid is indicated. The following conditions can cause this problem:

    • A disconnected or malfunctioning fuel tank pressure sensor
    • A missing, malfunctioning, improperly installed, or loose fuel cap
    • A disconnected, damaged, pinched, or blocked EVAP purge line
    • A disconnected or damaged EVAP vent hose
    • A disconnected, damaged, pinched, or blocked fuel tank vapor line
    • A disconnected or malfunctioning EVAP purge solenoid
    • A disconnected or malfunctioning EVAP vent solenoid
    • An open ignition feed circuit to the EVAP vent or purge solenoid
    • A damaged EVAP canister
    • A leaking fuel sender assembly O-ring
    • A leaking fuel tank or fuel filler neck

Any of the above conditions can set a DTC P0440. This DTC is a type A DTC.

Conditions for Setting the DTC

    • No MAP sensor DTCs.
    • No TP sensor DTCs.
    • No VSS DTCs.
    • No HO2S DTCs.
    • No ECT DTCs.
    • The DTC P0125 not active.
    • No IAT sensor DTCs.
    • No Fuel Level DTCs.
    • The Fuel Level is greater than 12.5% and 87.5%.
    • The System Voltage is greater than 10 volts but less than 17 volts.

Cold Start Test

    • The ECT is greater than 3.75°C but less than 30°C.
    • The IAT is greater than 3.75°C but less than 30°C.
    • Start up ECT is not more than 8.25°C greater than the start up IAT.
    • Start up IAT is not more than 1.5°C greater than the start up ECT.
    • The Baro is greater than 75 kPa.
    • Fuel tank vacuum is less than 9 in. H2O.
    • Fuel level input test has passed.

Warm Start Test

    • Cold start test failed.
    • Fuel tank vacuum is less than 11 in. H2O.
    • If HC vapor is not present and the small leak test has failed.

Action Taken When the DTC Sets

    • The VCM illuminates the MIL during the second consecutive drive cycle in which the diagnostic reports a fail.
    • The VCM will set the DTC and records the operating conditions at the time the diagnostic fails. The VCM stores the failure information in the scan tools Freeze Frame and Failure Records.

Conditions for Clearing the MIL/DTC

The following conditions will clear the DTC:

    • The VCM turns the MIL OFF when the diagnostic has run and has not reported a failure for 3 consecutive warm-up cycles
    • A history DTC P0440 clears after 40 consecutive warm-up cycles have occurred without a fault reported
    • The DTC P0440 can be cleared by using the scan tool Clear Info function or by disconnecting the VCM battery feed for more than thirty seconds

Diagnostic Aids

Check for the following conditions:

    • A loose, missing, damaged, or improperly installed fuel cap
    • Missing or damaged O-rings at EVAP canister fuel vapor and purge line fittings
    • A cracked or punctured EVAP canister
    • A damaged or disconnected source vacuum line, EVAP purge line, vent hose or fuel tank vapor line
    • A poor connection at the VCM: Inspect the harness connectors for the following conditions:
       - Backed out terminals
       - Improper mating
       - Broken locks
       - Improperly formed or damaged terminals
       - poor terminal to wire connection
    • A damaged harness: Inspect the wiring harness to the EVAP vent solenoid EVAP purge solenoid and the fuel tank pressure sensor for an intermittent open or short circuit
    • A kinked, pinched or plugged vacuum source, EVAP purge, or fuel tank vapor line. Verify that the lines are not restricted

Refer to Carbon Particle Removal from EVAP System before starting repairs.

Reviewing the Fail Records vehicle mileage since the diagnostic test last failed may help determine how often the condition that caused the DTC to be set occurs. This may assist in diagnosing the condition.

Test Description

The numbers below refer to the step numbers on the diagnostic table.

  1. This step checks the fuel tank pressure sensor at ambient pressure. The fuel tank pressure sensor is zeroed at every key on to compensate for changes in atmospheric pressure.

  2. This step determines whether or not the EVAP system can be sealed sufficiently to be pressurized. If not, the large leak must be located and corrected before continuing with diagnosis.

  3. This step verifies that the fuel tank pressure sensor accurately reacts to EVAP system pressure changes.

  4. This step checks for a stuck closed EVAP purge solenoid.

  5. This step ensures that sufficient source vacuum is present at the EVAP purge solenoid.

Step

Action

Value(s)

Yes

No

1

Important: Before clearing the DTCs, use the scan tool to record the Freeze Frame and the Failure Records for reference. This data will be lost when the Clear Info function is used.

Was the Powertrain On-Board Diagnostic (OBD) System Check performed?

--

Go to Step 2

Go to Powertrain On Board Diagnostic (OBD) System Check

2

  1. Turn the ignition OFF.
  2. Install a scan tool.
  3. Remove the fuel cap.
  4. Turn ON the ignition.
  5. Observe the Fuel Tank Pressure on the scan tool.

Is the Fuel Tank Pressure at the specified value?

0 in. H2O ±1 in. H2O

Go to Step 3

Go to Evaporative Emission Control System Diagnosis

3

Important: Before continuing with the diagnosis, zero the EVAP Pressure and Vacuum gauges on the Enhanced EVAP Pressure Purge Diagnostic Cart J 41413. Refer to the tool operating instructions.

    Important:  Replace the fuel cap making sure the cap is secured properly. An improperly secured or loose fuel cap can cause DTC P0440.

  1. Connect the Enhanced EVAP Pressure Purge Diagnostic Cart J 41413 to the EVAP service port.
  2. Using the scan tool, command the EVAP vent valve on (Closed).
  3. Attempt to pressurize the EVAP system using the Enhanced EVAP Pressure Purge Diagnostic Cart J 41413.
  4. Monitor pressure using gauge on cart.

Can the specified value be achieved?

5 in. H2O

Go to Step 4

Go to Step 5

4

  1. Maintain fuel tank pressure at 5 inches of H2O (Turn the rotary switch on the cart to the HOLD position).
  2. Observe the Fuel Tank Pressure on the scan tool.

Is the Fuel Tank Pressure within the specified value?

5 in. H2O (± 2 in. H2O

Go to Step 7

Go to Step 6

5

  1. Disconnect the fuel tank vapor line and the EVAP purge line from the EVAP canister.
  2. Block the canister fitting for the fuel tank vapor line.
  3. Connect a hand vacuum pump to the canister fitting for the EVAP purge line.
  4. Ensure that the EVAP vent valve is still commanded on (Closed).
  5. Attempt to apply vacuum to the EVAP canister.

Can vacuum be maintained at the specified value?

5 in. Hg

Go to Step 10

Go to Step 11

6

  1. Check for a restricted EVAP purge line.
  2. If a problem is found, repair as necessary. Refer to Diagnostic Aids.

Was a problem found?

--

Go to Step 15

Go to Evaporative Emission Control System Diagnosis

7

  1. Remove the EVAP purge solenoid and plug the vacuum source on the solenoid.
  2. Using the scan tool, command the EVAP vent valve on (Closed) and the EVAP purge solenoid on (100%).
  3. Pressurize the EVAP system to the specified value (monitor the pressure using the gauge on the EVAP cart).
  4. Observe the EVAP Pressure gauge on the Enhanced EVAP Pressure Purge Diagnostic Cart J 41413 while removing the plug from the EVAP purge solenoid.

Does the Fuel Tank Pressure decrease to the specified value within 15 seconds?

5 in. H2O

0 in. H2O

Go to Step 10

Go to Step 12

8

  1. Connect the in. Hg vacuum gauge on the Enhanced EVAP Pressure Purge Diagnostic Cart J 41413 to the vacuum source line.
  2. Start the engine.
  3. Run the engine above 2000 RPM.
  4. Observe source vacuum level.

Is the source vacuum level greater than the specified value?

15 in. Hg

Refer to Diagnostic Aids

Go to Step 13

9

  1. Perform the following checks:
  2. • Vent hose disconnected or damaged.
    • EVAP canister damaged.
  3. If a problem is found, repair as necessary.

Was a problem found?

--

Go to Step 15

Go to Step 14

10

  1. Perform the following checks:
  2. • Missing or faulty fuel cap
    • Disconnected or leaking fuel tank vapor line
    • Disconnected or damaged EVAP purge line
  3. If a problem is found, repair as necessary.

Was a problem found?

--

Go to Step 15

Go to Step 11

11

  1. Using the scan tool, command the EVAP vent valve on.
  2. With the Enhanced EVAP Pressure Purge Diagnostic Cart J 41413 connected to the EVAP service port continuously attempt to pressurize the EVAP system by leaving the cart control knob in the pressurize position.
  3. Using the Enhanced EVAP Ultrasonic Leak Detector J 41416, locate the leak in the EVAP system. It may be necessary to partially lower the fuel tank in order to examine the top of the tank connections.
  4. Repair the leak in the EVAP system. Refer to Diagnostic Aids.

Is the action complete?

--

Go to Step 15

--

12

Replace the EVAP purge solenoid. Refer to Diagnostic Aids. Refer to EVAP Canister Purge Solenoid .

Is the action complete?

--

Go to Step 15

--

13

  1. Locate the cause of no source vacuum to the EVAP purge solenoid.
  2. Repair the cause of no source vacuum to the EVAP purge solenoid.

Is the action complete?

--

Go to Step 15

--

14

Replace the EVAP vent valve. Refer to Diagnostic Aids. Refer to EVAP Vent Valve Replacement .

Is the action complete?

--

Go to Step 15

--

15

  1. Turn the ignition ON leaving the engine off.
  2. Using the scan tool, command the EVAP vent valve ON (Closed).
  3. Pressurize the EVAP system to the specified value using the Enhanced EVAP Pressure Purge Diagnostic Cart J 41413 (monitor pressure using the gauge on the cart).
  4. Turn the rotary switch on the cart to the HOLD position and observe the EVAP pressure gauge.

Does the pressure decrease to less than the specified value within 2 minutes?

15 in. H2O

10 in. H2O

Go to Step 2

System OK