The VCM supplies a voltage of about 0.45 V (450 mV) between the HO2S High and the HO2S Low circuits. (If measured with a 10 megohm digital voltmeter, this may read as low as 0.32 V.) The Heated Oxygen Sensor HO2S (Bank 2 Sensor 2) varies the voltage within a range of about 1 V if the exhaust is rich, down through about 0.10 V if exhaust is lean.
The sensor is like an open circuit and produces no voltage when it is below 360°C (600°F).
The HO2S heater provides for faster sensor warm-up which allows the sensor to become active in a shorter period of time and remain active during long extended idle. DTC P0160 determines if the HO2S or the HO2S circuit has developed an open. DTC P0160 is a type A DTC.
| • | No TP sensor DTCs |
| • | No EVAP DTCs |
| • | No IAT sensor DTCs |
| • | No MAP sensor DTCs |
| • | No ECT sensor DTCs |
| • | No MAF sensor DTCs |
| • | No intrusive test in progress |
| • | No device controls active |
| • | System voltage is at least 9 V |
| • | Engine run time is at least 120 seconds |
| • | Engine running |
| • | Not in DFCO |
| • | ECT greater than or equal to 80°C |
| • | Air Flow greater than or equal to 15 g/sec |
| • | HO2 Sensor temperature test = true |
| • | DTC P0155 not active |
| • | Closed Loop |
With a current DTC set, the VCM will turn ON the MIL (Malfunction Indicator Lamp).
The VCM turns OFF the MIL after 3 consecutive driving trips without a fault condition present. A history DTC will clear if no fault conditions have been detected for 40 warm-up cycles (the coolant temperature has risen 22°C (40°F) from the start-up coolant temperature and the engine coolant temperature exceeds 71°C (160°F) during that same ignition cycle) or the scan tool clearing feature has been used.
An intermittent may be caused by a poor connection, rubbed through wire insulation, or a wire broken inside the insulation.
Check for the following:
| • | Poor connection or damaged harness - Inspect harness connectors for backed out terminals, improper mating, broken locks, improperly formed or damaged terminals, poor terminal to wire connection, and damaged harness. |
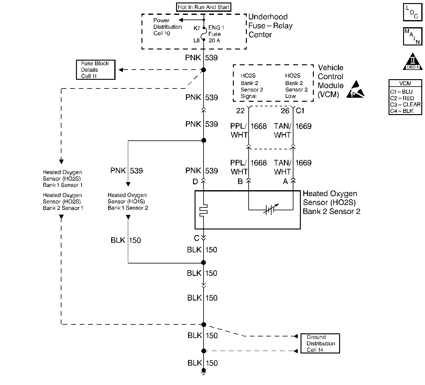
| • | Faulty HO2S (Bank 2 Sensor 2) heater or heater circuit - With the ignition ON, engine OFF, the HO2S (Bank 2 Sensor 2) voltage displayed on a scan tool should gradually drop to below .300 V, indicating that the heater is working properly. If not, disconnect the HO2S (Bank 2 Sensor 2) and connect a test light between terminals C and D. If the test light does not light, repair the open in the affected circuit. If the test light lights, replace HO2S (Bank 2 Sensor 2). |
| • | Intermittent test - With a scan tool, monitor HO2S (Bank 2 Sensor 2) signal voltage while moving related connectors and wiring harness, with a warm engine running at part throttle in Closed Loop. If the failure is induced, the HO2S (Bank 2 Sensor 2) signal voltage reading will change from its normal fluctuating voltage (above 600 mV and below 300 mV) to a fixed value around 450 mV. This may help to isolate the location of the malfunction. |
| • | Never solder the HO2S wires. For proper wire and connector repair, refer to Wiring Repairs in Engine Electrical. |
Number(s) below refer to the step number(s) on the Diagnostic Table.
If the conditions for setting DTC P0160 exist, the system will not go into Closed Loop.
This will determine if the sensor or the wiring is the cause of DTC P0160.
Step | Action | Value(s) | Yes | No |
|---|---|---|---|---|
1 |
Important: Before clearing DTC(s) use the scan tool to record Freeze Frame and Failure Records for reference, as data will be lost when the Clear Info function is used. Was the Powertrain On-Board Diagnostic (OBD) System Check performed? | -- | ||
Does the scan tool indicate Closed Loop? | 1200 RPM | |||
Does the scan tool data display indicate HO2S (Bank 2 Sensor 2) voltage less than the specified value? | 0.2V (200 mV) | |||
4 |
Is the test light ON? | -- | ||
5 | The DTC is intermittent. If no additional DTCs are stored, refer to Diagnostic Aids. If additional DTCs are stored refer to those Table(s). Are any additional DTCs stored? | -- | Go to the Applicable DTC Table | |
6 | Check for an open in the HO2S (Bank 2 Sensor 2) High circuit. Was a problem found? | -- | ||
7 | Check for a faulty HO2S (Bank 2 Sensor 2) connection. Was a problem found? | -- | ||
8 | Check for a poor connection at the VCM. Was a problem found? | -- | ||
9 | Repair the open HO2S (Bank 2 Sensor 2) Low circuit. Is the action complete? | -- | -- | |
10 | Replace the HO2S (Bank 2 Sensor 2). Refer to Heated Oxygen Sensor (HO2S) Replacement Is the action complete? | -- | -- | |
11 | Repair the circuit as necessary. Is the action complete? | -- | -- | |
12 | Replace the VCM. Important: If the VCM is faulty, the new VCM must be programmed. Refer to VCM Replacement/Programming . Is the action complete? | -- | -- | |
13 |
Does the scan tool indicate that this diagnostic Ran and Passed? | -- | ||
14 | Using the scan tool, select Capture Info, Review Info. Are any DTCs displayed that have not been diagnosed? | -- | Go to the Applicable DTC Table | System OK |