GM Service Manual Online
For 1990-2009 cars only

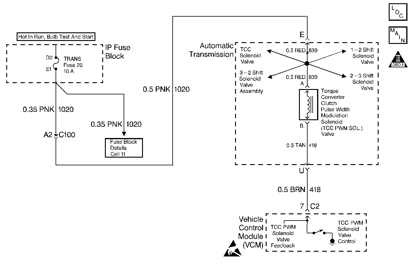
Object Number: 42273  Size: MF
Automatic Transmission Components In Transmission Components
Automatic Transmission Controls Schematics Thumbnails
OBD II Symbol Description Notice
Handling ESD Sensitive Parts Notice

Circuit Description

The Torque Converter Clutch Pulse Width Modulation Solenoid Valve (TCC PWM Sol. Valve) controls the fluid acting on the converter clutch valve. The converter clutch valve controls the TCC application and release. The solenoid attaches to the control valve body within the transmission. The solenoid receives ignition voltage through circuit 1020. The VCM controls the solenoid by providing a ground path on circuit 418. Current flows through the solenoid coil according to the duty cycle (percentage of ON and OFF time). The TCC PWM Sol. Valve provides a smooth engagement of the TCC by operating during a duty cycle percent of ON time.

When the VCM detects a continuous open or short to ground in the TCC PWM Sol. Valve circuit or the TCC PWM Sol. Valve, then DTC P1860 sets. DTC P1860 is a type A DTC.

Conditions for Setting the DTC

    • The system voltage is 10-19 volts.
    • The engine speed is greater than 450 RPM for 8 seconds.
    • TCC duty cycle is 10-90%.
    • Not in fuel cutoff.
    • The VCM commands first gear.
    • All of the above conditions are met for 5 seconds and either of the following fail conditions occurs for 5 seconds:
       - The VCM commands the solenoid ON (90%) and the voltage remains high (B+).
       - The VCM commands the solenoid OFF (0%) and the voltage remains low (0 volt).

Action Taken When the DTC Sets

    • The VCM inhibits TCC engagement.
    • The VCM inhibits 4th gear if the transmission is in hot mode.
    • The VCM freezes shift adapts from being updated.
    • The VCM illuminates the Malfunction Indicator Lamp (MIL).

Conditions for Clearing the MIL/DTC

    • The VCM turns OFF the MIL after three consecutive ignition cycles without a failure reported.
    • A scan tool can clear the DTC from the VCM history. The VCM clears the DTC from the VCM history if the vehicle completes 40 warm-up cycles without a failure reported.
    • The VCM cancels the DTC default actions when the fault no longer exists and the ignition is OFF long enough in order to power down the VCM.

Diagnostic Aids

    • Inspect the wiring for poor electrical connections at the VCM. Inspect the wiring for poor electrical connections at the transmission 20-way connector. Look for the following conditions:
       - A bent terminal
       - A backed out terminal
       - A damaged terminal
       - Poor terminal tension
       - A chafed wire
       - A broken wire inside the insulation
    • When diagnosing for an intermittent short or open condition, massage the wiring harness while watching the test equipment for a change.

Test Description

The numbers below refer to the step numbers on the diagnostic table.

  1. This step tests for voltage to the solenoid.

  2. This step tests the ability of the VCM and wiring to control the ground circuit.

  3. This step tests the resistance of the TCC PWM Sol. Valve and the Automatic Transmission Wiring Harness Assembly.

DTC P1860 Torque Converter Clutch Pulse Width Modulation Solenoid Valve (TCC PWM Sol. Valve) Circuit - Electrical

Step

Action

Value(s)

Yes

No

1

Was the Powertrain On-Board Diagnostic (OBD) System Check performed?

--

Go to Step 2

Go to OBD System Check

2

  1. Install the scan tool.
  2. With the engine OFF, turn the ignition switch to the RUN position.
  3. Important: Before clearing the DTCs, use the scan tool in order to record the Freeze Frame and Failure Records for reference. The Clear Info function will erase the data.

  4. Record the DTC Freeze Frame and Failure Records.
  5. If DTCs P0740, P0753, P0758 and P0785 are also set, inspect the TRANS fuse.

Is the fuse open?

--

Go to Step 3

Go to Step 4

3

Inspect circuit 1020, the solenoid and the Automatic Transmission Wiring Harness Assembly for a short to ground.

Refer to Electrical Diagnosis, Section 8A.

Did you find and correct a problem?

--

Go to Step 15

--

4

  1. Turn the ignition OFF.
  2. Disconnect the transmission 20-way connector (additional DTCs may set).
  3. Install J 39775 Jumper Harness on the engine harness connector.
  4. With the engine OFF, turn the ignition switch to the RUN position.
  5. Connect a lest lamp from J 39775 Jumper Harness cavity E to ground.

Is the test lamp on?

--

Go to Step 6

Go to Step 5

5

Repair the open or short to ground in ignition feed circuit 1020 to the TCC PWM Sol. Valve.

Refer to Electrical Diagnosis, Section 8A.

Is the repair complete?

--

Go to Step 15

--

6

  1. Install the test lamp from cavities E to U of J 39775 Jumper Harness.
  2. Command the TCC PWM Sol. Valve ON and OFF three times.

Does the test lamp illuminate when the TCC PWM Sol. Valve is commanded ON, and turn OFF when commanded OFF?

--

Go to Step 8

Go to Step 7

7

Inspect circuit 418 for an open or short to ground. Repair the circuit if necessary.

Refer to Electrical Diagnosis, Section 8A.

Did you find a problem?

--

Go to Step 15

Go to Step 9

8

  1. Install J 39775 Jumper Harness on the transmission 20-way connector.
  2. Using the J 39200 DVOM and the J 35616 Connector Test Adapter Kit, measure the resistance between terminal E and terminal U.

Is the resistance within the specified range?

10-15 ohms

Go to Step 11

Go to Step 10

9

Replace the VCM.

Refer to VCM Replacement, Section 6.

Is the replacement complete?

--

Go to Step 15

--

10

  1. Disconnect the Automatic Transmission Wiring Harness Assembly at the TCC PWM Sol. Valve.
  2. Measure the resistance of the TCC PWM Sol. Valve.

Is the resistance within the specified range?

10-15 ohms

Go to Step 13

Go to Step 14

11

Measure the resistance between terminal E and a known good ground, and between terminal U and ground.

Are both readings greater than the specified value?

250 K ohms

Go to Diagnostic Aids

Go to Step 12

12

  1. Disconnect the Automatic Transmission Wiring Harness Assembly at the TCC PWM Sol. Valve.
  2. Measure the resistance between each of the component terminals and a known good ground.

Are both readings greater than the specified value?

250 K ohms

Go to Step 13

Go to Step 14

13

Replace the Automatic Transmission Wiring Harness Assembly. Refer to 4L60-E Automatic Transmission On-Vehicle Service.

Is the replacement complete?

--

Go to Step 15

--

14

Replace the TCC PWM Sol. Valve.

Refer to TCC PWM Sol. Valve Replacement/4L60-E Automatic Transmission On-Vehicle Service.

Is the replacement complete?

--

Go to Step 15

--

15

In order to verify your repair, perform the following procedure:

  1. Select DTC.
  2. Select Clear Info.
  3. Operate the vehicle and ensure the following conditions are met:
  4. • The VCM commands the TCC PWM Sol. Valve ON and the voltage drops to zero.
    • The VCM commands the TCC PWM Sol. Valve OFF and the voltage increases to B+.
    • All conditions are met for 5 seconds.
  5. Select Specific DTC. Enter DTC P1860.

Has the test run and passed?

--

System OK

Begin the diagnosis again. Go to Step 1