GM Service Manual Online
For 1990-2009 cars only
Table 1: Shift Solenoid Valve State and Gear Ratio 4L60-E
Table 2: DTC P0753 1-2 Shift Solenoid Valve (1-2 SS Valve) -- Electrical

Object Number: 42271  Size: MF
Automatic Transmission Components In Transmission Components
Automatic Transmission Controls Schematics Thumbnails
OBD II Symbol Description Notice
Handling ESD Sensitive Parts Notice

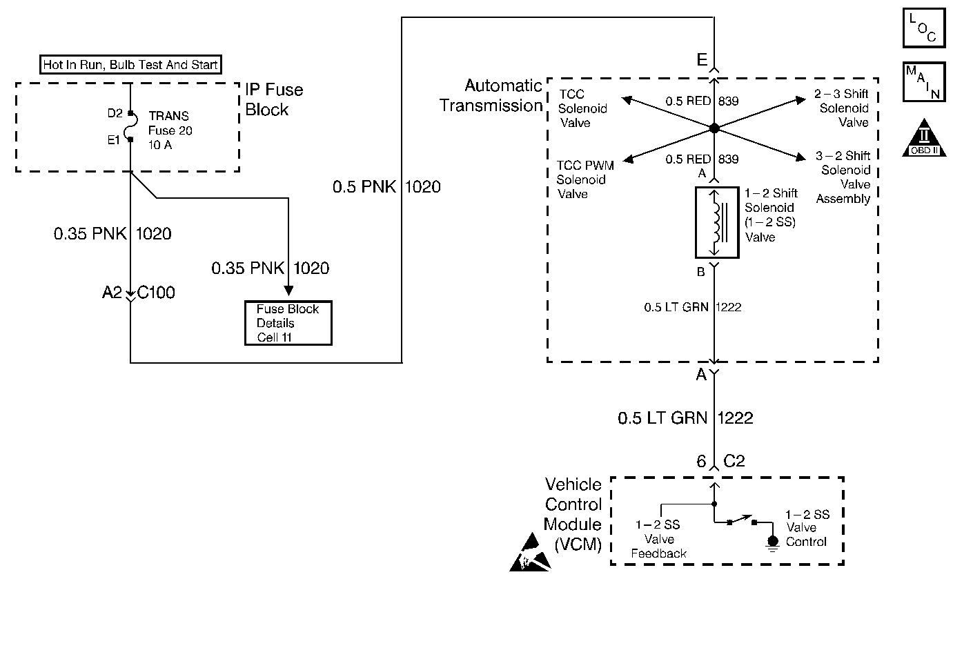
Circuit Description

The 1-2 Shift Solenoid Valve (1-2 SS Valve) controls the fluid flow acting on the 1-2 and 3-4 shift valves. The solenoid is a normally-open exhaust valve. With the 2-3 Shift Solenoid Valve (2-3 SS Valve), the 1-2 SS Valve allows four different shifting combinations. The solenoid attaches to the control valve body within the transmission. The 1-2 SS Valve receives ignition voltage through circuit 1020. The VCM controls the solenoid by providing the ground path on circuit 1222.

When the VCM detects a continuous open or short to ground in the 1-2 SS Valve circuit or the 1-2 SS Valve, then DTC P0753 sets. DTC P0753 is a type A DTC.

Conditions for Setting the DTC

    • The system voltage is 10-19 volts.
    • The engine speed is greater than 450 RPM for 8 seconds.
    • Not in fuel cutoff.
    • All of the above conditions are met for 5 seconds and either of the following fail conditions occurs for 5 seconds:
       - The VCM commands the solenoid ON and the voltage remains high (B+).
       - The VCM commands the solenoid OFF and the voltage remains low (0 volts).

Action Taken When the DTC Sets

    • The VCM commands D2 line pressure.
    • The VCM freezes shift adapts from being updated.
    • The VCM illuminates the Malfunction Indicator Lamp (MIL).

Conditions for Clearing the MIL/DTC

    • The VCM turns OFF the MIL after three consecutive ignition cycles without a failure reported.
    • A scan tool can clear the DTC from the VCM history. The VCM clears the DTC from the VCM history if the vehicle completes 40 warm-up cycles without a failure reported.
    • The VCM cancels the DTC default actions when the fault no longer exists and the ignition is OFF long enough in order to power down the VCM.

Diagnostic Aids

    • Inspect the wiring for poor electrical connections at the VCM. Inspect the wiring for poor electrical connections at the transmission 20-way connector. Look for the following conditions:
       - A bent terminal
       - A backed out terminal
       - A damaged terminal
       - Poor terminal tension
       - A chafed wire
       - A broken wire inside the insulation
    • When diagnosing for an intermittent short or open condition, massage the wiring harness while watching the test equipment for a change.
    • An open ignition feed circuit can cause multiple DTCs to set.

Shift Solenoid Valve State and Gear Ratio 4L60-E

Gear

1-2 Shift Solenoid

2-3 Shift Solenoid

Gear Ratio

1

ON

ON

3.059:1

2

OFF

ON

1.625:1

3

OFF

OFF

1.000:1

4

ON

OFF

0.696:1

Test Description

The numbers below refer to the step numbers on the diagnostic table.

  1. This step tests the function of the 1-2 SS Valve and the Automatic Transmission Wiring Harness Assembly.

  2. This step tests for power to the 1-2 SS Valve from the ignition through the fuse.

  3. This step tests the ability of the VCM and of the wiring to control the ground circuit.

  4. This step measures the resistance of the Automatic Transmission Wiring Harness Assembly and of the 1-2 SS Valve.

DTC P0753 1-2 Shift Solenoid Valve (1-2 SS Valve) -- Electrical

Step

Action

Value(s)

Yes

No

1

Was the Powertrain On-Board Diagnostic (OBD) System Check performed?

--

Go to Step 2

Go to Powertrain On Board Diagnostic (OBD) System Check

2

  1. Install the Scan Tool ®.
  2. With the engine OFF, turn the ignition switch to the RUN position.
  3. Important: Before clearing the DTCs, use the scan tool in order to record the Freeze Frame and Failure Records for reference. The Clear Info function will erase the data.

  4. Record the DTC Freeze Frame and Failure Records.

Were DTCs , P0758, P1860, P0740, and P0785 also set?

--

Go to Step 3

Go to Step 4

3

  1. Inspect the TRANS fuse.
  2. If the fuse is open, inspect the following components for a short to ground.
  3. Refer to Electrical Diagnosis, Section 8.

    • Circuit 1020
    • The solenoid
    • The Automatic Transmission Wiring Harness Assembly
  4. Repair the circuit, the solenoid, and the harness if necessary.

Did you find and correct a problem?

--

Go to Step 16

--

4

Command the 1-2 SS Valve ON and OFF three times while listening to the bottom of the transmission pan (a stethoscope may be necessary).

Did the solenoid click when commanded?

--

Go to Diagnostic Aids

Go to Step 5

5

  1. Turn the ignition OFF.
  2. Disconnect the transmission 20-way connector (additional DTCs will set).
  3. Install the J 39775 Jumper Harness on the engine harness connector .
  4. With the engine OFF, turn the ignition switch to the RUN position.
  5. Connect a test lamp from J 39775 Jumper Harness cavity E to ground.

Is the test lamp ON?

--

Go to Step 7

Go to Step 6

6

Repair the open or short to ground in ignition feed circuit 1020 to the 1-2 SS Valve.

Refer to Electrical Diagnosis, Section 8.

Did you find and correct a problem?

--

Go to Step 16

--

7

  1. Install a test lamp between cavity E and cavity A of the J 39775 Jumper Harness.
  2. Using the transmission output control function, command the 1-2 SS Valve ON and OFF three times.

Does the test lamp illuminate when you command the shift solenoid ON, and does the test lamp turn off when you command the shift solenoid OFF?

--

Go to Step 10

Go to Step 8

8

  1. Inspect circuit 1222 for an open or short to ground.
  2. Repair the circuit if necessary.

Refer to Electrical Diagnosis, Section 8.

Did you find a problem?

--

Go to Step 16

Go to Step 9

9

Replace the VCM.

Refer to VCM Replacement/Programming , Section 6.

Is the replacement complete?

--

Go to Step 16

--

10

  1. Install the J 39775 Jumper Harness on the transmission 20-way connector.
  2. Measure the resistance between terminal A and terminal E. (Connector End View )

Is the resistance within the specified range?

19-31ohms

Go to Step 12

Go to Step 11

11

  1. Disconnect the Automatic Transmission Wiring Harness Assembly from the 1-2 SS valve.
  2. Measure the resistance of the 1-2 SS Valve.

Is the resistance within the specified range?

19-31ohms

Go to Step 14

Go to Step 15

12

Measure the resistance between terminals A and E and ground.

Are both readings greater than the specified value?

250kohms

Go to Diagnostic Aids

Go to Step 13

13

  1. Disconnect the Automatic Transmission Wiring Harness Assembly from the 1-2 SS Valve.
  2. Measure the resistance from the component's terminals to ground.

Are both readings greater than the specified value?

250kohms

Go to Step 14

Go to Step 15

14

Replace the Automatic Transmission Wiring Harness Assembly.

Refer to On-Vehicle Service.

Is the replacement complete?

--

Go to Step 16

--

15

Replace the 1-2 SS Valve.

Refer to Valve Body, in On-Vehicle Service.

Is the replacement complete?

--

Go to Step 16

--

16

In order to verify your repair, perform the following procedure:

  1. Select DTC.
  2. Select Clear Info.
  3. Operate the vehicle and ensure the following conditions are met:
  4. • The VCM commands the 1-2 SS Valve ON and the voltage drops to zero.
    • The VCM commands the 1-2 SS Valve OFF and the voltage increases to B+.
    • All conditions are met for 5 seconds.
  5. Select Specific DTC. Enter DTC P0753.

Has the test run and passed?

--

System OK

Begin the diagnosis again. Go to Step 1.