GM Service Manual Online
For 1990-2009 cars only
Makes
🢒
Chevrolet
🢒
1998
🢒
Chevy C Pickup - 2WD
🢒
Engine
🢒
Engine Controls - 4.3L
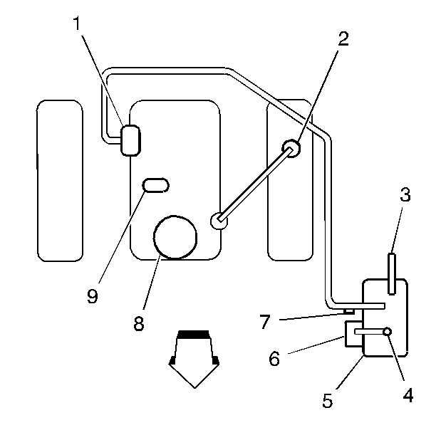
🢒 Emission Hose Routing Diagram
(1)
EVAP Canister Purge Solenoid
(2)
Positive Crankcase Ventilation Valve (PCV)
(3)
To Fuel Tank
(4)
Vent
(5)
EVAP Canister
(6)
EVAP Canister Vent Solenoid
(7)
EVAP Service Port
(8)
Throttle Body
(9)
Manifold Absolute Pressure (MAP) Sensor