GM Service Manual Online
For 1990-2009 cars only

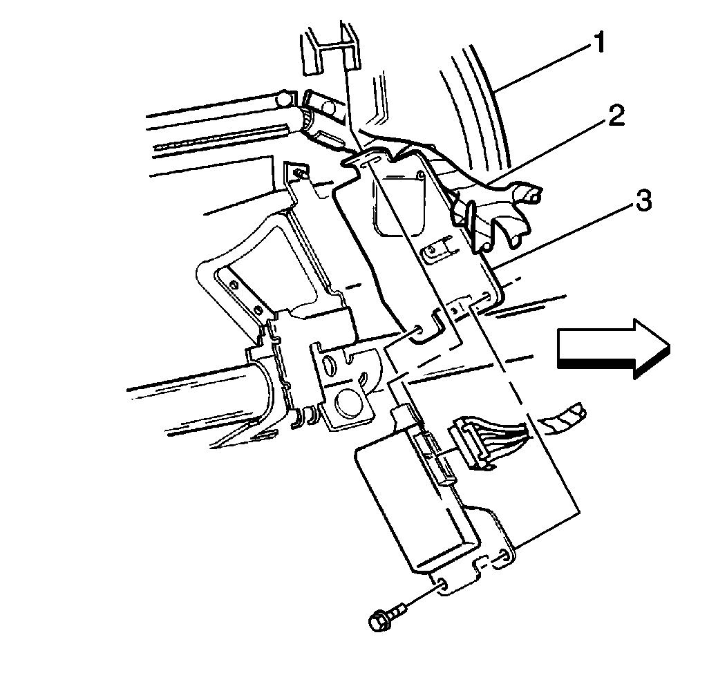
Transfer Case Shift Control Module Replacement Auto Transfer Case

Removal Procedure

  1. Remove the lower instrument panel trim.

  2. Object Number: 177176  Size: SH
  3. Remove the two screws securing the transfer case control module to the bracket.
  4. The bracket is mounted on the I/P reinforcement.

  5. Remove the electrical connector from the transfer case control module.

Installation Procedure


    Object Number: 177176  Size: SH
  1. Install the electrical connector to the transfer case control module.
  2. Notice: Use the correct fastener in the correct location. Replacement fasteners must be the correct part number for that application. Fasteners requiring replacement or fasteners requiring the use of thread locking compound or sealant are identified in the service procedure. Do not use paints, lubricants, or corrosion inhibitors on fasteners or fastener joint surfaces unless specified. These coatings affect fastener torque and joint clamping force and may damage the fastener. Use the correct tightening sequence and specifications when installing fasteners in order to avoid damage to parts and systems.

  3. Install the two screws securing the transfer case control module to the bracket.
  4. Tighten
    Tighten the transfer case control module screws to 8 N·m (71 lb ft).

  5. Install the lower instrument panel trim.