GM Service Manual Online
For 1990-2009 cars only

Parking Brake Cable Replacement Front Cable

Removal Procedure

  1. Release the parking brake.
  2. Raise the vehicle and support the vehicle with safety stands. Refer to Lifting and Jacking the Vehicle in General Information.

  3. Object Number: 156595  Size: SH
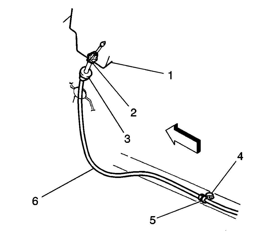
  4. Loosen the adjusting nut at the equalizer (2).

  5. Object Number: 156581  Size: SH
  6. Remove the connector (1).

  7. Object Number: 156595  Size: SH
  8. Disconnect the cable (2) from the parking brake lever (1).

  9. Object Number: 156666  Size: SH
  10. Bend in the retaining fingers at the frame bracket.

  11. Object Number: 156595  Size: SH
  12. Disconnect the front cable (2).

Installation Procedure


    Object Number: 156595  Size: SH
  1. Install the front cable (2).
  2. Connect the cable (2) to the parking brake lever (1).

  3. Object Number: 156666  Size: SH
  4. Make sure all the retaining fingers are through the hole.

  5. Object Number: 156581  Size: SH
  6. Install the connector (1).
  7. Adjust the front cable. Refer to Park Brake Cable Service/Adjustment .

Parking Brake Cable Replacement Rear Cable - 1Ton

Removal Procedure

  1. Release the parking brake.
  2. Raise the vehicle and support the vehicle with safety stands. Refer to Lifting and Jacking the Vehicle .

  3. Object Number: 157581  Size: SH
  4. Loosen the nut at the equalizer.
  5. Remove the connector.
  6. Disconnect the rear brake assembly. Refer to Brake Drum Replacement .
  7. Bend the retaining fingers at the backing plate.
  8. Disconnect the cable.

Installation Procedure


    Object Number: 157581  Size: SH
  1. Install the cable.
  2. Connect the cable end into the backing plate. Ensure all retaining fingers are completely through the backing plate.
  3. Connect the rear brake assembly. Refer to Brake Drum Replacement .
  4. Install the connector.
  5. Adjust the rear cable. Refer to Park Brake Cable Service/Adjustment .

Parking Brake Cable Replacement Parking Brake Cable

Removal Procedure

  1. Release the parking brake.
  2. Raise the vehicle and support the vehicle with safety stands. Refer to Lifting and Jacking the Vehicle in General Information.

  3. Object Number: 156668  Size: SH
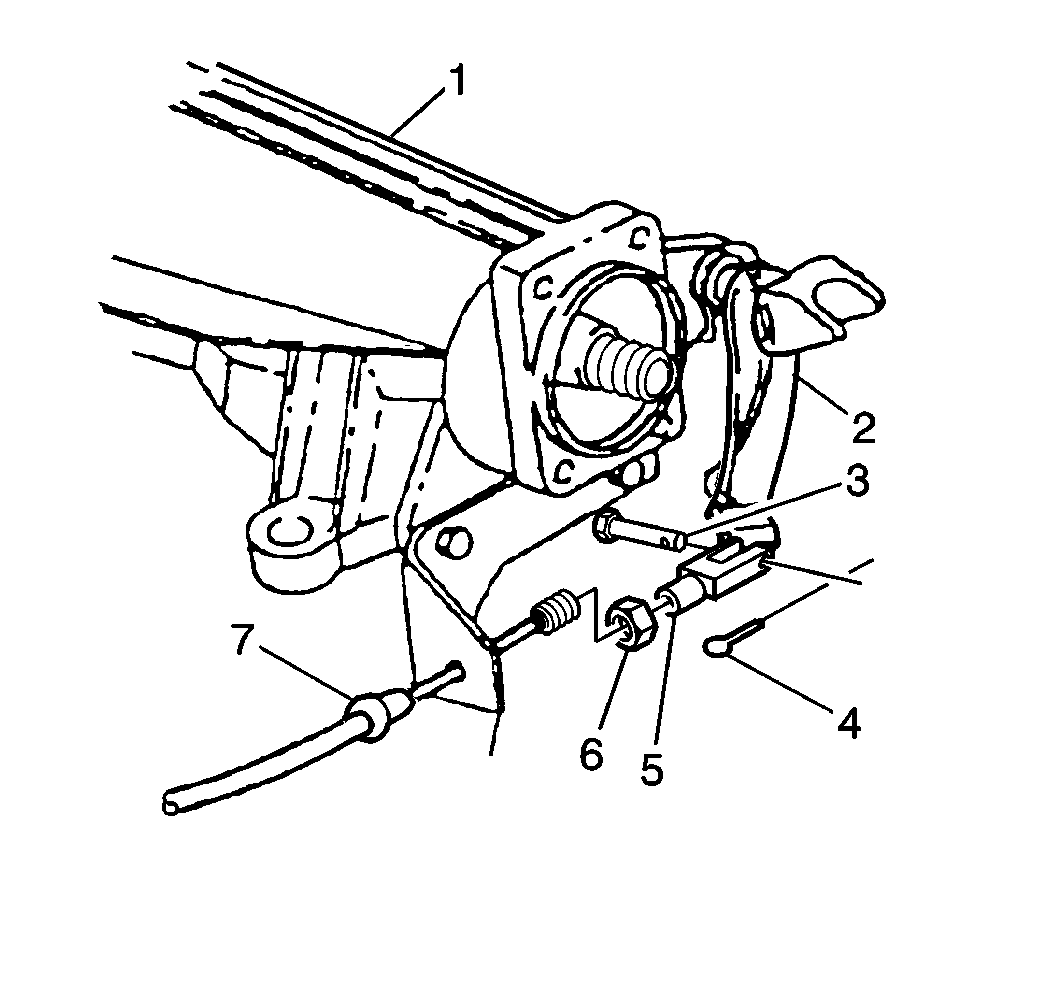
  4. Remove the cotter pin (4).
  5. Remove the clevis pin (3).
  6. Disconnect the clevis (5) from the cable.
  7. Disconnect the grommet (6) from the bracket.

  8. Object Number: 156691  Size: SH
  9. Remove the cable (4) from the clip (5).
  10. Disconnect the grommet (3) from the body (6).

  11. Object Number: 156577  Size: SH
  12. Disconnect the retaining fingers (1) from the lever.
  13. Remove the cable assembly.

Installation Procedure


    Object Number: 156691  Size: SH
  1. Install the cable assembly (4).

  2. Object Number: 156577  Size: SH
  3. Connect the retaining fingers (1) to the parking brake lever.
  4. Connect the grommet (3) to the body (6).

  5. Object Number: 156668  Size: SH
  6. Connect the grommet (6) to the bracket.

  7. Object Number: 156691  Size: SH
  8. Install the cable (4) into the clip (5).

  9. Object Number: 156668  Size: SH
  10. Connect the clevis (5) to the park brake cable. Ensure the retaining fingers are tight.
  11. Adjust the parking brake cable. Refer to Park Brake Cable Service/Adjustment .
  12. Lower the vehicle.

Parking Brake Cable Replacement Rear Cable - 1/2 and 3/4 Ton

Removal Procedure

  1. Release the parking brake.
  2. Raise the vehicle and support the vehicle with safety stands.
  3. Loosen the nut at the equalizer.

  4. Object Number: 157549  Size: SH
  5. Remove the connector.
  6. Disconnect the rear brake assembly. Refer to Brake Drum Replacement in Drum Brakes.
  7. Bend the retaining fingers at the backing plate.
  8. Disconnect the cable.

Installation Procedure


    Object Number: 157549  Size: SH
  1. Install the cable.
  2. Connect the cable end into the backing plate. Ensure all retaining fingers are completely through the backing plate.
  3. Connect the rear brake assembly. Refer to Brake Drum Replacement in Drum Brakes.
  4. Install the connector.
  5. Adjust the rear cable. Refer to Park Brake Cable Service/Adjustment .