GM Service Manual Online
For 1990-2009 cars only

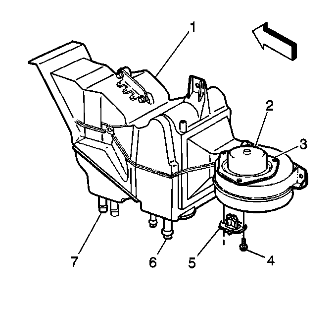
Auxiliary Blower Motor Resistor Replacement Suburban

Removal Procedure

    Caution: Unless directed otherwise, the ignition and start switch must be in the OFF or LOCK position, and all electrical loads must be OFF before servicing any electrical component. Disconnect the negative battery cable to prevent an electrical spark should a tool or equipment come in contact with an exposed electrical terminal. Failure to follow these precautions may result in personal injury and/or damage to the vehicle or its components.

  1. Disconnect the negative battery cable.
  2. Remove the right rear quarter trim panel. Refer to Rear Quarter Trim Panel Replacement in Interior Trim.

  3. Object Number: 258108  Size: SH
  4. Disconnect the electrical connectors, as necessary.
  5. Remove the screws (4) securing the blower motor resistor (5).
  6. Remove the blower motor resistor.

Installation Procedure


    Object Number: 258108  Size: SH
  1. Install the blower motor resistor (5).
  2. Notice: Use the correct fastener in the correct location. Replacement fasteners must be the correct part number for that application. Fasteners requiring replacement or fasteners requiring the use of thread locking compound or sealant are identified in the service procedure. Do not use paints, lubricants, or corrosion inhibitors on fasteners or fastener joint surfaces unless specified. These coatings affect fastener torque and joint clamping force and may damage the fastener. Use the correct tightening sequence and specifications when installing fasteners in order to avoid damage to parts and systems.

  3. Install the screws (4) in order to secure the blower motor resistor.
  4. Tighten
    Tighten the screws to 1.4 N·m (12 lb in).

  5. Connect the electrical connectors, as necessary.
  6. Install the right rear quarter trim panel. Refer to Rear Quarter Trim Panel Replacement in Interior Trim.
  7. Connect the negative battery cable.
  8. Test the circuit operation.

Auxiliary Blower Motor Resistor Replacement 4-Door Utility

Removal Procedure

    Caution: Unless directed otherwise, the ignition and start switch must be in the OFF or LOCK position, and all electrical loads must be OFF before servicing any electrical component. Disconnect the negative battery cable to prevent an electrical spark should a tool or equipment come in contact with an exposed electrical terminal. Failure to follow these precautions may result in personal injury and/or damage to the vehicle or its components.

  1. Disconnect the negative battery cable.
  2. Remove the right rear quarter trim panel. Refer to Rear Quarter Trim Panel Replacement in Interior Trim.

  3. Object Number: 258125  Size: SH
  4. Disconnect the electrical connectors, as necessary.
  5. Remove the screws securing the blower motor resistor (1).
  6. Remove the blower motor resistor.

Installation Procedure


    Object Number: 258125  Size: SH
  1. Install the blower motor resistor (1).
  2. Notice: Use the correct fastener in the correct location. Replacement fasteners must be the correct part number for that application. Fasteners requiring replacement or fasteners requiring the use of thread locking compound or sealant are identified in the service procedure. Do not use paints, lubricants, or corrosion inhibitors on fasteners or fastener joint surfaces unless specified. These coatings affect fastener torque and joint clamping force and may damage the fastener. Use the correct tightening sequence and specifications when installing fasteners in order to avoid damage to parts and systems.

  3. Install the screws in order to secure the blower motor resistor.
  4. Tighten
    Tighten the screws to 1.4 N·m (12 lb in).

  5. Connect the electrical connectors, as necessary.
  6. Install the right rear quarter trim panel. Refer to Rear Quarter Trim Panel Replacement in Interior Trim.
  7. Connect the negative battery cable.
  8. Test the circuit operation.